TOP
|
特許
|
意匠
|
商標
特許ウォッチ
Twitter
他の特許を見る
10個以上の画像は省略されています。
公開番号
2025167768
公報種別
公開特許公報(A)
公開日
2025-11-07
出願番号
2024072669
出願日
2024-04-26
発明の名称
光走査装置及び画像形成装置
出願人
株式会社リコー
代理人
個人
主分類
G02B
26/10 20060101AFI20251030BHJP(光学)
要約
【課題】良好な防塵性を得ることができる光走査装置および画像形成装置を提供する。
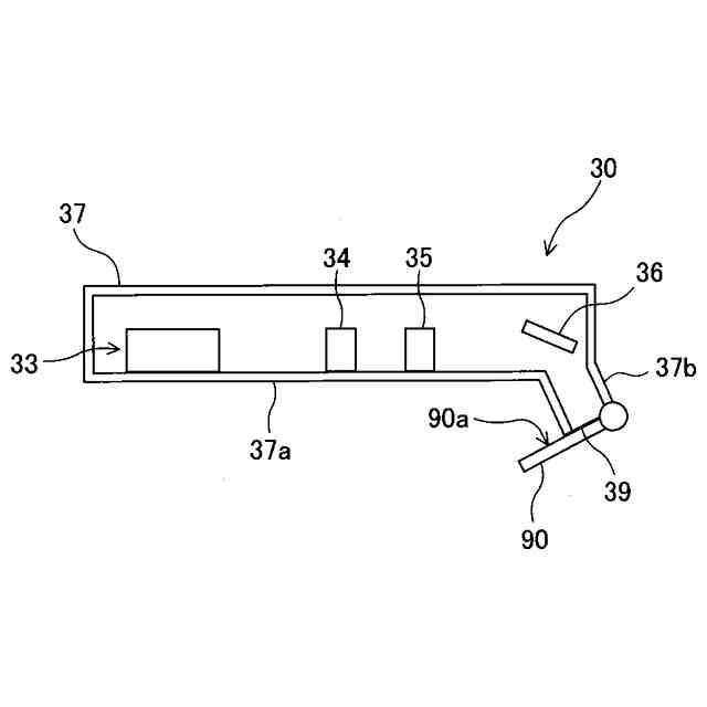
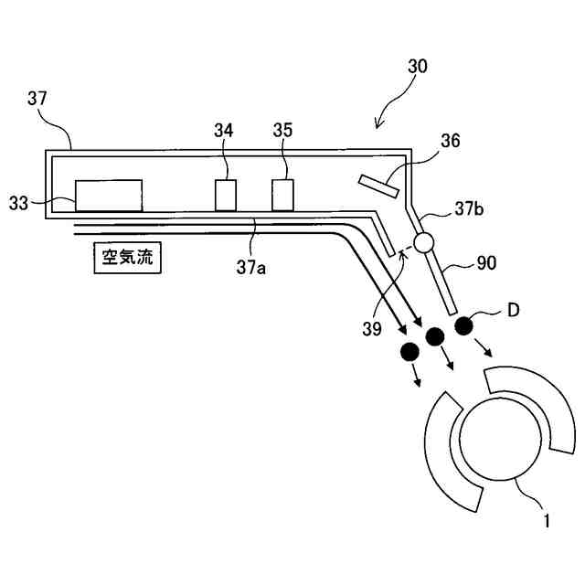
【解決手段】光源、光源からの光を偏向走査する偏向器などのポリゴンスキャナ33、光の光路上に配置された光学素子を収納するハウジング37の光を出射する出射口39を開閉する開閉部材90が設けられている。露光動作時、出射口39を開放して、感光体へ光を出射可能とするとともにハウジング内の熱を出射口39から逃がしてハウジング内の温度上昇を抑制する。この出射口39開放時は、出射口39からハウジング内への塵埃の侵入を阻止する空気流を出射口39の周囲に発生させる。
【選択図】図5
特許請求の範囲
【請求項1】
光源、前記光源からの光を偏向走査する偏向器、及び、前記光の光路上に配置された光学素子を収納し、内部を冷却するための冷却用開口部を有するハウジングと、
前記冷却用開口部を開閉する開閉部材とを備えた光走査装置において、
前記冷却用開口部が開放されているとき、前記冷却用開口部から前記ハウジング内への塵埃の侵入を阻止する空気流を前記冷却用開口部の周囲に発生させる気流発生手段を備えることを特徴とする光走査装置。
続きを表示(約 970 文字)
【請求項2】
請求項1に記載の光走査装置において、
前記開閉部材は、前記偏向器の動作時に前記冷却用開口部を開放し、前記偏向器の非動作時に前記冷却用開口部を閉じることを特徴とする光走査装置。
【請求項3】
請求項2に記載の光走査装置において、
前記ハウジングの一端側に前記偏向器を配置し、前記ハウジングの他端側に前記冷却用開口部を設けたことを特徴とする光走査装置。
【請求項4】
請求項1に記載の光走査装置において、
前記空気流により、前記開閉部材を、前記冷却用開口部を開放する開放位置に位置させることを特徴とする光走査装置。
【請求項5】
請求項4に記載の光走査装置において、
前記開閉部材は、弾性部材であることを特徴とする光走査装置。
【請求項6】
請求項1に記載の光走査装置において、
前記気流発生手段は、前記ハウジングの前記偏向器が取り付けられた壁部に沿って流れる空気流を発生させることを特徴とする光走査装置。
【請求項7】
請求項6に記載の光走査装置において、
前記ハウジングの前記偏向器が取り付けられた壁部に、前記壁部に沿って流れる空気流を、前記壁部の偏向器取り付け箇所に流れるようにガイドする気流ガイド手段を設けたことを特徴とする光走査装置。
【請求項8】
請求項6に記載の光走査装置において、
前記ハウジング内の温度を検知する温度検知手段の検知結果に基づいて、前記空気流の流量を調整することを特徴とする光走査装置。
【請求項9】
請求項1に記載の光走査装置において、
前記ハウジング内の温度を検知する温度検知手段の検知結果に基づいて、前記開閉部材を閉じるタイミングを制御する制御手段を備えることを特徴とする光走査装置。
【請求項10】
潜像担持体の表面に光走査手段を用いて光を照射することにより該潜像担持体の表面に潜像を形成し、該潜像を現像することで得た画像を最終的に記録材上に転移させることで画像を形成する画像形成装置において、
上記光走査手段として、請求項1に記載の光走査装置を用いることを特徴とする画像形成装置。
発明の詳細な説明
【技術分野】
【0001】
本発明は、光走査装置及び画像形成装置に関するものである。
続きを表示(約 1,800 文字)
【背景技術】
【0002】
従来、光源、光源からの光を偏向走査する偏向器、及び、光の光路上に配置された光学素子を収納し、内部を冷却するための冷却用開口部を有するハウジングと、冷却用開口部を開閉する開閉部材とを備えた光走査装置が知られている。
【0003】
特許文献1には、上記光走査装置として、偏向器により偏向走査された光を折り返す折り返しミラーを、ハウジングの冷却用開口部を開閉する開閉部材として用いるものが記載されている。潜像書き込み時、折り返しミラーは冷却用開口部を閉じ、非潜像書き込み時、折り返しミラーは冷却用開口部を開いて、ハウジング内の熱を冷却開口部から逃がして、ハウジング内を冷却する。
【発明の概要】
【発明が解決しようとする課題】
【0004】
しかしながら、防塵性に課題があった。
【課題を解決するための手段】
【0005】
上述した課題を解決するために、本発明は、光源、前記光源からの光を偏向走査する偏向器、及び、前記光の光路上に配置された光学素子を収納し、内部を冷却するための冷却用開口部を有するハウジングと、前記冷却用開口部を開閉する開閉部材とを備えた光走査装置において、前記冷却用開口部が開放されているとき、前記冷却用開口部の周囲に、前記冷却用開口部から前記ハウジング内への塵埃の侵入を阻止する空気流を発生させる気流発生手段を備えることを特徴とするものである。
【発明の効果】
【0006】
本発明によれば、良好な防塵性を得ることができる。
【図面の簡単な説明】
【0007】
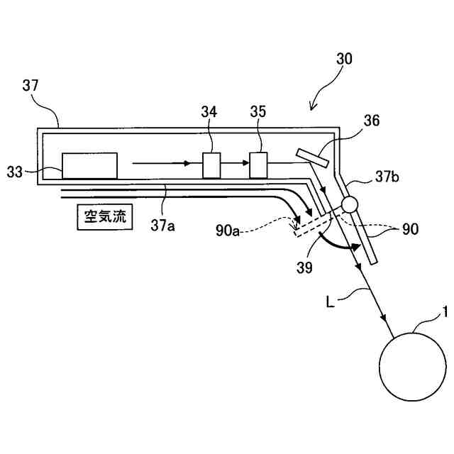
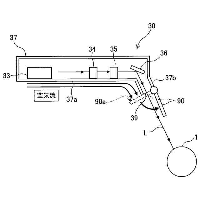
本実施形態に係る画像形成装置としての複写機の模式図。
複写機のハードウェア構成図。
露光装置の模式図。
露光装置の特徴部について説明する図。
露光時のときを示す露光装置の模式図。
空気流による出射口からハウジング内への塵埃の侵入阻止について説明する図。
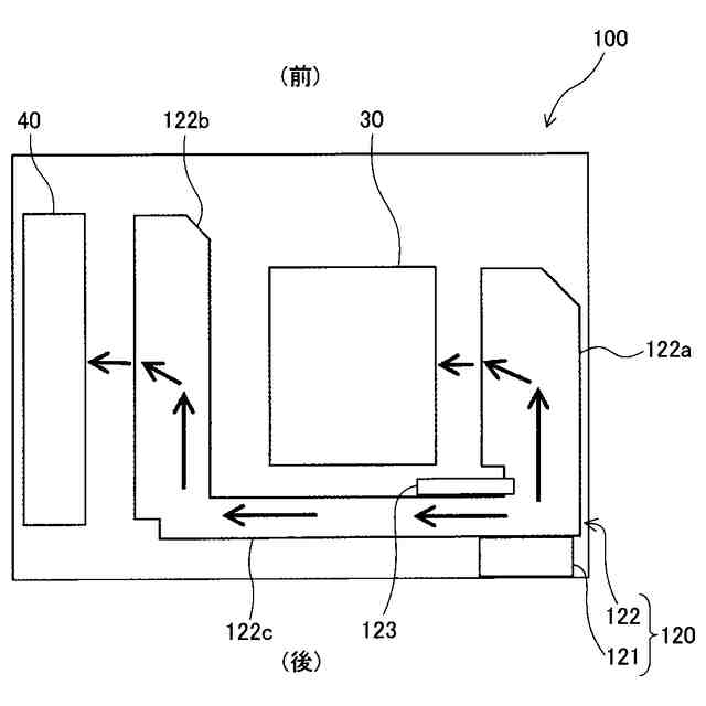
気流発生装置の概略平面図。
複写機本体の後側面を示す図。
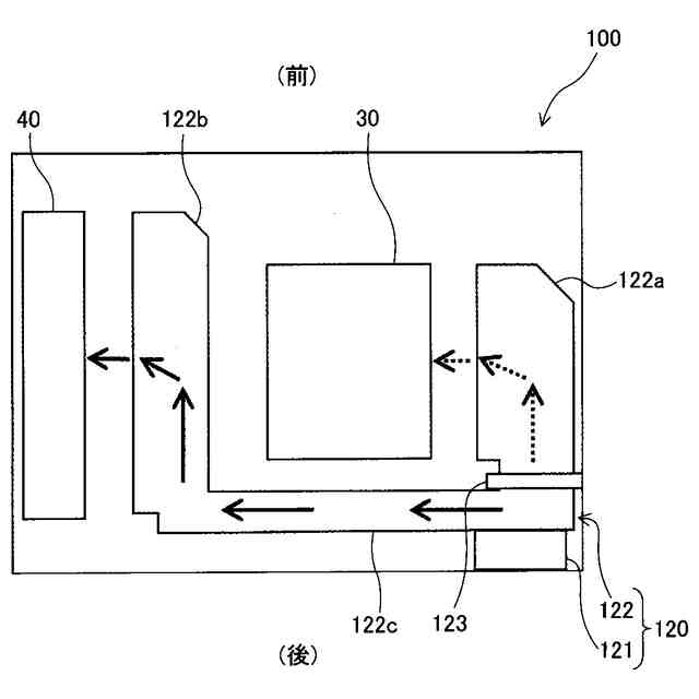
露光装置の非露光動作時の気流発生装置を示す平面図。
ハウジング内の温度を検知する温度センサを設けた露光装置の模式図。
温度センサが検知したハウジング内の温度に基づく開閉部材の開閉制御の制御フロー図。
温度センサの検知結果に基づく気流発生装置のファンの制御フロー図。
変形例1の露光装置の模式図。
図13の矢印A方向から見た拡大模式図。
変形例2の露光装置の模式図。
フルカラー画像形成装置の一例を示す模式図。
図16に示すフルカラー画像形成装置におけるY色の感光体ドラムとM色の感光体ドラムとを露光する多色用露光装置の模式図。
【発明を実施するための形態】
【0008】
以下に、本発明を実施するための最良の形態を図面に基づいて説明する。なお、いわゆる当業者は特許請求の範囲内における本発明を変更・修正をして他の実施形態をなすことは容易であり、これらの変更・修正はこの特許請求の範囲に含まれるものである。以下の説明はこの発明における最良の形態の例であって、この特許請求の範囲を限定するものではない。
【0009】
図1に、本実施形態に係る画像形成装置としての複写機の概略構成を示す模式図である。
この複写機100は、プリンタ部110を備えている。プリンタ部110は、像担持体としての感光体ドラム1、この感光体ドラム1の表面を帯電する帯電装置2、感光体ドラム1の帯電した表面に静電潜像を書き込む光走査装置たる露光装置30を備えている。また、静電潜像を現像剤で現像して感光体ドラム1上にトナー像を形成する現像装置17、感光体ドラム表面のトナー像を転写材としての転写紙Pに転写する転写装置9、分離爪6、転写紙Pに転写されたトナー像を定着させる定着装置40を備えている。さらに、転写紙Pにトナー像を転写した後の感光体ドラム表面を清掃する感光体用のクリーニング装置5などを備えている。
【0010】
プリンタ部110の上部には、原稿読取装置50が配設されている。この原稿読取装置50のコンタクトガラス52上に置かれた原稿は、図1の右方へ移動する光源53によって照明される。
(【0011】以降は省略されています)
この特許をJ-PlatPat(特許庁公式サイト)で参照する
関連特許
株式会社リコー
液体吐出装置
7日前
株式会社リコー
画像形成装置
21日前
株式会社リコー
服薬支援装置
21日前
株式会社リコー
外観検査装置
15日前
株式会社リコー
定着装置及び画像形成装置
7日前
株式会社リコー
光源装置および画像表示装置
1日前
株式会社リコー
画像形成装置及び異常判定方法
21日前
株式会社リコー
画像形成装置および画像形成方法
21日前
株式会社リコー
画像形成装置、及び画像形成方法
15日前
株式会社リコー
媒体処理装置及び画像形成システム
今日
株式会社リコー
媒体処理装置及び画像形成システム
今日
株式会社リコー
加熱装置、定着装置及び画像形成装置
15日前
株式会社リコー
後処理装置、及び、画像形成システム
8日前
株式会社リコー
外観検査方法、および外観検査システム
7日前
株式会社リコー
プリンタシステムのための自動制御システム
今日
株式会社リコー
画像形成装置、画像形成方法及びプログラム
9日前
株式会社リコー
画像形成装置、画像形成方法及びプログラム
9日前
株式会社リコー
振動検出装置、バイタルセンサ、配管検査装置
2日前
株式会社リコー
画像形成装置、画像形成方法およびプログラム
21日前
株式会社リコー
情報処理装置、情報処理方法およびプログラム
16日前
株式会社リコー
画像処理装置、画像処理方法およびプログラム
23日前
株式会社リコー
表示装置、表示方法、プログラム、表示システム
15日前
株式会社リコー
媒体処理装置、画像形成装置、画像形成システム
今日
株式会社リコー
穿孔装置、後処理装置、及び、画像形成システム
1日前
株式会社リコー
表示装置、表示方法、プログラム、表示システム
23日前
株式会社リコー
シート収容装置、シート給送装置及び画像形成装置
21日前
株式会社リコー
画像読取装置、画像形成装置、および画像読取方法
7日前
株式会社リコー
先塗液の塗布状態の異常検出方法および液体吐出装置
7日前
株式会社リコー
情報処理システム、情報処理装置、方法およびプログラム
15日前
株式会社リコー
粒子、試薬、医薬組成物、粉末吸入剤及び粒子の製造方法
8日前
株式会社リコー
画像形成装置、交換部品、情報処理方法、及びプログラム
2日前
株式会社リコー
筆記装置、表示装置、および、コミュニケーションシステム
15日前
株式会社リコー
機器システム、制御方法、情報処理装置、プログラム、機器
15日前
株式会社リコー
情報伝達システム、情報処理装置、情報伝達方法及びプログラム
今日
株式会社リコー
導電膜製造方法、焼結装置、電磁波シールド層及び電極パターン
15日前
株式会社リコー
液体吐出システム、液体吐出装置、液体吐出方法およびプログラム
15日前
続きを見る
他の特許を見る