TOP
|
特許
|
意匠
|
商標
特許ウォッチ
Twitter
他の特許を見る
公開番号
2025161043
公報種別
公開特許公報(A)
公開日
2025-10-24
出願番号
2024063902
出願日
2024-04-11
発明の名称
通信装置、通信方法、及びプログラム
出願人
株式会社リコー
代理人
個人
,
個人
主分類
G06F
13/14 20060101AFI20251017BHJP(計算;計数)
要約
【課題】通信モジュールの性能を低下させることなく通信する。
【解決手段】メインシステムと、サブシステムと、を有し、消費電力が異なる複数の動作モードを有する通信装置であって、外部機器と通信する通信モジュールと、メインシステムと通信モジュールとを接続し、メインシステムが通信モジュールを制御するための第1のバスと、サブシステムと通信モジュールとを接続し、サブシステムが通信モジュールを制御するための第2のバスと、第1のバスを介してメインシステムと通信モジュールとを通信可能に接続した状態、及び、第2のバスを介してサブシステムと通信モジュールとを通信可能に接続した状態、の2つの状態を切り替えるバス切替部と、動作モードに応じて、バス切替部による2つの状態の切り替えを制御するバス切替制御部と、を有することを特徴とする。
【選択図】図6
特許請求の範囲
【請求項1】
メインシステムと、サブシステムと、を有し、
消費電力が異なる複数の動作モードを有する通信装置であって、
外部機器と通信する通信モジュールと、
前記メインシステムと、前記通信モジュールと、を接続し、前記メインシステムが前記通信モジュールを制御するための第1のバスと、
前記サブシステムと、前記通信モジュールと、を接続し、前記サブシステムが前記通信モジュールを制御するための第2のバスと、
前記第1のバスを介して前記メインシステムと前記通信モジュールとを通信可能に接続した状態、及び、前記第2のバスを介して前記サブシステムと前記通信モジュールとを通信可能に接続した状態、の2つの状態を切り替えるバス切替部と、
前記動作モードに応じて、前記バス切替部による前記2つの状態の切り替えを制御するバス切替制御部と、を有することを特徴とする、通信装置。
続きを表示(約 1,500 文字)
【請求項2】
前記消費電力が異なる複数の動作モードには、前記メインシステムが稼働している通常モードと、前記メインシステムは停止し前記サブシステムが稼働している省電力モードとを含む、請求項1に記載の通信装置。
【請求項3】
前記メインシステムが読み出した通信の認証方式が、前記サブシステムによって実行可能な認証処理である場合、前記サブシステムのみで前記認証処理を行い、
前記認証処理の完了後に前記メインシステムが前記省電力モードに移行した後、通信の接続に関する所定のイベントが発生しても、前記サブシステムのみで前記所定のイベントの処理を行うサブ認証部を有する、請求項2に記載の通信装置。
【請求項4】
前記バス切替制御部は、前記動作モードが前記通常モードから前記省電力モードに移行する場合、前記第2のバスを介して、前記サブシステムと前記通信モジュールとを通信可能に接続する状態になるように、前記バス切替部を制御する、請求項2に記載の通信装置。
【請求項5】
前記バス切替制御部は、前記動作モードが前記省電力モードから前記通常モードに移行する場合、前記第1のバスを介して、前記メインシステムと前記通信モジュールとを通信可能に接続する状態になるように、前記バス切替部を制御する、請求項2に記載の通信装置。
【請求項6】
前記バス切替制御部は、前記サブシステムから前記動作モードを示す信号を受信し、前記信号に応じて、前記バス切替部に前記2つの状態を切り替える信号を送信する、請求項1又は2に記載の通信装置。
【請求項7】
前記通信モジュールと、前記バス切替部と、は、前記メインシステム及び前記サブシステムとは独立した構成である、請求項1又は2に記載の通信装置。
【請求項8】
メインシステムと、サブシステムと、を有し、消費電力が異なる複数の動作モードを有する通信装置が実行する通信方法であって、
前記メインシステムと、外部機器と通信する通信モジュールと、を第1のバスにより接続し、前記メインシステムに前記通信モジュールを制御させるステップと、
前記サブシステムと、前記通信モジュールと、を第2のバスにより接続し、前記サブシステムに前記通信モジュールを制御させるステップと、
前記第1のバスを介して前記メインシステムと前記通信モジュールとを通信可能に接続した状態、及び、前記第2のバスを介して前記サブシステムと前記通信モジュールとを通信可能に接続した状態、の2つの状態を切り替えるステップと、
前記動作モードに応じて、前記2つの状態の切り替えを制御するステップと、を実行させることを特徴する、通信方法。
【請求項9】
メインシステムと、サブシステムと、を有し、消費電力が異なる複数の動作モードを有する通信装置に、
前記メインシステムと、外部機器と通信する通信モジュールと、を第1のバスにより接続し、前記メインシステムに前記通信モジュールを制御させる処理と、
前記サブシステムと、前記通信モジュールと、を第2のバスにより接続し、前記サブシステムに前記通信モジュールを制御させる処理と、
前記第1のバスを介して前記メインシステムと前記通信モジュールとを通信可能に接続した状態、及び、前記第2のバスを介して前記サブシステムと前記通信モジュールとを通信可能に接続した状態、の2つの状態を切り替える処理と、
前記動作モードに応じて、前記2つの状態の切り替えを制御する処理と、を実行させるプログラム。
発明の詳細な説明
【技術分野】
【0001】
本発明は、通信装置、通信方法、及びプログラムに関する。
続きを表示(約 1,700 文字)
【背景技術】
【0002】
近年では、無線LAN(Local Area Network)通信において、メインシステムとサブシステムとが起動する通常モードと、サブシステムのみが起動する省電力モードと、を選択的に実行し、省電力モードが通常モードに比べて消費電力を抑える技術が知られている(例えば、特許文献1参照)。また、通常モード及び省電力モードに関わらず、無線LANモジュールから受信したデータフレームが無線固有のものか否かを判断して、メインシステムで処理するか、サブシステムで処理するかを振り分ける技術も知られている(例えば、特許文献2参照)。
【発明の概要】
【発明が解決しようとする課題】
【0003】
特許文献1によれば、サブシステム内に含まれる無線LANモジュールは、サブシステム内の無線LANモジュール接続バスを介して制御される。そのため、メインシステムが起動する通常モードにおける無線LAN通信の速度は、サブシステムの性能に依存してしまい、無線LAN通信の性能が低下するという問題がある。
【0004】
特許文献2によれば、情報処理能力の低いサブシステムを経由してデータフレームを振り分ける判断を行うため、無線LAN通信にパケットロスが発生し、無線LAN通信の性能が低下するという問題がある。特許文献1、2での問題点は無線LAN通信に限らず、他の無線通信や有線通信も含む通信モジュール全般においても起こり得る問題である。
【0005】
本発明の一実施形態は、上記の問題点に鑑みてなされたものであり、通信モジュールの性能を低下させることなく通信することを、目的の1つとする。
【課題を解決するための手段】
【0006】
上記の課題を解決するため、本発明の一実施形態に係る通信装置は、メインシステムと、サブシステムと、を有し、消費電力が異なる複数の動作モードを有する通信装置であって、外部機器と通信する通信モジュールと、前記メインシステムと、前記通信モジュールと、を接続し、前記メインシステムが前記通信モジュールを制御するための第1のバスと、前記サブシステムと、前記通信モジュールと、を接続し、前記サブシステムが前記通信モジュールを制御するための第2のバスと、前記第1のバスを介して前記メインシステムと前記通信モジュールとを通信可能に接続した状態、及び、前記第2のバスを介して前記サブシステムと前記通信モジュールとを通信可能に接続した状態、の2つの状態を切り替えるバス切替部と、前記動作モードに応じて、前記バス切替部による前記2つの状態の切り替えを制御するバス切替制御部と、を有することを特徴とする。
【発明の効果】
【0007】
通信モジュールの性能を低下させることなく通信することができる。
【図面の簡単な説明】
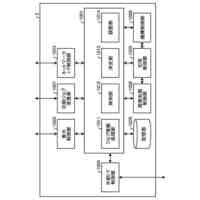
【0008】
第1及び第2の実施形態に係る通信装置100のハードウェア構成の一例を示すブロック図である。
第1及び第2の実施形態に係る通信装置100の機能構成の一例を示すブロック図である。
第1の実施形態に係るバス切替制御装置130を備えるデータ通信システムの構成を概略的に示すブロック図である。
第1の実施形態に係る通信装置100の各動作モードにおける動作を説明するシーケンス図である。
第1の実施形態に係る通信装置100の各動作モードにおけるサブシステム120のフローチャートである。
第1の実施形態に係る通信装置100のデータ通信の流れを動作モードごとに示した図である。
第2の実施形態に係る通信装置100の処理の例を示すフローチャートである。
【発明を実施するための形態】
【0009】
以下、本発明の実施形態について、図面を参照しながら詳細に説明する。
【0010】
<通信装置の構成例>
図1は、第1及び第2の実施形態に係る通信装置100のハードウェア構成の一例を示すブロック図である。
(【0011】以降は省略されています)
この特許をJ-PlatPat(特許庁公式サイト)で参照する
関連特許
株式会社リコー
移動体
16日前
株式会社リコー
画像形成装置
2日前
株式会社リコー
機器及び異常判定方法
2日前
株式会社リコー
画像形成装置及びシステム
今日
株式会社リコー
定着装置、及び画像形成装置
2日前
株式会社リコー
表示装置、切替方法、プログラム
7日前
株式会社リコー
加熱装置、定着装置及び画像形成装置
1日前
株式会社リコー
通信端末、通信方法、及びプログラム
今日
株式会社リコー
通信装置、通信方法、及びプログラム
今日
株式会社リコー
シート給送装置及び画像形成システム
3日前
株式会社リコー
光源装置、画像投影装置および調整方法
7日前
株式会社リコー
ノード、データ共有方法、及びプログラム
14日前
株式会社リコー
通信装置、状態制御方法、及びプログラム
3日前
株式会社リコー
画像形成装置、情報処理方法及びプログラム
今日
株式会社リコー
画像形成装置、及び、プロセスカートリッジ
7日前
株式会社リコー
画像形成装置、情報処理方法およびプログラム
1日前
株式会社リコー
画像読取装置、画像判定方法およびプログラム
今日
株式会社リコー
表示装置、表示方法、プログラム、表示システム
15日前
株式会社リコー
モノクロ用光走査装置及びモノクロ画像形成装置
今日
株式会社リコー
対話装置、対話システム、対話方法及びプログラム
14日前
株式会社リコー
情報処理システム、情報処理装置および情報処理方法
14日前
株式会社リコー
情報処理装置、情報処理システムおよび情報処理方法
14日前
株式会社リコー
電気機器、画像形成装置、制御方法、及びプログラム
10日前
株式会社リコー
情報処理装置、情報処理システム、情報処理方法及びプログラム
16日前
株式会社リコー
情報処理装置、情報処理システム、情報処理方法及びプログラム
14日前
株式会社リコー
情報処理装置、画面作成方法、プログラム、及び情報処理システム
1日前
株式会社リコー
情報処理装置、画面作成方法、プログラム、及び情報処理システム
10日前
株式会社リコー
手書き入力装置、手書き入力システム、手書き入力方法、プログラム
14日前
株式会社リコー
情報処理装置、情報処理方法、プログラム、および情報処理システム
14日前
株式会社リコー
表示装置、表示方法、プログラム
7日前
株式会社リコー
操作拡張ユニットと画像形成装置
21日前
株式会社リコー
画像処理装置、方法、およびプログラム
7日前
株式会社リコー
情報処理装置、通信方法、プログラム、システム
21日前
株式会社リコー
情報処理システム、情報処理方法およびプログラム
9日前
株式会社リコー
通信端末、取引システム、表示方法、及びプログラム
2日前
株式会社リコー
情報処理システム、サービス提供システム、設定方法
9日前
続きを見る
他の特許を見る