TOP
|
特許
|
意匠
|
商標
特許ウォッチ
Twitter
他の特許を見る
10個以上の画像は省略されています。
公開番号
2025160639
公報種別
公開特許公報(A)
公開日
2025-10-23
出願番号
2024063307
出願日
2024-04-10
発明の名称
加熱装置、定着装置及び画像形成装置
出願人
株式会社リコー
代理人
個人
,
個人
,
個人
主分類
G03G
15/20 20060101AFI20251016BHJP(写真;映画;光波以外の波を使用する類似技術;電子写真;ホログラフイ)
要約
【課題】回転体の長手方向両端側における温度低下の抑制と、反射部材の位置決めを課題とする。
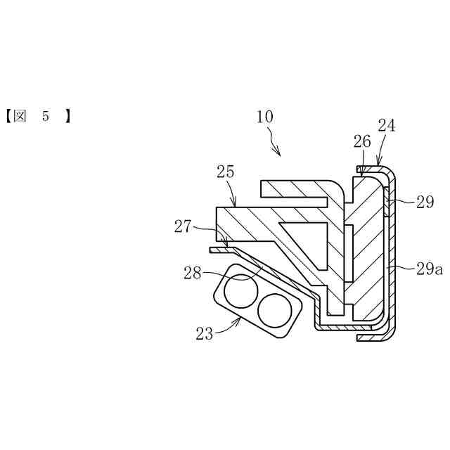
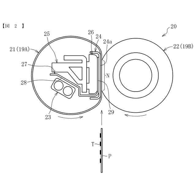
【解決手段】反射部材27は、ベース部材26とニップ形成部材24との間で加圧される伝熱29を有し、伝熱部29は、伝熱部29の長手方向中央Mよりも長手方向両端側においてニップ形成部材24に対する伝熱部29の接触面積が少なくなるように設けられる孔部29aと、孔部29aよりも長手方向中央Mに近い位置に設けられベース部材26に対して反射部材27を位置決めする位置決め部29cと、を有する。
【選択図】図4
特許請求の範囲
【請求項1】
第1の回転体と、
前記第1の回転体の外周面に対向するように配置される第2の回転体と、
前記第2の回転体との間に前記第1の回転体を挟んで前記第1の回転体と前記第2の回転体とが接触するニップ部を形成するニップ形成部材と、
前記第1の回転体の内側に配置される加熱源と、
前記第1の回転体の内側に配置される反射部材と、
前記ニップ形成部材を介して前記第2回転体の加圧力を受ける支持部材と、
前記支持部材と前記ニップ形成部材との間に介在するベース部材と、
を備える加熱装置であって、
前記反射部材は、前記加熱源と対向するように配置され前記加熱源の熱を前記第1回転体の内周面へ反射する反射部と、前記ベース部材と前記ニップ形成部材との間で加圧される伝熱部と、を有し、
前記伝熱部は、前記伝熱部の長手方向中央よりも長手方向両端側において前記ニップ形成部材に対する前記伝熱部の接触面積が少なくなるように設けられる孔部又は凹部と、前記孔部又は前記凹部よりも前記長手方向中央に近い位置に設けられ前記ベース部材に対して前記反射部材を位置決めする位置決め部と、を有することを特徴とする加熱装置。
続きを表示(約 780 文字)
【請求項2】
前記位置決め部は、前記伝熱部の長手方向中央に配置される請求項1に記載の加熱装置。
【請求項3】
前記孔部又は前記凹部は、前記伝熱部の長手方向とは交差する方向に分かれて配置され、
前記伝熱部は、前記長手方向とは交差する方向に分かれて配置される前記孔部同士の間又は前記凹部同士の間に、前記ニップ形成部材に対して接触するように配置される熱移動補助部を有する請求項1に記載の加熱装置。
【請求項4】
前記伝熱部は、前記伝熱部の長手方向に渡って複数に分割される請求項1に記載の加熱装置。
【請求項5】
前記ニップ部を通過するシートの搬送方向における前記ベース部材の上流端部及び下流端部のそれぞれに係合突起が設けられ、
前記ニップ形成部材は、前記係合突起と係合する係合孔部を有する請求項1に記載の加熱装置。
【請求項6】
前記係合突起は、前記伝熱部の前記孔部を通して前記ニップ形成部材の側へ突出するように配置される請求項5に記載の加熱装置。
【請求項7】
前記ベース部材は、前記支持部材が有する嵌合孔に挿入されて嵌合する嵌合突起を有し、
前記嵌合突起が前記嵌合孔から引き抜かれる方向へ移動した際に、前記反射部材が前記支持部材に対して接近するように移動する部分の前記支持部材との間の接近方向の間隔は、前記嵌合孔に対する前記嵌合突起の挿入長さよりも小さい請求項1に記載の加熱装置。
【請求項8】
請求項1に記載の加熱装置を用いて未定着画像を担持する記録媒体を加熱し、前記未定着画像を前記記録媒体に定着させることを特徴とする定着装置。
【請求項9】
請求項1に記載の加熱装置を備えることを特徴とする画像形成装置。
発明の詳細な説明
【技術分野】
【0001】
本発明は、加熱装置、定着装置及び画像形成装置に関する。
続きを表示(約 1,700 文字)
【背景技術】
【0002】
複写機又はプリンタなどの画像形成装置に搭載される加熱装置の一例として、画像が転写された用紙を加熱して、画像を用紙に定着させる定着装置が知られている。
【0003】
定着装置は、ローラ又はベルトなどの一対の回転体と、一対の回転体の少なくとも一方を加熱する加熱源などを有する。未定着画像を担持する用紙が、所定の温度に加熱された回転体同士の間(ニップ部)に進入すると、用紙が一対の回転体によって加熱及び加圧され、用紙に画像が定着される。
【0004】
また、定着装置においては、加熱源による回転体の加熱効率を良くするため、加熱源から放射される熱を、反射部材を用いて回転体へ反射するように構成されているものがある。反射部材は、一般的に、アルミニウムなど、熱を効果的に反射する材料により構成される。しかしながら、反射部材は、加熱源から放射された熱の一部を吸収するため、次第に温度上昇する。特に、多くの用紙を連続して定着処理する場合は、反射部材が長い間、加熱源の熱に曝されるため、反射部材が過剰に温度上昇する場合がある。そして、反射部材が過剰に温度上昇した場合は、反射部材の表面が変色するなどして、反射機能が低下する虞がある。
【0005】
斯かる問題に対して、特許文献1(特開2023-106335号公報)においては、反射部材の熱を、熱伝導性の高いニップ形成部材(均熱部材)を介して回転体(定着ベルト)へ移動させ、反射部材の温度上昇を抑制する構成が提案されている。
【0006】
しかしながら、特許文献1のように、熱伝導性の高いニップ形成部材を介して反射部材と回転体とが接触する構成においては、反対に回転体の熱がニップ形成部材を介して反射部材へ移動することがある。その場合、回転体の熱が奪われて、回転体が温度低下することになる。特に、回転体の長手方向両端側おいては、長手方向中央に比べて放熱されやすいこともあり、温度低下が顕著となる傾向にある。
【0007】
また、反射部材を備える構成においては、反射部材が温度上昇により熱膨張すると、反射部材が周辺部材に対して干渉する虞がある。このことから、反射部材が周辺部材に対して干渉しないように、反射部材を位置決めしておきたいという要望がある。
【発明の概要】
【発明が解決しようとする課題】
【0008】
そこで、本発明においては、回転体の長手方向両端側における温度低下の抑制と、反射部材の位置決めを課題とする。
【課題を解決するための手段】
【0009】
上記課題を解決するため、本発明は、第1の回転体と、前記第1の回転体の外周面に対向するように配置される第2の回転体と、前記第2の回転体との間に前記第1の回転体を挟んで前記第1の回転体と前記第2の回転体とが接触するニップ部を形成するニップ形成部材と、前記第1の回転体の内側に配置される加熱源と、前記第1の回転体の内側に配置される反射部材と、前記ニップ形成部材を介して前記第2回転体の加圧力を受ける支持部材と、前記支持部材と前記ニップ形成部材との間に介在するベース部材と、を備える加熱装置であって、前記反射部材は、前記加熱源と対向するように配置され前記加熱源の熱を前記第1回転体の内周面へ反射する反射部と、前記ベース部材と前記ニップ形成部材との間で加圧される伝熱部と、を有し、前記伝熱部は、前記伝熱部の長手方向中央よりも長手方向両端側において前記ニップ形成部材に対する前記伝熱部の接触面積が少なくなるように設けられる孔部又は凹部と、前記孔部又は前記凹部よりも前記長手方向中央に近い位置に設けられ前記ベース部材に対して前記反射部材を位置決めする位置決め部と、を有することを特徴とする。
【発明の効果】
【0010】
本発明によれば、回転体の長手方向両端側における温度低下を抑制できると共に、反射部材を位置決めすることができる。
【図面の簡単な説明】
(【0011】以降は省略されています)
この特許をJ-PlatPat(特許庁公式サイト)で参照する
関連特許
株式会社リコー
移動体
1か月前
株式会社リコー
画像形成装置
16日前
株式会社リコー
服薬支援装置
1日前
株式会社リコー
画像形成装置
1日前
株式会社リコー
画像形成装置
19日前
株式会社リコー
画像形成装置
10日前
株式会社リコー
画像形成装置
24日前
株式会社リコー
画像形成装置
16日前
株式会社リコー
画像形成システム
1か月前
株式会社リコー
機器及び異常判定方法
24日前
株式会社リコー
画像形成装置、及び、機器
9日前
株式会社リコー
画像形成装置及びシステム
22日前
株式会社リコー
延長トレイ及び画像形成装置
19日前
株式会社リコー
光走査装置及び画像形成装置
8日前
株式会社リコー
定着装置、及び画像形成装置
24日前
株式会社リコー
印刷装置および印刷システム
1か月前
株式会社リコー
液体吐出装置及び液体吐出方法
1か月前
株式会社リコー
画像読取装置及び画像読取方法
18日前
株式会社リコー
画像形成装置及び異常判定方法
1日前
株式会社リコー
シート供給装置、画像形成装置
8日前
株式会社リコー
表示装置、切替方法、プログラム
29日前
株式会社リコー
画像形成装置および画像形成方法
1日前
株式会社リコー
加熱装置、定着装置、画像形成装置
11日前
株式会社リコー
樹脂粒子、及び樹脂粒子の製造方法
16日前
株式会社リコー
媒体処理装置及び画像形成システム
19日前
株式会社リコー
媒体処理装置及び画像形成システム
1か月前
株式会社リコー
加熱搬送装置、及び、画像形成装置
9日前
株式会社リコー
通信装置、通信方法、及びプログラム
22日前
株式会社リコー
加熱装置、定着装置及び画像形成装置
23日前
株式会社リコー
読取装置、読取方法およびプログラム
19日前
株式会社リコー
シート給送装置及び画像形成システム
25日前
株式会社リコー
シート給紙装置、および画像形成装置
1か月前
株式会社リコー
通信端末、通信方法、及びプログラム
22日前
株式会社リコー
光源装置、画像投影装置および調整方法
29日前
株式会社リコー
樹脂粒子、トナー、及び、画像形成装置
8日前
株式会社リコー
ノード、データ共有方法、及びプログラム
1か月前
続きを見る
他の特許を見る