TOP
|
特許
|
意匠
|
商標
特許ウォッチ
Twitter
他の特許を見る
公開番号
2025166365
公報種別
公開特許公報(A)
公開日
2025-11-06
出願番号
2024070340
出願日
2024-04-24
発明の名称
画像形成装置、及び、機器
出願人
株式会社リコー
代理人
個人
主分類
G03G
21/18 20060101AFI20251029BHJP(写真;映画;光波以外の波を使用する類似技術;電子写真;ホログラフイ)
要約
【課題】挿入方向に長い着脱ユニットが着脱可能に設置される場合であっても、大型化しにくくする。
【解決手段】コネクタ80を保持する保持板70(保持部材)は、画像形成装置本体100に対してプロセスカートリッジ6(着脱ユニット)が挿入される動作に連動して、プロセスカートリッジ6に押動されてコネクタ80とともにIDチップ60(情報記憶媒体)に接触することなく基準位置から退避位置に向けて回動する。そして、保持板70は、その後に、画像形成装置本体100に対してプロセスカートリッジ6が位置決めされる動作に連動して、プロセスカートリッジ6による押動が解除されて退避位置からコネクタ80がIDチップ60に接触する接触位置に向けて回動する。
【選択図】図6
特許請求の範囲
【請求項1】
情報記憶媒体が設置されて、画像形成装置本体に対して着脱可能に設置される着脱ユニットと、
前記画像形成装置本体に設置されて、前記情報記憶媒体が接続されるコネクタと、
前記コネクタを保持するとともに、支軸を中心に前記コネクタとともに回動可能に前記画像形成装置本体に設置された保持部材と、
を備え、
前記保持部材は、
前記画像形成装置本体に対して前記着脱ユニットが挿入される動作に連動して、前記着脱ユニットに押動されて前記コネクタとともに前記情報記憶媒体に接触することなく基準位置から退避位置に向けて回動して、
その後に、前記画像形成装置本体に対して前記着脱ユニットが位置決めされる動作に連動して、前記着脱ユニットによる押動が解除されて前記退避位置から前記コネクタが前記情報記憶媒体に接触する接触位置に向けて回動することを特徴とする画像形成装置。
続きを表示(約 1,400 文字)
【請求項2】
前記保持部材は、
前記着脱ユニットの嵌合部に嵌合可能な被嵌合部を具備して、
前記画像形成装置本体に対して前記着脱ユニットが位置決めされる動作に連動して、前記被嵌合部が前記嵌合部に嵌合することを特徴とする請求項1に記載の画像形成装置。
【請求項3】
前記着脱ユニットは、前記画像形成装置本体の突当て部に突き当たるまで前記画像形成装置本体に対して斜め下方に挿入された後に、前記突当て部を中心にして下方に向けて回動されて前記画像形成装置本体に対して位置決めされることを特徴とする請求項1又は請求項2に記載の画像形成装置。
【請求項4】
前記コネクタは、前記情報記憶媒体の複数の媒体側端子にそれぞれ接続される複数のコネクタ端子が、前記画像形成装置本体に対して前記着脱ユニットが挿入される方向に沿って並設されたことを特徴とする請求項1又は請求項2に記載の画像形成装置。
【請求項5】
前記画像形成装置本体は、前記画像形成装置本体に対して前記着脱ユニットが挿入される挿入方向の手前側に、前記挿入方向にみて前記コネクタを覆う保護部材が前記支軸を中心に回動可能に設置され、
前記保護部材は、
前記画像形成装置本体に対して前記着脱ユニットが挿入される動作に連動して、前記保持部材に押動されて前記情報記憶媒体に接触することなく前記基準位置から前記退避位置に向けて回動して、
その後に、前記画像形成装置本体に対して前記着脱ユニットが位置決めされる動作には連動することなく、前記保持部材の押動が解除されても前記退避位置に留まることを特徴とする請求項1又は請求項2に記載の画像形成装置。
【請求項6】
前記保持部材は、
前記画像形成装置本体に対して前記着脱ユニットが位置決め解除される動作に連動して、前記着脱ユニットによって押動されて前記接触位置から前記退避位置に向けて回動して、
その後に、前記画像形成装置本体に対して前記着脱ユニットが引き出される動作に連動して、前記着脱ユニットによる押動が解除されて前記退避位置から前記基準位置に回動することを特徴とする請求項1又は請求項2に記載の画像形成装置。
【請求項7】
前記着脱ユニットは、プロセスカートリッジ、現像装置、現像剤容器のうちいずれかであって、
前記情報記憶媒体は、IDチップであることを特徴とする請求項1又は請求項2に記載の画像形成装置。
【請求項8】
情報記憶媒体が設置されて、機器本体に対して着脱可能に設置される着脱ユニットと、
前記機器本体に設置されて、前記情報記憶媒体が接続されるコネクタと、
前記コネクタを保持するとともに、支軸を中心に前記コネクタとともに回動可能に前記機器本体に設置された保持部材と、
を備え、
前記保持部材は、
前記機器本体に対して前記着脱ユニットが挿入される動作に連動して、前記着脱ユニットに押動されて前記コネクタとともに前記情報記憶媒体に接触することなく基準位置から退避位置に向けて回動して、
その後に、前記機器本体に対して前記着脱ユニットが位置決めされる動作に連動して、前記着脱ユニットによる押動が解除されて前記退避位置から前記コネクタが前記情報記憶媒体に接触する接触位置に向けて回動することを特徴とする機器。
発明の詳細な説明
【技術分野】
【0001】
この発明は、プロセスカートリッジなどの着脱ユニットが着脱可能に設置される画像形成装置と、着脱ユニットが着脱可能に設置される機器と、に関するものである。
続きを表示(約 2,000 文字)
【背景技術】
【0002】
従来から、複写機、プリンタ等の画像形成装置(機器)において、プロセスカートリッジや現像剤容器(トナーカートリッジ)などの着脱ユニットが着脱可能(交換可能)に設置されたものが広く知られている(例えば、特許文献1参照。)。
そして、そのような画像形成装置(機器)において、着脱ユニットに設置されたIDチップなど情報記憶媒体に記憶された種々の情報が、画像形成装置本体に設置された読取装置で読み取られて、その情報が画像形成動作に生かされる技術も広く知られている。
【0003】
一方、特許文献1には、画像形成装置本体に対してトナーカートリッジが上方からセットされる動作に連動して、トナーカートリッジに押動されて、画像形成装置本体において本体側端子が設置されて退避位置にあった係止部材が回転軸を中心に回転して、トナーカートリッジのカートリッジ側端子に接続される技術が開示されている。
【発明の概要】
【発明が解決しようとする課題】
【0004】
特許文献1の技術は、着脱ユニット(トナーカートリッジ)に設置された情報記憶媒体(カートリッジ側端子)が挿入方向(セット方向)の手前側に位置するほど、コネクタ(本体側端子)が設置された保持部材(係止部材)を挿入方向に長く形成しなければならず、画像形成装置(機器)が大型化してしまう可能性があった。
【0005】
この発明は、上述のような課題を解決するためになされたもので、挿入方向に長い着脱ユニットが着脱可能に設置される場合であっても、大型化しにくい、画像形成装置、及び、機器を提供することにある。
【課題を解決するための手段】
【0006】
この発明における画像形成装置は、情報記憶媒体が設置されて、画像形成装置本体に対して着脱可能に設置される着脱ユニットと、前記画像形成装置本体に設置されて、前記情報記憶媒体が接続されるコネクタと、前記コネクタを保持するとともに、支軸を中心に前記コネクタとともに回動可能に前記画像形成装置本体に設置された保持部材と、を備え、前記保持部材は、前記画像形成装置本体に対して前記着脱ユニットが挿入される動作に連動して、前記着脱ユニットに押動されて前記コネクタとともに前記情報記憶媒体に接触することなく基準位置から退避位置に向けて回動して、その後に、前記画像形成装置本体に対して前記着脱ユニットが位置決めされる動作に連動して、前記着脱ユニットによる押動が解除されて前記退避位置から前記コネクタが前記情報記憶媒体に接触する接触位置に向けて回動するものである。
【発明の効果】
【0007】
本発明によれば、挿入方向に長い着脱ユニットが着脱可能に設置される場合であっても、大型化しにくい、画像形成装置、及び、機器を提供することができる。
【図面の簡単な説明】
【0008】
この発明の実施の形態における画像形成装置を示す全体構成図である。
プロセスカートリッジを示す構成図である。
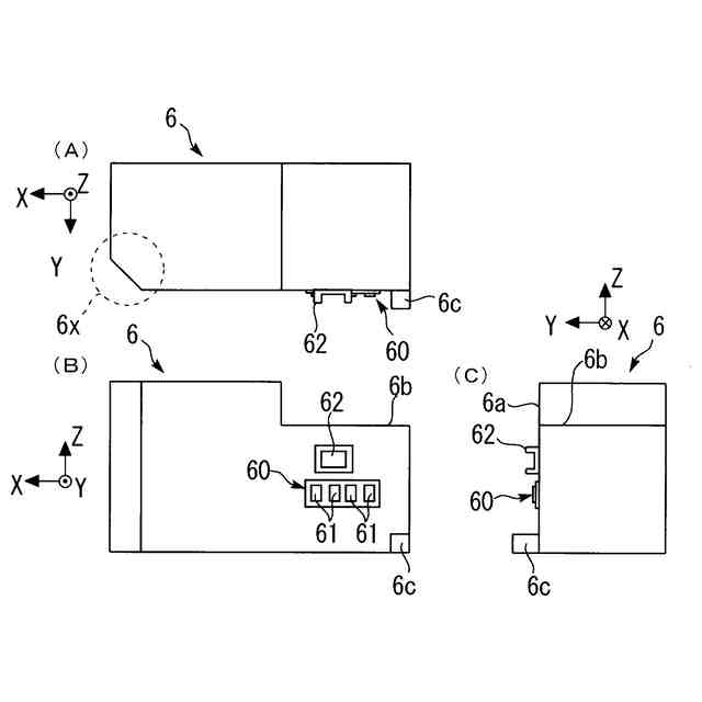
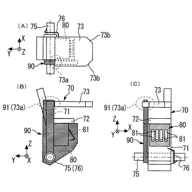
情報記憶媒体が設置されたプロセスカートリッジを3方向から概略図である。
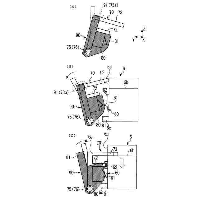
画像形成装置本体に設置されたコネクタを3方向から示す図である。
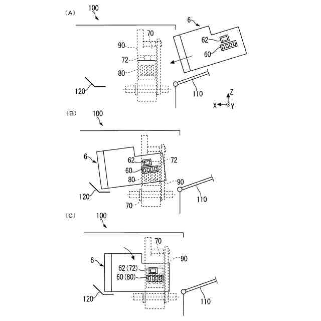
画像形成装置本体にプロセスカートリッジが装着される動作を示す概略図である。
図5のプロセスカートリッジの動作に連動するコネクタの動作を示す概略図である。
【発明を実施するための形態】
【0009】
以下、この発明を実施するための形態について、図面を参照して詳細に説明する。なお、各図中、同一又は相当する部分には同一の符号を付しており、その重複説明は適宜に簡略化ないし省略する。
【0010】
まず、図1にて、機器としての画像形成装置100における全体の構成・動作について説明する。
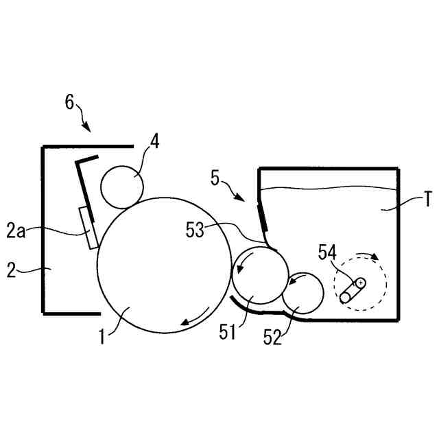
図1において、100は画像形成装置としてのプリンタ、1は表面にトナー像が形成される感光体ドラム、6は感光体ドラム1と帯電ローラ4と現像装置5とクリーニング装置2とが一体化された着脱ユニットとしてのプロセスカートリッジ、7はパソコンなどの入力装置から入力された画像情報に基づいた露光光Lを感光体ドラム1上に照射する露光部(書込み部)、を示す。
また、9は感光体ドラム1の表面に担持されたトナー像を転写ニップ部(転写位置)に搬送されるシートPに転写する転写ローラ、12は用紙等のシートPが収納された給紙装置(給紙カセット)、を示す。
また、16は感光体ドラム1と転写ローラ9とが当接する転写ニップ部に向けてシートPを搬送するレジストローラ(タイミングローラ)、20はシートP上の未定着画像を定着する定着装置、を示す。
(【0011】以降は省略されています)
この特許をJ-PlatPat(特許庁公式サイト)で参照する
関連特許
株式会社リコー
画像形成装置
1か月前
株式会社リコー
外観検査装置
10日前
株式会社リコー
画像形成装置
1か月前
株式会社リコー
画像形成装置
1か月前
株式会社リコー
画像形成装置
1か月前
株式会社リコー
液体吐出装置
2日前
株式会社リコー
画像形成装置
25日前
株式会社リコー
画像形成装置
16日前
株式会社リコー
服薬支援装置
16日前
株式会社リコー
画像形成装置及びシステム
1か月前
株式会社リコー
画像形成装置、及び、機器
24日前
株式会社リコー
定着装置及び画像形成装置
2日前
株式会社リコー
延長トレイ及び画像形成装置
1か月前
株式会社リコー
光走査装置及び画像形成装置
23日前
株式会社リコー
画像読取装置及び画像読取方法
1か月前
株式会社リコー
シート供給装置、画像形成装置
23日前
株式会社リコー
画像形成装置及び異常判定方法
16日前
株式会社リコー
画像形成装置および画像形成方法
16日前
株式会社リコー
画像形成装置、及び画像形成方法
10日前
株式会社リコー
加熱装置、定着装置、画像形成装置
26日前
株式会社リコー
樹脂粒子、及び樹脂粒子の製造方法
1か月前
株式会社リコー
加熱搬送装置、及び、画像形成装置
24日前
株式会社リコー
媒体処理装置及び画像形成システム
1か月前
株式会社リコー
読取装置、読取方法およびプログラム
1か月前
株式会社リコー
通信装置、通信方法、及びプログラム
1か月前
株式会社リコー
通信端末、通信方法、及びプログラム
1か月前
株式会社リコー
加熱装置、定着装置及び画像形成装置
1か月前
株式会社リコー
後処理装置、及び、画像形成システム
3日前
株式会社リコー
加熱装置、定着装置及び画像形成装置
10日前
株式会社リコー
外観検査方法、および外観検査システム
2日前
株式会社リコー
樹脂粒子、トナー、及び、画像形成装置
23日前
株式会社リコー
画像形成装置、情報処理方法及びプログラム
1か月前
株式会社リコー
画像形成装置、画像形成方法及びプログラム
4日前
株式会社リコー
画像形成装置、画像形成方法及びプログラム
4日前
株式会社リコー
画像形成装置、画像形成方法およびプログラム
16日前
株式会社リコー
画像処理装置、画像処理方法およびプログラム
18日前
続きを見る
他の特許を見る