TOP
|
特許
|
意匠
|
商標
特許ウォッチ
Twitter
他の特許を見る
10個以上の画像は省略されています。
公開番号
2025169728
公報種別
公開特許公報(A)
公開日
2025-11-14
出願番号
2024074748
出願日
2024-05-02
発明の名称
画像形成装置
出願人
株式会社リコー
代理人
個人
主分類
G03G
15/16 20060101AFI20251107BHJP(写真;映画;光波以外の波を使用する類似技術;電子写真;ホログラフイ)
要約
【課題】スライド部材をスライドさせるために必要な力を低減することができる画像形成装置を提供する。
【解決手段】ニップ形成部材たる一次転写ローラ11(b~d)を保持する保持部材52(b~d)を押圧して、転写体たる中間転写ベルトを像担持体たる感光体に当接させるニップ形成位置に一次転写ローラを位置させる加圧バネ70(b~d)の保持部材52(b~d)に対する付勢方向とは反対方向のスライド部材81のスライドで、一次転写ローラ11(b~d)をニップ形成位置から退避した退避位置へ移動させて中間転写ベルトを感光体から離間させる離間機構たるベルト接離機構を有している。加圧バネ70(b~d)の一端を、スライド部材81のバネ受け部85(b~d)に係合させた。
【選択図】図13
特許請求の範囲
【請求項1】
像担持体から画像が転写される転写体を前記像担持体に当接させて転写ニップを形成するニップ形成部材と、
前記ニップ形成部材を保持する保持部材を押圧して、前記転写体を前記像担持体に当接させるニップ形成位置に前記ニップ形成部材を位置させる加圧バネと、
前記加圧バネの前記保持部材に対する付勢方向とは反対方向のスライド部材のスライドで、前記ニップ形成部材を前記ニップ形成位置から退避した退避位置へ移動させて前記転写体を前記像担持体から離間させる離間機構とを備えた画像形成装置において、
前記加圧バネの前記保持部材を付勢する付勢側端部とは反対側の端部を前記スライド部材に係合させたことを特徴とする画像形成装置。
続きを表示(約 1,000 文字)
【請求項2】
請求項1に記載の画像形成装置において、
前記保持部材は、回動自在に支持されており、
前記離間機構は、前記加圧バネの付勢力で前記保持部材を押圧する第一押圧部と、前記スライド部材とともに移動し、前記保持部材を前記反対方向に押圧する第二押圧部とを有する押圧中継部材を備えることを特徴とする画像形成装置。
【請求項3】
請求項2に記載の画像形成装置において、
前記スライド部材が前記押圧中継部材に当接して前記押圧中継部材が前記スライド部材とともに移動を開始するまでの前記スライド部材のスライド量が、前記ニップ形成部材の前記ニップ形成位置から前記退避位置への移動量よりも少ないことを特徴とする画像形成装置。
【請求項4】
請求項1に記載の画像形成装置において、
前記保持部材を、前記像担持体を保持する像担持体保持部材、または、前記像担持体を装置本体内で位置決めする感光体位置決め部材に突き当て、前記ニップ形成部材を前記ニップ形成位置で位置決めすることを特徴とする画像形成装置。
【請求項5】
請求項1に記載の画像形成装置において、
前記像担持体と前記ニップ形成部材とを複数を有し、
前記離間機構は、前記スライド部材のスライドで、複数のニップ形成部材を移動させることを特徴とする画像形成装置。
【請求項6】
請求項5に記載の画像形成装置において、
複数のニップ形成部材よりも転写体移動方向の上流側に配置され、前記転写体移動方向の最上流の転写ニップを狙いの状態にするためのバックアップローラを有し、
前記バックアップローラは、前記転写体移動方向の最上流に配置されたニップ形成部材を保持する保持部材に保持されていることを特徴とする画像形成装置。
【請求項7】
請求項1に記載の画像形成装置において、
前記転写体は、中間転写体であり、
前記ニップ形成部材は、前記像担持体から前記中間転写体へ前記画像を一次転写する一次転写部材であることを特徴とする画像形成装置。
【請求項8】
請求項1に記載の画像形成装置において、
前記転写体は、ベルト部材であり、
前記転写体を支持する回転部材を傾斜させることでベルト寄りを補正するベルト寄り補正機構を備えることを特徴する画像形成装置。
発明の詳細な説明
【技術分野】
【0001】
本発明は、画像形成装置に関するものである。
続きを表示(約 2,400 文字)
【背景技術】
【0002】
従来、像担持体から画像が転写される転写体を像担持体に当接させて転写ニップを形成するニップ形成部材と、ニップ形成部材を保持する保持部材を付勢して、転写体を像担持体に当接させるニップ形成位置にニップ形成部材を位置させる加圧バネと、加圧バネの保持部材に対する付勢方向とは反対方向のスライド部材のスライドで、ニップ形成部材をニップ形成位置から退避した退避位置へ移動させて転写体を像担持体から離間させる離間機構とを備えた画像形成装置が知られている。
【0003】
特許文献1には、上記画像形成装置として、ニップ形成部材たる一次転写ローラを保持する保持部材が、画像形成装置のフレーム部材に回動自在に支持され、加圧バネは、一端がフレーム部材に受けられ、他端が保持部材に受けられたものが記載されている。スライド部材には、スライド部材を上記反対方向にスライドさせたとき保持部材を上記反対方向に押し込む突起部が設けられている。この突起部で保持部材を上記反対方向に押し込むことで、ニップ形成位置から退避位置へ一次転写ローラが移動するように保持部材を回動させる。
【発明の概要】
【発明が解決しようとする課題】
【0004】
上記特許文献1では、スライド部材を移動させて、保持部材を回動させたとき、付勢力が増大する方向に加圧バネの長さが変化し、スライド部材をスライドさせるために大きな力が必要となるという課題があった。
【課題を解決するための手段】
【0005】
上述した課題を解決するために、本発明は、像担持体から画像が転写される転写体を前記像担持体に当接させて転写ニップを形成するニップ形成部材と、前記ニップ形成部材を保持する保持部材を押圧して、前記転写体を前記像担持体に当接させるニップ形成位置に前記ニップ形成部材を位置させる加圧バネと、前記加圧バネの前記保持部材に対する付勢方向とは反対方向のスライド部材のスライドで、前記ニップ形成部材を前記ニップ形成位置から退避した退避位置へ移動させて前記転写体を前記像担持体から離間させる離間機構とを備えた画像形成装置において、前記加圧バネの前記保持部材を付勢する付勢側端部とは反対側の端部を前記スライド部材に係合させたことを特徴とするものである。
【発明の効果】
【0006】
本発明によれば、スライド部材をスライドさせるために必要な力を低減することができる。
【図面の簡単な説明】
【0007】
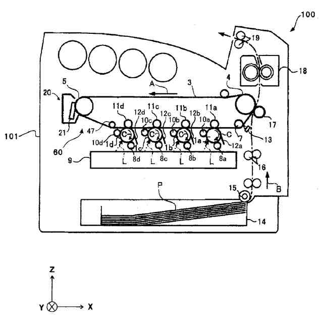
実施形態に係るプリンタを示す概略構成図。
プリンタのハードウェア構成図。
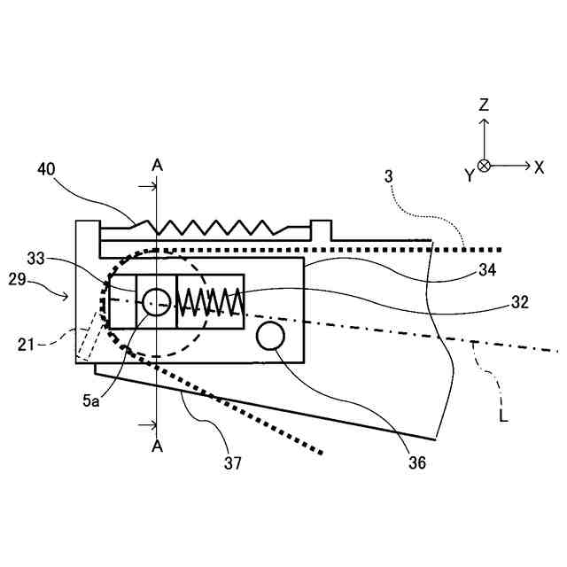
組み付け直後における中間転写ユニットのベルト寄り補正機構の構成を、テンションローラの軸方向から見たときの模式図。
ベルト寄りが生じた状態のベルト寄り補正機構を、テンションローラ5の軸方向から見たときの模式図。
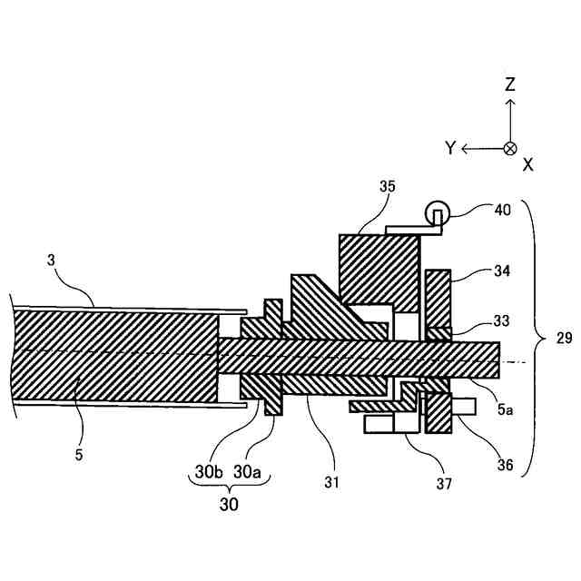
図3おけるA-A断面図。
図4におけるA-A断面図。
感光体を装置の左右方向から見た模式図。
装置手前側の感光体の位置決めについて説明する図。
感光体の装置本体の位置決めについて説明する模式図。
(a)は、フルカラーモード時のときの中間転写ベルトの接離について説明する図であり、(b)はブラック単色モードのときの中間転写ベルトの接離について説明する図。
プリンタの装置手前側に配置された保持部材の位置決め凸部による一次転写ローラの装置手前側の位置決めについて説明する図。
プリンタの装置奥側に配置された保持部材の位置決め凸部による一次転写ローラの装置奥側の位置決めについて説明する図。
フルカラーモードのときのベルト接離機構の模式図
ブラック単色モードのときのベルト接離機構の模式図。
テンションローラの傾きによる中間転写ベルトバックアップローラへの巻き付き角度の変動について説明する図。
ベルト接離機構の変形例を示す
【発明を実施するための形態】
【0008】
以下に、本発明を実施するための最良の形態を図面に基づいて説明する。なお、いわゆる当業者は特許請求の範囲内における本発明を変更・修正をして他の実施形態をなすことは容易であり、これらの変更・修正はこの特許請求の範囲に含まれるものである。以下の説明はこの発明における最良の形態の例であって、この特許請求の範囲を限定するものではない。
【0009】
以下、本発明を適用した画像形成装置の一例として、電子写真方式のカラープリンタ(以下、単にプリンタ100という)の実施形態について説明する。
まず、プリンタ100の基本的な構成について説明する。
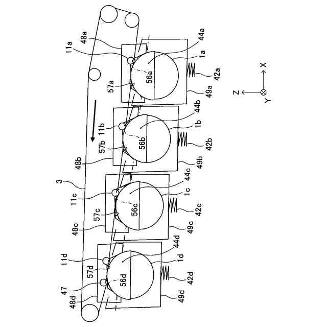
図1は、実施形態に係るプリンタ100を示す概略構成図である。プリンタ100は、タンデム型のカラープリンタであり、本体筐体101内に配置された第一乃至第四の四つの像担持体としての感光体1(a~d)を備える。四つの感光体1の上方には、転写体として中間転写ベルト3を備える中間転写ユニット60を備え、中間転写ユニット60は、プリンタ100の装置本体に対して着脱可能となっている。
【0010】
四つの感光体1(a~d)上には、互いに異なる色のトナー像がそれぞれ形成される。本実施形態の四つの感光体1(a~d)には、それぞれブラックトナー像、マゼンタトナー像、シアントナー像及びイエロートナー像がそれぞれ形成される。図1に示した感光体1(a~d)はドラム状に形成されているが、感光体としては複数のローラに巻き掛けられて回転駆動される無端ベルト状の感光体を用いることもできる。
(【0011】以降は省略されています)
この特許をJ-PlatPat(特許庁公式サイト)で参照する
関連特許
株式会社リコー
画像形成装置
1か月前
株式会社リコー
画像形成装置
1か月前
株式会社リコー
画像形成装置
24日前
株式会社リコー
服薬支援装置
24日前
株式会社リコー
液体吐出装置
10日前
株式会社リコー
画像形成装置
1か月前
株式会社リコー
外観検査装置
18日前
株式会社リコー
画像形成装置
1か月前
株式会社リコー
画像形成装置及びシステム
1か月前
株式会社リコー
定着装置及び画像形成装置
10日前
株式会社リコー
画像形成装置、及び、機器
1か月前
株式会社リコー
光源装置および画像表示装置
4日前
株式会社リコー
延長トレイ及び画像形成装置
1か月前
株式会社リコー
光走査装置及び画像形成装置
1か月前
株式会社リコー
画像形成装置及び異常判定方法
24日前
株式会社リコー
シート供給装置、画像形成装置
1か月前
株式会社リコー
画像読取装置及び画像読取方法
1か月前
株式会社リコー
画像形成装置、及び画像形成方法
18日前
株式会社リコー
画像形成装置および画像形成方法
24日前
株式会社リコー
媒体処理装置及び画像形成システム
3日前
株式会社リコー
媒体処理装置及び画像形成システム
1か月前
株式会社リコー
加熱搬送装置、及び、画像形成装置
1か月前
株式会社リコー
樹脂粒子、及び樹脂粒子の製造方法
1か月前
株式会社リコー
媒体処理装置及び画像形成システム
3日前
株式会社リコー
加熱装置、定着装置、画像形成装置
1か月前
株式会社リコー
読取装置、読取方法およびプログラム
1か月前
株式会社リコー
後処理装置、及び、画像形成システム
11日前
株式会社リコー
加熱装置、定着装置及び画像形成装置
18日前
株式会社リコー
通信装置、通信方法、及びプログラム
1か月前
株式会社リコー
通信端末、通信方法、及びプログラム
1か月前
株式会社リコー
樹脂粒子、トナー、及び、画像形成装置
1か月前
株式会社リコー
外観検査方法、および外観検査システム
10日前
株式会社リコー
プリンタシステムのための自動制御システム
3日前
株式会社リコー
画像形成装置、画像形成方法及びプログラム
12日前
株式会社リコー
画像形成装置、情報処理方法及びプログラム
1か月前
株式会社リコー
画像形成装置、画像形成方法及びプログラム
12日前
続きを見る
他の特許を見る