TOP
|
特許
|
意匠
|
商標
特許ウォッチ
Twitter
他の特許を見る
10個以上の画像は省略されています。
公開番号
2025162840
公報種別
公開特許公報(A)
公開日
2025-10-28
出願番号
2024066297
出願日
2024-04-16
発明の名称
画像読取装置及び画像読取方法
出願人
株式会社リコー
代理人
弁理士法人武和国際特許事務所
主分類
H04N
1/04 20060101AFI20251021BHJP(電気通信技術)
要約
【課題】媒体を搬送しながら当該媒体に形成されている画像を読み取る画像形成装置において、媒体の搬送路を形成するカバー部材の開閉状態の検知精度を高める画像形成装置を提供する。
【解決手段】媒体を搬送する媒体搬送機構と、媒体搬送機構に設けられた搬送路を形成し、媒体搬送機構に対し開閉可能な搬送ガイド板と、画像を光学的に読み取る複数のイメージセンサと、複数のイメージセンサに夫々対向する背景白色板と、複数のイメージセンサの夫々の読取値を所定の閾値と比較し、搬送ガイド板の開閉状態を判定する判定手段と、を備え、判定手段は、搬送路において媒体の搬送をする前に、イメージセンサの夫々に対向する背景白色板に係る読取値と閾値とを比較し、搬送ガイド板の開閉状態を判定する、画像読取装置による。
【選択図】図4
特許請求の範囲
【請求項1】
搬送されているシート状の媒体に形成された画像を読み取る画像読取装置であって、
前記媒体を搬送する媒体搬送機構と、
当該媒体搬送機構に設けられた搬送路を形成し、当該媒体搬送機構に対し開閉可能な搬送ガイド板と、
前記画像を光学的に読み取る複数のイメージセンサと、
前記複数のイメージセンサに夫々対向する背景白色板と、
前記複数のイメージセンサの夫々の読取値を所定の閾値と比較し、前記搬送ガイド板の開閉状態を判定する判定手段と、
を備え、
前記判定手段は、前記搬送路において前記媒体の搬送をする前に、前記イメージセンサの夫々に対向する前記背景白色板に係る前記読取値と前記閾値とを比較し、前記搬送ガイド板の開閉状態を判定する、
ことを特徴とする画像読取装置。
続きを表示(約 1,200 文字)
【請求項2】
前記搬送ガイド板は、前記媒体を前記イメージセンサの位置まで搬送する原稿搬送部の底面に位置し、
一の前記イメージセンサは、前記搬送ガイド板に対応する前記原稿搬送部の内部に設けられ、
他の前記イメージセンサは、前記搬送ガイド板が開くと前記読取値の出力に影響を与える位置に設けられている、
請求項1に記載の画像読取装置。
【請求項3】
前記他のイメージセンサに対向する前記背景白色板は、前記一のイメージセンサに対向する前記背景白色板の上流側に配置されている、
請求項2に記載の画像読取装置。
【請求項4】
前記判定手段は、
前記イメージセンサの夫々の読取値は、前記媒体の搬送方向に直交する方向である主走査方向において、読取領域を複数に分割し、各領域に対応して算出し、
各領域に対応する前記読取値と前記閾値とを比較し、
すべての領域において前記読取値が前記閾値以上であれば、前記搬送ガイド板を閉状態であると判定する、
請求項1乃至3のいずれか一項に記載の画像読取装置。
【請求項5】
前記判定手段は、
所定の数の領域において前記読取値が前記閾値未満であれば、前記搬送ガイド板を開状態であると判定する、
請求項4に記載の画像読取装置。
【請求項6】
前記判定手段は、
前記画像の読取り動作の開始前に、前記搬送ガイド板の開閉状態を判定し、
当該搬送ガイド板が開状態であると判定したときは前記読取り動作を停止し、
当該読取り動作を停止したことを示す通知を出力する、
請求項1に記載の画像読取装置。
【請求項7】
前記媒体搬送機構の開閉状態を検知する媒体搬送機構開閉検知センサを備え、
前記判定手段は、
前記通知を出力した後において前記媒体搬送機構が開状態から閉状態へ遷移したとき、
前記搬送ガイド板の開閉検知を実行する、
請求項6に記載の画像読取装置。
【請求項8】
前記判定手段は、
前記搬送ガイド板の開閉検知を実行した後、当該搬送ガイド板が閉状態であると判定したとき、前記通知の出力を停止する、
請求項7に記載の画像読取装置。
【請求項9】
前記判定手段は、
前記通知の出力を停止した後、前記読取り動作を再開する、
請求項8に記載の画像読取装置。
【請求項10】
前記判定手段は、
前記通知を出力した後において前記媒体搬送機構が開状態から閉状態へ遷移したとき、
前記搬送ガイド板の開閉検知を実行し、
所定の回数を繰り返して当該搬送ガイド板が開状態であると判定されたとき、
前記イメージセンサが異常であることを示す通知を出力する、
請求項6に記載の画像読取装置。
(【請求項11】以降は省略されています)
発明の詳細な説明
【技術分野】
【0001】
本発明は、画像読取装置及び画像読取方法に関する。
続きを表示(約 1,800 文字)
【背景技術】
【0002】
シート状の媒体に記録された文章や画像を光学的に読み取る画像読取装置が知られている。画像読取装置には、媒体を読取り位置に搬送する媒体搬送機構を備え、画像読取り処理が終了した媒体は排出トレイに排出するものも知られている。
【0003】
カバー開閉状態を追加の部品を設けることなく検知するために、読取モジュールに設けられた複数の閾値(黒閾値および白閾値)を用いることでカバー開閉状態を精度よく検知可能な構成が開示されている(例えば、特許文献1を参照)。
【発明の概要】
【発明が解決しようとする課題】
【0004】
特許文献1に開示の構成では、読取モジュールの検出レベルでカバー開閉状態を検知することができる。しかし、わずかにしか開いていない開閉するカバーに対して適用する場合、部品ばらつきや繰り返し検出ばらつき等の影響により、カバー開閉状態の検出結果が不安定になる。その結果、従来構成によれば、カバーが閉まっているのにも関わらず、開いていると誤検知するといった問題は解消できていない。
【0005】
本発明では、媒体を搬送しながら当該媒体に形成されている画像を読み取る画像形成装置において、媒体の搬送路を形成するカバー部材の開閉状態の検知精度を高める画像形成装置を提供することを目的とする。
【課題を解決するための手段】
【0006】
上記課題を解決するために、本発明の一態様は、搬送されているシート状の媒体に形成された画像を読み取る画像読取装置に関し、前記媒体を搬送する媒体搬送機構と、当該媒体搬送機構に設けられた搬送路を形成し、当該媒体搬送機構に対し開閉可能な搬送ガイド板と、前記画像を光学的に読み取る複数のイメージセンサと、前記複数のイメージセンサに夫々対向する背景白色板と、前記複数のイメージセンサの夫々の読取値を所定の閾値と比較し、前記搬送ガイド板の開閉状態を判定する判定手段と、を備え、前記判定手段は、前記搬送路において前記媒体の搬送をする前に、前記イメージセンサの夫々に対向する前記背景白色板に係る前記読取値と前記閾値とを比較し、前記搬送ガイド板の開閉状態を判定する、ことを特徴とする。
【発明の効果】
【0007】
本発明によれば、媒体を搬送しながら当該媒体に形成されている画像を読み取る画像形成装置において、媒体の搬送路を形成するカバー部材の開閉状態の検知精度を高めることができる。
【図面の簡単な説明】
【0008】
本発明の一実施形態に係る画像読取装置の概要を示す図。
画像読取装置の内部構造を示す図。
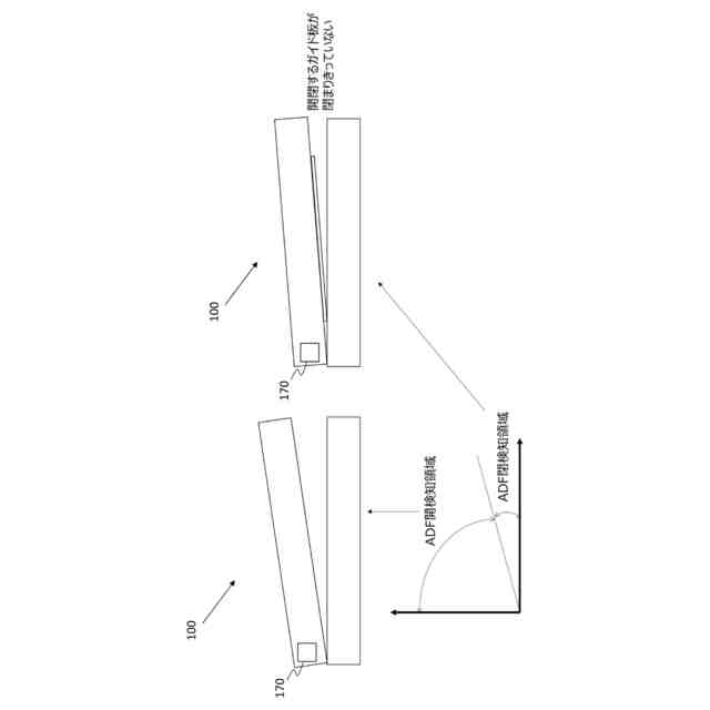
画像読取装置に含まれる搬送ガイド板の開閉構造を示す図。
画像読取装置に含まれる搬送ガイド板の閉状態を示す図。
画像読取装置に含まれる搬送ガイド板の開状態を示す図。
画像読取装置に含まれる媒体搬送機構の開閉状態を説明する図。
搬送ガイド板の開閉状態を検知するためのセンサ出力の例を示す図。
搬送ガイド板の開閉状態に基づくセンサ出力の組み合わせ例を説明する図。
搬送ガイド板の開閉状態に基づくセンサ出力の組み合わせ例を説明する図。
搬送ガイド板の開閉状態の判定処理の流れを示すフローチャート。
【発明を実施するための形態】
【0009】
以下、本発明に係る画像読取装置及び画像読取方法の実施形態について、図面を参照しながら説明する。図1は、本発明に係る画像読取装置の実施形態であるスキャナユニット100の概要を例示する図である。スキャナユニット100は、例えば、フラットベッド読取モード(載置原稿読取りモード)と、DF読取モード(搬送原稿読取りモード)の、2つの画像読取りモードを有し、これらを切り替えて動作させることができる構成を備えている。
【0010】
載置原稿読取りモードは、フラットベッドスキャナユニット1の上部のフラットベッドコンタクトガラス2の上に原稿を載置した状態で、ユーザーが、操作表示部(図示せず)に表示されているコピー開始ボタンなどを操作して、動作開始指示操作(画像読取りの開始要求操作)を行うことで、画像の読取り動作を実行する動作モードである。
(【0011】以降は省略されています)
この特許をJ-PlatPat(特許庁公式サイト)で参照する
関連特許
株式会社リコー
画像形成装置
1か月前
株式会社リコー
画像形成装置
1か月前
株式会社リコー
外観検査装置
20日前
株式会社リコー
服薬支援装置
26日前
株式会社リコー
画像形成装置
26日前
株式会社リコー
液体吐出装置
12日前
株式会社リコー
画像形成装置
1か月前
株式会社リコー
画像形成装置、及び、機器
1か月前
株式会社リコー
定着装置及び画像形成装置
12日前
株式会社リコー
光走査装置及び画像形成装置
1か月前
株式会社リコー
光源装置および画像表示装置
6日前
株式会社リコー
シート供給装置、画像形成装置
1か月前
株式会社リコー
画像形成装置及び異常判定方法
26日前
株式会社リコー
画像形成装置、及び画像形成方法
20日前
株式会社リコー
画像形成装置および画像形成方法
26日前
株式会社リコー
加熱装置、定着装置、画像形成装置
1か月前
株式会社リコー
媒体処理装置及び画像形成システム
5日前
株式会社リコー
樹脂粒子、及び樹脂粒子の製造方法
1か月前
株式会社リコー
媒体処理装置及び画像形成システム
5日前
株式会社リコー
加熱搬送装置、及び、画像形成装置
1か月前
株式会社リコー
後処理装置、及び、画像形成システム
13日前
株式会社リコー
加熱装置、定着装置及び画像形成装置
20日前
株式会社リコー
樹脂粒子、トナー、及び、画像形成装置
1か月前
株式会社リコー
外観検査方法、および外観検査システム
12日前
株式会社リコー
カラーホイール、光源装置及び投射装置
1日前
株式会社リコー
投影システム、投影方法およびプログラム
今日
株式会社リコー
画像形成装置、画像形成方法及びプログラム
14日前
株式会社リコー
画像形成装置、画像形成方法及びプログラム
14日前
株式会社リコー
プリンタシステムのための自動制御システム
5日前
株式会社リコー
画像形成装置、画像形成方法およびプログラム
今日
株式会社リコー
情報処理装置、情報処理方法およびプログラム
21日前
株式会社リコー
振動検出装置、バイタルセンサ、配管検査装置
7日前
株式会社リコー
情報処理装置、情報処理方法およびプログラム
1か月前
株式会社リコー
画像処理装置、画像処理方法およびプログラム
28日前
株式会社リコー
画像形成装置、画像形成方法およびプログラム
26日前
株式会社リコー
表示装置、表示方法、プログラム、表示システム
28日前
続きを見る
他の特許を見る