TOP
|
特許
|
意匠
|
商標
特許ウォッチ
Twitter
他の特許を見る
10個以上の画像は省略されています。
公開番号
2025179734
公報種別
公開特許公報(A)
公開日
2025-12-10
出願番号
2024086665
出願日
2024-05-28
発明の名称
投影システム、投影方法およびプログラム
出願人
株式会社リコー
代理人
弁理士法人酒井国際特許事務所
主分類
H04N
5/74 20060101AFI20251203BHJP(電気通信技術)
要約
【課題】投影面に影の領域と影ではない領域が存在する場合でも、各領域に適切な補正を行うことを目的とする。
【解決手段】画像を投影する投影部と、前記画像を補正する補正部と、を備え、前記補正部は、投影面の影の領域である第2の領域と影ではない領域である第1の領域とで異なる補正をすることを特徴とする。
【選択図】図7
特許請求の範囲
【請求項1】
画像を投影する投影部と、
前記画像を補正する補正部と、
を備え、
前記補正部は、投影面の影の領域である第2の領域と影ではない領域である第1の領域とで異なる補正をすることを特徴とする投影システム。
続きを表示(約 940 文字)
【請求項2】
前記補正部は、
前記第2の領域の明度を、前記第1の領域の明度よりも低くする、請求項1に記載の投影システム。
【請求項3】
前記補正部は、
前記画像の色情報と投影面の色情報とに基づいて、前記画像を補正する、請求項1に記載の投影システム。
【請求項4】
前記投影面の色情報は、前記投影部が前記画像を投影していない時に前記投影面から取得された色情報である、請求項3に記載の投影システム。
【請求項5】
前記投影面の色情報に基づいて、前記第1の領域と前記第2の領域を判別する判別部をさらに備える、請求項3に記載の投影システム。
【請求項6】
前記投影面の色情報を取得する撮影部をさらに備える、請求項3に記載の投影システム。
【請求項7】
前記投影部と前記撮影部は、前記投影部が画像を投射する位置と前記撮影部が画像を入射する位置が近接するように配置される、請求項6に記載の投影システム。
【請求項8】
前記投影面の色情報を取得する撮影部と、
前記投影面の色情報に基づいて、前記第1の領域と前記第2の領域を判別する判別部と、
をさらに備え、
前記判別部は、前記撮影部が取得した影のない前記投影面の色情報と、前記撮影部が取得した影のある前記投影面の色情報との差異に基づいて、前記第1の領域と前記第2の領域を判別する請求項3に記載の投影システム。
【請求項9】
前記投影面の色情報を取得する撮影部と、
前記投影面の色情報に基づいて、前記第1の領域と前記第2の領域を判別する判別部と、
影のない前記投影面を示す予め記憶された色情報を読み出す読出し部と、
をさらに備え、
前記判別部は、前記予め記憶された色情報と、前記撮影部が取得した影のある前記投影面の色情報との差異に基づいて、前記第1の領域と前記第2の領域を判別する請求項3に記載の投影システム。
【請求項10】
前記投影面は立体である、請求項1乃至9のいずれか一項に記載の投影システム。
(【請求項11】以降は省略されています)
発明の詳細な説明
【技術分野】
【0001】
本発明は、投影システム、投影方法およびプログラムに関する。
続きを表示(約 1,500 文字)
【背景技術】
【0002】
従来、物体に画像を投影し、その物体の色やテクスチャを様々に変化するように見せることができるプロジェクションマッピングという手法が用いられている。また、画像が投影される投影面の素材の色や照明光の色が変化した場合でも、投影された画像を所望の色に見せるように色補正を行う技術が知られている。
【0003】
特許文献1には、予め設定された第1色情報と、投影面上に投影された画像の第2色情報とに基づいて、投影面上に投影された前記画像の画素又はブロック毎に、色の見え(色の見え方)を一致させる色変換を生成する色変換生成ステップと、入力画像の画素あるいはブロック毎に前記色変換を用いて色補正する色補正ステップとを備えることが開示されている。
【発明の概要】
【発明が解決しようとする課題】
【0004】
しかしながら、投影対象が立体物であり投影面に影の領域と影ではない領域が存在する場合に、従来の技術によれば投影面全体に一様に色補正を行うために、影の領域と影ではない領域の差がなくなることで影が消え、投影対象の立体感やリアル感が損なわれてしまう、という問題がある。
【0005】
本発明は、上記に鑑みてなされたものであって、立体である投影面に影の領域と影ではない領域が存在する場合でも、各領域に適切な補正を行うことを目的とする。
【課題を解決するための手段】
【0006】
上述した課題を解決し、目的を達成するために、本発明は、画像を投影する投影部と、前記画像を補正する補正部と、を備え、前記補正部は、投影面の影の領域である第2の領域と影ではない領域である第1の領域とで異なる補正をすることを特徴とする
【発明の効果】
【0007】
本発明によれば、立体である投影面に影の領域と影ではない領域が存在する場合でも、各領域に適切な補正を行うことができる、という効果を奏する。
【図面の簡単な説明】
【0008】
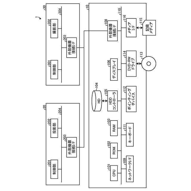
図1は、第1の実施の形態に係る投影システムの構成の一例を示す図である。
図2は、投影装置と撮影装置の配置の一例を示す図である。
図3は、投影システムのハードウェア構成の一例を示す図である。
図4は、色が異なる複数の投影面に画像を投影する様子を示す図である。
図5は、第1の実施の形態に係る投影対象物の一例を示す図である。
図6は、立体である投影面に画像を投影する様子を示す図である。
図7は、第1の実施の形態に係る補正処理の機能構成の一例を示す図である。
図8は、第1の実施の形態に係る補正処理の手順の一例を示すフローチャートである。
図9は、第2の実施の形態に係る補正処理の機能構成の一例を示す図である。
図10は、第2の実施の形態に係る補正処理の手順の一例を示すシーケンス図である。
【発明を実施するための形態】
【0009】
以下に添付図面を参照して、投影システム、投影方法およびプログラムの実施の形態を詳細に説明する。
【0010】
(第1の実施の形態)
図1は、本実施形態に係る投影システム1の構成の一例を示す図である。投影システム1は、有線又は無線で互いに接続される情報処理装置10、投影装置20、及び撮影装置30を備えている。投影システム1は、投影対象物2の表面である投影面3に画像を投影する。ここで、画像は複数の画素で構成され、各画素は色情報を有している。
(【0011】以降は省略されています)
この特許をJ-PlatPat(特許庁公式サイト)で参照する
関連特許
株式会社リコー
定着装置及び画像形成装置
12日前
株式会社リコー
光源装置および画像表示装置
6日前
株式会社リコー
媒体処理装置及び画像形成システム
5日前
株式会社リコー
媒体処理装置及び画像形成システム
5日前
株式会社リコー
カラーホイール、光源装置及び投射装置
1日前
株式会社リコー
投影システム、投影方法およびプログラム
今日
株式会社リコー
プリンタシステムのための自動制御システム
5日前
株式会社リコー
画像形成装置、画像形成方法およびプログラム
今日
株式会社リコー
振動検出装置、バイタルセンサ、配管検査装置
7日前
株式会社リコー
媒体処理装置、画像形成装置、画像形成システム
5日前
株式会社リコー
穿孔装置、後処理装置、及び、画像形成システム
6日前
株式会社リコー
画像読取装置、画像形成装置、および画像読取方法
12日前
株式会社リコー
機器、ジェスチャ認識方法、プログラム、表示システム
今日
株式会社リコー
画像形成装置、交換部品、情報処理方法、及びプログラム
7日前
株式会社リコー
情報伝達システム、情報処理装置、情報伝達方法及びプログラム
5日前
株式会社リコー
手書き入力装置、手書き入力システム、手書き入力方法、プログラム
1日前
株式会社リコー
情報処理装置、情報処理方法、プログラム、および情報処理システム
12日前
株式会社リコー
画像形成装置、画像形成装置の制御方法及び画像形成装置の制御プログラム
7日前
株式会社リコー
駆動装置、及び、画像形成装置
1日前
株式会社リコー
機器、情報処理システム、プログラム、不具合解消方法
5日前
株式会社リコー
トナー、現像剤、トナー収容ユニット、画像形成装置、画像形成方法、印刷物の製造方法、及び、トナーの製造方法
今日
株式会社リコー
電気音響変換器、アレイスピーカ、ウェアラブルデバイス、スピーカ、超音波発信器および電気音響変換器の製造方法
12日前
個人
イヤーピース
1か月前
個人
イヤーマフ
1か月前
個人
監視カメラシステム
1か月前
個人
スイッチシステム
1か月前
キーコム株式会社
光伝送線路
1か月前
サクサ株式会社
中継装置
2か月前
サクサ株式会社
中継装置
2か月前
個人
スキャン式車載用撮像装置
1か月前
キヤノン株式会社
撮像装置
5日前
キヤノン株式会社
撮像装置
12日前
キヤノン株式会社
撮像装置
5日前
キヤノン株式会社
撮像装置
5日前
キヤノン電子株式会社
画像読取装置
1か月前
サクサ株式会社
無線システム
2か月前
続きを見る
他の特許を見る