TOP
|
特許
|
意匠
|
商標
特許ウォッチ
Twitter
他の特許を見る
10個以上の画像は省略されています。
公開番号
2025178899
公報種別
公開特許公報(A)
公開日
2025-12-09
出願番号
2024085768
出願日
2024-05-27
発明の名称
手書き入力装置、手書き入力システム、手書き入力方法、プログラム
出願人
株式会社リコー
代理人
個人
主分類
G06V
30/19 20220101AFI20251202BHJP(計算;計数)
要約
【課題】ユーザが所望する文字認識や予測検索の結果を得ること。
【解決手段】手書き入力が可能な手書き入力装置であって、手書き入力された手書き文字列を文字認識することによって認識結果文字列に変換する変換手段と、認識結果文字列に対応する予測候補文字列を検索する検索手段と、予測候補文字列を選択可能に画面上に表示させる表示制御手段と、手書き文字列の手書き速度が所定の閾値より低い場合、または、手書き文字列における隣接する文字間の距離が所定の閾値より大きい場合、検索手段による予測候補文字列の検索範囲を拡張する拡張手段とを備え、表示制御手段は、拡張された検索範囲を用いて検索手段によって検索された予測候補文字列を、画面上に選択可能に表示させる。
【選択図】図5
特許請求の範囲
【請求項1】
手書き入力が可能な手書き入力装置であって、
前記手書き入力された手書き文字列を文字認識することによって認識結果文字列に変換する変換手段と、
前記認識結果文字列に対応する予測候補文字列を検索する検索手段と、
前記予測候補文字列を選択可能に画面上に表示させる表示制御手段と、
前記手書き文字列の手書き速度が所定の閾値より低い場合、または、前記手書き文字列における隣接する文字間の距離が所定の閾値より大きい場合、前記検索手段による前記予測候補文字列の検索範囲を拡張する拡張手段とを備え、
前記表示制御手段は、
拡張された前記検索範囲を用いて前記検索手段によって検索された前記予測候補文字列を、前記画面上に選択可能に表示させる
ことを特徴とする手書き入力装置。
続きを表示(約 1,100 文字)
【請求項2】
前記拡張手段は、
前記手書き文字列において、隣接する文字間の距離が、所定の閾値より大きい場合、空白が有ると判定する
ことを特徴とする請求項1に記載の手書き入力装置。
【請求項3】
前記拡張手段は、
前記手書き文字列において、所定の対象外文字が含まれている場合、当該所定の対象外文字を空白とみなして、隣接する文字間の距離を算出する
ことを特徴とする請求項2に記載の手書き入力装置。
【請求項4】
前記拡張手段は、
前記検索手段を第1の検索手段から、前記第1の検索手段よりも検索範囲が広範囲である第2の検索手段に切り替えることにより、前記検索手段による前記予測候補文字列の検索範囲を拡張する
ことを特徴とする請求項1に記載の手書き入力装置。
【請求項5】
前記第2の検索手段は、外部のサーバに設けられている生成AIである
ことを特徴とする請求項4に記載の手書き入力装置。
【請求項6】
前記拡張手段は、
前記検索手段によって検索された前記予測候補文字列に対して、過去に前記検索手段によって検索された前記予測候補文字列を追加することにより、前記予測候補文字列の検索範囲を拡張する
ことを特徴とする請求項1に記載の手書き入力装置。
【請求項7】
前記拡張手段は、
前記検索手段が前記予測候補文字列を検索する際に、あいまい検索を増やすことにより、前記予測候補文字列の検索範囲を拡張する
ことを特徴とする請求項1に記載の手書き入力装置。
【請求項8】
前記拡張手段は、
前記手書き入力装置がバッテリーからの電力で駆動されている場合、前記所定の条件を満たし、且つ、前記バッテリーの充電残量が所定の閾値以上のときに、前記検索手段による前記予測候補文字列の検索範囲を拡張する
ことを特徴とする請求項1に記載の手書き入力装置。
【請求項9】
前記拡張手段は、
前記手書き入力装置がACアダプタからの電力で駆動されている場合、前記所定の条件を満たしたときに、前記検索手段による前記予測候補文字列の検索範囲を拡張する
ことを特徴とする請求項1に記載の手書き入力装置。
【請求項10】
自装置での判断結果を解析する解析部と、
前記解析部による解析結果を表示部に表示させるとともに、前記解析結果に基づいて自装置での設定条件の変更を受け付ける表示受付部と
をさらに備えることを特徴とする請求項1に記載の手書き入力装置。
(【請求項11】以降は省略されています)
発明の詳細な説明
【技術分野】
【0001】
本発明は、手書き入力装置、手書き入力システム、手書き入力方法、およびプログラムに関する。
続きを表示(約 2,200 文字)
【背景技術】
【0002】
特許文献1には、手書き入力装置がユーザから手書き入力を受け付けると、手書き入力された内容について手書き入力装置が文字認識や予測検索を行って、文字認識や予測検索が成された文字列の候補を画面上に表示させる技術が開示されている。
【発明の概要】
【発明が解決しようとする課題】
【0003】
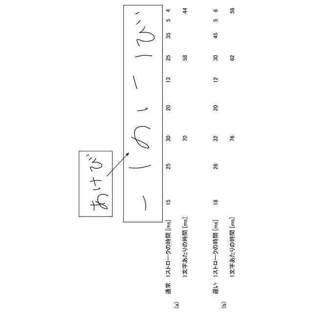
手書き入力装置においては、ユーザが手書き入力する内容によっては、ユーザによる手書き入力の動作が変化する場合がある。例えば、ユーザが手書きしたい単語を思い出しながら手書き入力する際には、手書き入力の動作がゆっくりとなる場合がある。また、ユーザが文章を手書き入力するときに人名や固有名詞などの単語が思い出せない際には、文章内に空白部分を作りながら手書き入力する場合がある。
【0004】
しかしながら、従来技術では、ユーザによる手書き入力の動作の変化に応じて、予測検索の方法を変えることは想定されていない。例えば、ユーザの手書き入力の動作がゆっくりとなった場合やユーザが手書き入力する文字間の距離が大きくなった場合でも予測検索の検索範囲が同じままとなることで、ユーザが手書きしたい単語が予測検索の検索範囲内で検索された結果に無いことがある。そのため、ユーザが所望する予測検索の結果を得ることができなかった。
【0005】
本発明は、上記課題に鑑み、ユーザが所望する予測検索の結果を得ることを目的とする。
【課題を解決するための手段】
【0006】
上記課題に鑑み、一実施形態に係る手書き入力装置は、手書き入力が可能な手書き入力装置であって、手書き入力された手書き文字列を文字認識することによって認識結果文字列に変換する変換手段と、認識結果文字列に対応する予測候補文字列を検索する検索手段と、予測候補文字列を選択可能に画面上に表示させる表示制御手段と、手書き文字列の手書き速度が所定の閾値より低い場合、または、手書き文字列における隣接する文字間の距離が所定の閾値より大きい場合、検索手段による予測候補文字列の検索範囲を拡張する拡張手段とを備え、表示制御手段は、拡張された検索範囲を用いて検索手段によって検索された予測候補文字列を、画面上に選択可能に表示させる。
【発明の効果】
【0007】
一実施形態に係る手書き入力装置によれば、ユーザが所望する予測検索の結果を得ることができる。
【図面の簡単な説明】
【0008】
第1実施形態に係る手書き入力装置の全体構成の一例を示す図
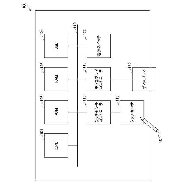
第1実施形態に係る手書き入力装置のハードウェア構成の一例を示す図
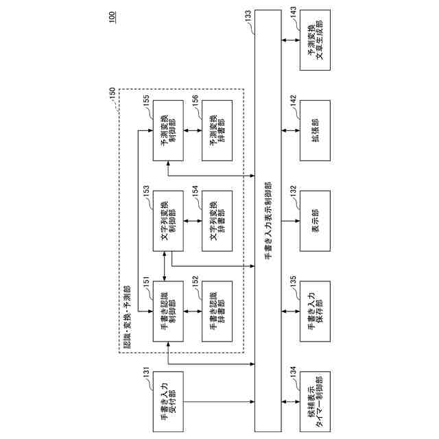
第1実施形態に係る手書き入力装置の機能構成の一例を示す図
第1実施形態に係る手書き入力装置による処理シーケンスの一例を示す図
第1実施形態に係る手書き入力装置が備える拡張部による拡張処理の手順の一例を示すフローチャート
第1実施形態に係る手書き入力装置が備える拡張部による判断処理の具体例(第1例)を示す図
第1実施形態に係る手書き入力装置が備える拡張部による判断処理の具体例(第2例)を示す図
第1実施形態に係る手書き入力装置が備える拡張部による判断処理の具体例(第3例)を示す図
第1実施形態に係る手書き入力装置が備える拡張部による判断処理の具体例(第4例)を示す図
第1実施形態に係る手書き入力装置が備える手書き入力表示制御部による予測候補文字列の表示例(第1例)を示す図
第1実施形態に係る手書き入力装置が備える手書き入力表示制御部による予測候補文字列の表示例(第2例)を示す図
第1実施形態に係る手書き入力装置が備える手書き入力表示制御部による予測候補文字列の表示例(第3例)を示す図
第1実施形態に係る手書き入力装置が備える手書き入力表示制御部による予測候補文字列の表示例(第4例)を示す図
第1実施形態に係る手書き入力装置が備える手書き入力表示制御部による予測候補文字列の表示例(第5例)を示す図
第1実施形態に係る手書き入力装置が備える拡張部による空白判定処理の手順の一例を示すフローチャート
第2実施形態に係る手書き入力装置の機能構成の一例を示す図
第3実施形態に係る手書き入力装置の機能構成の一例を示す図
第3実施形態に係る手書き入力装置による設定条件変更処理の手順の一例を示すフローチャート
第5実施形態に係る手書き入力装置が備える表示受付部が表示する表示画面の一例を示す図
【発明を実施するための形態】
【0009】
以下、本発明を実施するための形態の一例として、手書き入力装置100および手書き入力装置100が行う手書き入力方法について図面を参照しながら説明する。
【0010】
〔第1実施形態〕
(手書き入力装置100の全体構成)
図1は、第1実施形態に係る手書き入力装置100の全体構成の一例を示す図である。図1に示す例では、手書き入力装置100は、いわゆる電子黒板である。なお、図1に示す例では、手書き入力装置100は、自立可能なものであるが、これに限らず、壁掛け可能なもの、平置き可能なもの等であってもよい。
(【0011】以降は省略されています)
この特許をJ-PlatPat(特許庁公式サイト)で参照する
関連特許
株式会社リコー
画像形成装置
26日前
株式会社リコー
服薬支援装置
26日前
株式会社リコー
画像形成装置
1か月前
株式会社リコー
外観検査装置
20日前
株式会社リコー
液体吐出装置
12日前
株式会社リコー
画像形成装置
1か月前
株式会社リコー
画像形成装置
1か月前
株式会社リコー
画像形成装置、及び、機器
1か月前
株式会社リコー
定着装置及び画像形成装置
12日前
株式会社リコー
光走査装置及び画像形成装置
1か月前
株式会社リコー
光源装置および画像表示装置
6日前
株式会社リコー
画像形成装置及び異常判定方法
26日前
株式会社リコー
シート供給装置、画像形成装置
1か月前
株式会社リコー
画像形成装置および画像形成方法
26日前
株式会社リコー
画像形成装置、及び画像形成方法
20日前
株式会社リコー
加熱搬送装置、及び、画像形成装置
1か月前
株式会社リコー
加熱装置、定着装置、画像形成装置
1か月前
株式会社リコー
樹脂粒子、及び樹脂粒子の製造方法
1か月前
株式会社リコー
媒体処理装置及び画像形成システム
5日前
株式会社リコー
媒体処理装置及び画像形成システム
5日前
株式会社リコー
加熱装置、定着装置及び画像形成装置
20日前
株式会社リコー
後処理装置、及び、画像形成システム
13日前
株式会社リコー
樹脂粒子、トナー、及び、画像形成装置
1か月前
株式会社リコー
外観検査方法、および外観検査システム
12日前
株式会社リコー
カラーホイール、光源装置及び投射装置
1日前
株式会社リコー
投影システム、投影方法およびプログラム
今日
株式会社リコー
画像形成装置、画像形成方法及びプログラム
14日前
株式会社リコー
プリンタシステムのための自動制御システム
5日前
株式会社リコー
画像形成装置、画像形成方法及びプログラム
14日前
株式会社リコー
情報処理装置、情報処理方法およびプログラム
21日前
株式会社リコー
情報処理装置、情報処理方法およびプログラム
1か月前
株式会社リコー
画像形成装置、画像形成方法およびプログラム
26日前
株式会社リコー
画像処理装置、画像処理方法およびプログラム
28日前
株式会社リコー
振動検出装置、バイタルセンサ、配管検査装置
7日前
株式会社リコー
画像形成装置、画像処理方法およびプログラム
1か月前
株式会社リコー
画像形成装置、画像形成方法およびプログラム
今日
続きを見る
他の特許を見る