TOP
|
特許
|
意匠
|
商標
特許ウォッチ
Twitter
他の特許を見る
公開番号
2025163635
公報種別
公開特許公報(A)
公開日
2025-10-29
出願番号
2024067103
出願日
2024-04-17
発明の名称
画像形成装置、画像処理方法およびプログラム
出願人
株式会社リコー
代理人
弁理士法人酒井国際特許事務所
主分類
H04N
1/407 20060101AFI20251022BHJP(電気通信技術)
要約
【課題】読取データに関する各種条件に応じた裏写り補正を行うことができる画像形成装置、画像処理方法およびプログラムを提供する。
【解決手段】原稿に対して読み取り動作を行って第1読取データを得る読取部と、第1読取データに関する学習条件を取得する取得部と、機械学習による学習処理に用いるために、第1読取データおよび学習条件を含む学習データを生成する生成部と、学習データを用いて学習処理により生成された学習モデルを用いて、読取部により読み取られた補正対象の第2読取データに対して裏写り補正を行う補正部と、を備える。
【選択図】図4
特許請求の範囲
【請求項1】
原稿に対して読み取り動作を行って第1読取データを得る読取部と、
前記第1読取データに関する学習条件を取得する取得部と、
機械学習による学習処理に用いるために、前記第1読取データおよび前記学習条件を含む学習データを生成する生成部と、
前記学習データを用いて前記学習処理により生成された学習モデルを用いて、前記読取部により読み取られた補正対象の第2読取データに対して裏写り補正を行う補正部と、
を備えた画像形成装置。
続きを表示(約 1,200 文字)
【請求項2】
前記取得部は、前記学習条件として、前記原稿の紙種もしくは紙厚、または、トナーもしくはインクの種類もしくは色のうち少なくともいずれかを取得する請求項1に記載の画像形成装置。
【請求項3】
前記取得部は、前記学習条件として、前記画像形成装置内部の温度もしくは湿度、結露の有無、または、前記第1読取データを加工した場合のデータのうち少なくともいずれかを取得する請求項1または2に記載の画像形成装置。
【請求項4】
前記取得部は、前記学習条件のうち少なくともいずれかを、予め入力部を介して入力された設定情報から取得する請求項1または2に記載の画像形成装置。
【請求項5】
前記取得部は、前記学習条件のうち少なくともいずれかを、センサにより検出された情報から取得する請求項1または2に記載の画像形成装置。
【請求項6】
前記取得部は、前記学習条件として、前記第1読取データについて算出されたエッジ量、または該第1読取データの二値化したデータのうち少なくともいずれかを取得する請求項1または2に記載の画像形成装置。
【請求項7】
前記生成部は、前記取得部により取得された前記学習条件を、前記第1読取データに対する埋め込みデータとして、前記学習データを生成する請求項1または2に記載の画像形成装置。
【請求項8】
前記補正部は、前記裏写り補正を行うに際し、前記学習データの前記学習条件と同じ条件を取得して、前記第2読取データおよび前記条件に基づいて、前記学習モデルを用いて該裏写り補正を行う請求項1または2に記載の画像形成装置。
【請求項9】
読取装置が、原稿に対して読み取り動作を行って第1読取データを得る読取ステップと、
前記第1読取データに関する学習条件を取得する取得ステップと、
機械学習による学習処理に用いるために、前記第1読取データおよび前記学習条件を含む学習データを生成する生成ステップと、
前記学習データを用いて前記学習処理により生成された学習モデルを用いて、前記読取装置により読み取られた補正対象の第2読取データに対して裏写り補正を行う補正ステップと、
を有する画像処理方法。
【請求項10】
コンピュータに、
読取装置による原稿に対する読み取り動作によって得られた第1読取データに関する学習条件を取得する取得ステップと、
機械学習による学習処理に用いるために、前記第1読取データおよび前記学習条件を含む学習データを生成する生成ステップと、
前記学習データを用いて前記学習処理により生成された学習モデルを用いて、前記読取装置により読み取られた補正対象の第2読取データに対して裏写り補正を行う補正ステップと、
を実行させるためのプログラム。
発明の詳細な説明
【技術分野】
【0001】
本発明は、画像形成装置、画像処理方法およびプログラムに関する。
続きを表示(約 1,700 文字)
【背景技術】
【0002】
スキャナ等の読取装置により原稿を読み取った画像データには、当該原稿について読み取った面(表面)の裏側の面の画像が写り込んでしまう、いわゆる裏写りという現象が発生し得る。
【0003】
このような裏写りに対する補正に関する技術として、読取画像の画質を高めるために、学習チャート媒体の第1面から画像を読み取ることにより生成された第1の画像データに基づいて学習処理を行うと共に、原稿媒体から画像を読み取ることにより生成された第2の画像データを、学習処理で得られたデータを用いて補正する補正処理を行うする構成が開示されている(例えば特許文献1)。
【0004】
また、裏写りが生じる領域において、実際の画像異常に対する検査漏れを抑制するために、読み取り画像解析部による解析の結果に基づいて、記録媒体における裏写り可能領域を特定し、記録媒体における異常が予め定められた種類の異常であるか否かを判定し、予め定められた種類の異常である場合に裏写り可能領域における異常を特定するための判断基準を、上記の予め定められた種類以外の異常を特定するための判断基準とは異なる判断基準として設定する共に、設定された判断基準に基づいて裏写り可能領域における異常を特定する構成が開示されている(例えば特許文献2)。
【発明の概要】
【発明が解決しようとする課題】
【0005】
しかしながら、従来の技術では、読取データに関する各種条件に応じた裏写り補正を行うことができないという課題がある。
【0006】
本発明は、上記に鑑みてなされたものであって、読取データに関する各種条件に応じた裏写り補正を行うことができる画像形成装置、画像処理方法およびプログラムを提供することを目的とする。
【課題を解決するための手段】
【0007】
上述した課題を解決し、目的を達成するために、本発明は、原稿に対して読み取り動作を行って第1読取データを得る読取部と、前記第1読取データに関する学習条件を取得する取得部と、機械学習による学習処理に用いるために、前記第1読取データおよび前記学習条件を含む学習データを生成する生成部と、前記学習データを用いて前記学習処理により生成された学習モデルを用いて、前記読取部により読み取られた補正対象の第2読取データに対して裏写り補正を行う補正部と、を備えたことを特徴とする。
【発明の効果】
【0008】
本発明によれば、読取データに関する各種条件に応じた裏写り補正を行うことができる。
【図面の簡単な説明】
【0009】
図1は、実施形態に係る情報処理システムの全体構成の一例を示す図である。
図2は、実施形態に係る画像形成装置のハードウェア構成の一例を示す図である。
図3は、実施形態に係る機械学習サーバのハードウェア構成の一例を示す図である。
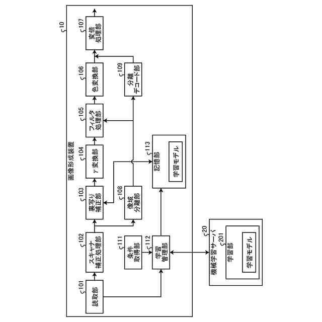
図4は、実施形態に係る画像形成装置および機械学習サーバの機能ブロックの構成の一例を示す図である。
図5は、実施形態に係る情報処理システムの学習処理の流れの一例を示すフローチャートである。
図6は、実施形態に係る情報処理システムの学習処理の流れの別の例を示すフローチャートである。
図7は、実施形態に係る画像形成装置の裏写り補正処理の流れの一例を示すフローチャートである。
【発明を実施するための形態】
【0010】
以下に、図面を参照しながら、本発明に係る画像形成装置、画像処理方法およびプログラムの実施形態を詳細に説明する。また、以下の実施形態によって本発明が限定されるものではなく、以下の実施形態における構成要素には、当業者が容易に想到できるもの、実質的に同一のもの、およびいわゆる均等の範囲のものが含まれる。さらに、以下の実施形態の要旨を逸脱しない範囲で構成要素の種々の省略、置換、変更および組み合わせを行うことができる。
(【0011】以降は省略されています)
この特許をJ-PlatPat(特許庁公式サイト)で参照する
関連特許
株式会社リコー
移動体
24日前
株式会社リコー
画像形成装置
2日前
株式会社リコー
画像形成装置
2日前
株式会社リコー
画像形成装置
10日前
株式会社リコー
画像形成装置
5日前
株式会社リコー
画像形成システム
29日前
株式会社リコー
機器及び異常判定方法
10日前
株式会社リコー
画像形成装置及びシステム
8日前
株式会社リコー
延長トレイ及び画像形成装置
5日前
株式会社リコー
印刷装置および印刷システム
29日前
株式会社リコー
定着装置、及び画像形成装置
10日前
株式会社リコー
液体吐出装置及び液体吐出方法
29日前
株式会社リコー
画像読取装置及び画像読取方法
4日前
株式会社リコー
表示装置、切替方法、プログラム
15日前
株式会社リコー
媒体処理装置及び画像形成システム
5日前
株式会社リコー
媒体処理装置及び画像形成システム
29日前
株式会社リコー
樹脂粒子、及び樹脂粒子の製造方法
2日前
株式会社リコー
シート給送装置及び画像形成システム
11日前
株式会社リコー
通信装置、通信方法、及びプログラム
8日前
株式会社リコー
通信端末、通信方法、及びプログラム
8日前
株式会社リコー
加熱装置、定着装置及び画像形成装置
9日前
株式会社リコー
シート給紙装置、および画像形成装置
29日前
株式会社リコー
読取装置、読取方法およびプログラム
5日前
株式会社リコー
光源装置、画像投影装置および調整方法
15日前
株式会社リコー
通信装置、状態制御方法、及びプログラム
11日前
株式会社リコー
ノード、データ共有方法、及びプログラム
22日前
株式会社リコー
画像形成装置、情報処理方法及びプログラム
8日前
株式会社リコー
画像形成装置、及び、プロセスカートリッジ
15日前
株式会社リコー
画像形成装置、情報処理方法およびプログラム
29日前
株式会社リコー
画像読取装置、画像判定方法およびプログラム
8日前
株式会社リコー
画像形成装置、画像処理方法およびプログラム
3日前
株式会社リコー
画像形成装置、情報処理方法およびプログラム
9日前
株式会社リコー
画像処理装置、画像処理方法、およびプログラム
29日前
株式会社リコー
画像形成装置、画像形成方法、およびプログラム
29日前
株式会社リコー
モノクロ用光走査装置及びモノクロ画像形成装置
8日前
株式会社リコー
表示装置、表示方法、プログラム、表示システム
23日前
続きを見る
他の特許を見る