TOP
|
特許
|
意匠
|
商標
特許ウォッチ
Twitter
他の特許を見る
10個以上の画像は省略されています。
公開番号
2025152967
公報種別
公開特許公報(A)
公開日
2025-10-10
出願番号
2024055179
出願日
2024-03-29
発明の名称
ノード、データ共有方法、及びプログラム
出願人
株式会社リコー
,
日本碍子株式会社
,
恵那電力株式会社
代理人
個人
,
個人
主分類
G06Q
50/06 20240101AFI20251002BHJP(計算;計数)
要約
【課題】本開示は、蓄電池を用いる場合であっても、ブロックチェーンネットワークを利用した電力の取引を柔軟に行うことを目的とする。
【解決手段】本開示は、電力の生産から消費までの電力取引に関し、ブロックチェーンネットワークにおいて、前記生産された電力の電力量を示す第1の電力量データ及び前記消費された電力の電力量を示す第1の消費量データを共有するノードであって、前記電力取引に蓄電池を用いる場合、前記蓄電池への充電を前記消費として扱うことで、前記充電に伴い前記消費した電力の電力量を示す第2の消費量データを生成する処理を行うデータ処理部と、前記ブロックチェーンネットワークにおける他のノードに、前記第2の消費量データを送信する送信部と、を有するノードである。
【選択図】図3
特許請求の範囲
【請求項1】
電力の生産から消費までの電力取引に関し、ブロックチェーンネットワークにおいて、前記生産された電力の電力量を示す第1の電力量データ及び前記消費された電力の電力量を示す第1の消費量データを共有するノードであって、
前記電力取引に蓄電池を用いる場合、前記蓄電池への充電を前記消費として扱うことで、前記充電に伴い前記消費した電力の電力量を示す第2の消費量データを生成する処理を行うデータ処理部と、
前記ブロックチェーンネットワークにおける他のノードに、前記第2の消費量データを送信する送信部と、
を有するノード。
続きを表示(約 1,400 文字)
【請求項2】
請求項1に記載のノードであって、
前記データ処理部は、前記充電に伴い、前記蓄電池に蓄電されたの電力量を示す蓄電量データを更新し、
前記送信部は、前記ブロックチェーンネットワークにおける他のノードに、更新後の前記蓄電量データを送信する、
ノード。
【請求項3】
前記蓄電量データは、電力の生産方法の種類を含み、前記更新後の蓄電量データでは、前記種類が未定義である、請求項2に記載のノード。
【請求項4】
前記データ処理部は、前記電力取引を仲介する仲介者システムによって前記電力の需給調整が行われた際に割り当てられた所定の生産方法の種類に基づき、前記更新後の蓄電量データにおける前記未定義の種類を前記所定の生産方法の種類として定義することで、前記更新後の蓄電量データを再更新し、
前記送信部は、前記他のノードに、再更新後の前記蓄電量データを送信する、
請求項3に記載のノード。
【請求項5】
前記生産方法の種類は、所定の種類の資源を利用して前記電力を生産することを示す、請求項3に記載のノード。
【請求項6】
再更新後の前記蓄電量データは、電力の生産方法の種類を含み、前記電力取引を仲介する仲介者システムによって前記電力の需給調整が行われた際に割り当てられた所定の生産方法の種類に基づき、電力の生産方法の種類が前記所定の生産方法の種類に定義されている、請求項4に記載のノード。
【請求項7】
前記データ処理部は、前記蓄電池からの放電を前記生産として扱うことで、前記放電に伴い前記生産した電力の電力量を示す第2の電力量データを生成する処理を行い、
前記送信部は、前記他のノードに、前記第2の電力量データを送信する、
請求項1乃至6のいずれか一項に記載のノード。
【請求項8】
前記データ処理部は、前記蓄電池からの放電を前記生産として扱うことで、前記放電に伴い前記生産した電力の電力量を示す第2の電力量データを生成する処理を行い、前記放電に伴い再更新後の前記蓄電量データを再更新し、
前記送信部は、前記他のノードに、前記第2の電力量データを送信し、再々更新した前記蓄電量データを送信する、
請求項6に記載のノード。
【請求項9】
電力の生産から消費までの電力取引に関し、ブロックチェーンネットワークにおいて、前記生産された電力の電力量を示す第1の電力量データ及び前記消費された電力の電力量を示す第1の消費量データを共有するノードが実行するデータ共有方法であって、
前記電力取引に蓄電池を用いる場合、前記ノードは、
前記蓄電池への充電を前記消費として扱うことで、前記充電に伴い前記消費した電力の電力量を示す第2の消費量データを生成し、
前記ブロックチェーンネットワークにおける他のノードに、前記第2の消費量データを送信し、
前記蓄電池からの放電を前記生産として扱うことで、前記放電に伴い前記生産した電力の電力量を示す第2の電力量データを生成し、
前記他のノードに、前記第2の電力量データを送信する、
データ共有方法。
【請求項10】
コンピュータに、請求項9に記載の方法を実行させるプログラム。
発明の詳細な説明
【技術分野】
【0001】
本開示は、ノード、データ共有方法、及びプログラムに関する。
続きを表示(約 2,900 文字)
【背景技術】
【0002】
近年、再生可能エネルギーによって生産された電力が注目されている。この電力は、太陽光、太陽熱、風力、バイオマス、地熱、水力、大気中の熱等の再生可能エネルギーである資源を利用することで生産される。再生可能エネルギーによる発電は、石油、石炭、液化天然ガス等の化石燃料による発電に比べて、地球温暖化の原因となっているCO
2
をほとんど排出しないため、電力の生産に利用される資源の中でも、再生可能エネルギーは環境に優しいエネルギー資源である。このような環境に優しいグリーン電力を利用して工場などを稼働させることで、企業価値を向上させることができる。また、再生可能エネルギー等によって生産された電力の取引にブロックチェーンを利用する方法がある(特許文献1参照)。ブロックチェーンは、分散型台帳と呼ばれ、複数のノード(コンピュータ)によって電力等のアセットの取引履歴を示す複数の台帳を紐づけることにより、取引履歴のデータの改ざんを防ぐことができる技術である。
【0003】
また、近年、新電力の自由化に伴い、様々な電力の小売事業者が新設されている。このような新電力会社の多くは、電力の調達手段を自前で持たず、日本卸電力取引所(JEPX)から消費量予測に相当する電力だけ買い付けるなどの方法で電力の調達を行うことが多い。一方で、脱炭素の流れが世界的に進む中で、エネルギー供給構造高度化法に伴い、電力の小売事業者は再生可能エネルギーによって生産される電力の割合を2030年度までに44%以上にまで増やすことが求められている。このような流れの中で、小売事業者の多くが太陽光等の再生可能エネルギーの自前電源等、再生可能エネルギーを調達する手段を確保する必要性が生じている。
【0004】
ところが、太陽光による発電は夜には行えない、風力による発電は風が強いや風が吹かない日には行えない等の問題があり、再生可能エネルギー由来の電力の供給は不安定である。そのため、再生可能エネルギー由来の電力を、社会基盤を支えるための基底電力にするには安定性が不足しているという欠点がある。それを補うための方法として、蓄電池を有効に利用することが検討されており、昼間等の余剰な電力を蓄電池に充電し、夜等の供給が足りない時に放電することで、再生可能エネルギー由来の電力の供給安定化を図ることが検討されている。
【発明の概要】
【発明が解決しようとする課題】
【0005】
しかしながら、電力の取引にブロックチェーンネットワークを利用する場合、従来から取引されている電力と、新たに蓄電池に充電又は蓄電池から放電する電力との関係を紐づけなければ、ブロックチェーンを利用した電力の取引を柔軟に行うことができないという課題が生じる。
【0006】
本開示は上述の事情に鑑みてなされたもので、蓄電池を用いる場合であっても、ブロックチェーンネットワークを利用した電力の取引を柔軟に行うことを目的とする。
【課題を解決するための手段】
【0007】
本開示は、電力の生産から消費までの電力取引に関し、ブロックチェーンネットワークにおいて、前記生産された電力の電力量を示す第1の電力量データ及び前記消費された電力の電力量を示す第1の消費量データを共有するノードであって、前記電力取引に蓄電池を用いる場合、前記蓄電池への充電を前記消費として扱うことで、前記充電に伴い前記消費した電力の電力量を示す第2の消費量データを生成する処理を行うデータ処理部と、前記ブロックチェーンネットワークにおける他のノードに、前記第2の消費量データを送信する送信部と、を有するノードである。
【発明の効果】
【0008】
以上説明したように本開示によれば、蓄電池を用いる場合であっても、ブロックチェーンを利用した電力の取引を柔軟に行うことができるという効果を奏する。
【図面の簡単な説明】
【0009】
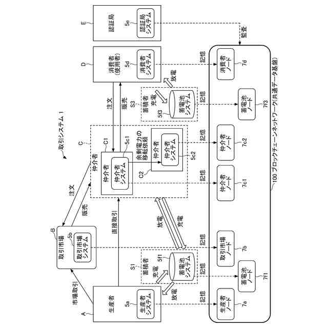
図1は、本実施形態に係る取引システムの概略図である。
図2は、各システム及び各ノードの電気的なハードウェア構成図である。
図3は、取引システムの各機能構成図である。
図4は、蓄電施設データにおけるデータ構造の各フィールドの説明を示す図である。
図5は、電力量データにおけるデータ構造の各フィールドの説明を示す図である。
図6は、消費量におけるデータのデータ構造の各フィールドの説明を示す図である。
図7は、蓄積量データにおけるデータ構造の各フィールドの説明を示す図である。
図8は、蓄電施設の登録処理を示すフローチャートである。
図9は、蓄電施設の登録処理における入力データのデータ構造の例を示す図である。
図10は、蓄電施設の登録処理における蓄積施設データのデータ構造の例を示す図である。
図11は、蓄電施設の登録処理における蓄電量データのデータ構造の例を示す図である。
図12は、電力に関して、電力量、蓄電量、及び消費量の関係を示す図である。
図13は、充電を消費として扱う場合の充電処理を示すシーケンス図である。
図14は、充電処理を示すフローチャートである。
図15は、充電処理における入力データのデータ構造の例を示す図である。
図16は、充電処理における更新前及び更新後の蓄積量データのデータ構造の例を示す図である。
図17は、充電処理において生成された消費量データのデータ構造の例を示す図である。
図18は、未定義(未割当)の蓄積量に再生可能エネルギー又は非再生可能エネルギーの種別を割り当てる処理を示すシーケンス図である。
図19は、割当処理を示すフローチャートである。
図20は、割当処理における入力データのデータ構造の例を示す図である。
図21は、割当処理における更新前及び更新後の蓄積量データのデータ構造の例を示す図である。
図22は、割当処理における更新前及び更新後の電力量データのデータ構造の例を示す図である。
図23は、割当処理における更新前及び更新後の消費量データのデータ構造の例を示す図である。
図24は、放電を生産として扱う場合の放電処理を示すシーケンス図である。
図25は、放電処理を示すフローチャートである。
図26は、放電処理における入力データのデータ構造の例を示す図である。
図27は、放電処理における更新前及び更新後の蓄積量データのデータ構造の例を示す図である。
図28は、放電処理において生成された電力量データのデータ構造の例を示す図である。
【発明を実施するための形態】
【0010】
以下に図面を用いて、本実施形態を詳細に説明する。
(【0011】以降は省略されています)
この特許をJ-PlatPat(特許庁公式サイト)で参照する
関連特許
株式会社リコー
移動体
27日前
株式会社リコー
画像形成装置
13日前
株式会社リコー
画像形成装置
5日前
株式会社リコー
画像形成装置
5日前
株式会社リコー
画像形成装置
8日前
株式会社リコー
機器及び異常判定方法
13日前
株式会社リコー
画像形成装置及びシステム
11日前
株式会社リコー
定着装置、及び画像形成装置
13日前
株式会社リコー
延長トレイ及び画像形成装置
8日前
株式会社リコー
画像読取装置及び画像読取方法
7日前
株式会社リコー
表示装置、切替方法、プログラム
18日前
株式会社リコー
媒体処理装置及び画像形成システム
8日前
株式会社リコー
加熱装置、定着装置、画像形成装置
今日
株式会社リコー
樹脂粒子、及び樹脂粒子の製造方法
5日前
株式会社リコー
シート給送装置及び画像形成システム
14日前
株式会社リコー
通信装置、通信方法、及びプログラム
11日前
株式会社リコー
加熱装置、定着装置及び画像形成装置
12日前
株式会社リコー
通信端末、通信方法、及びプログラム
11日前
株式会社リコー
読取装置、読取方法およびプログラム
8日前
株式会社リコー
光源装置、画像投影装置および調整方法
18日前
株式会社リコー
通信装置、状態制御方法、及びプログラム
14日前
株式会社リコー
ノード、データ共有方法、及びプログラム
25日前
株式会社リコー
画像形成装置、情報処理方法及びプログラム
11日前
株式会社リコー
画像形成装置、及び、プロセスカートリッジ
18日前
株式会社リコー
画像読取装置、画像判定方法およびプログラム
11日前
株式会社リコー
画像形成装置、画像処理方法およびプログラム
6日前
株式会社リコー
画像形成装置、情報処理方法およびプログラム
12日前
株式会社リコー
モノクロ用光走査装置及びモノクロ画像形成装置
11日前
株式会社リコー
表示装置、表示方法、プログラム、表示システム
26日前
株式会社リコー
表示装置、表示方法、プログラム、表示システム
今日
株式会社リコー
対話装置、対話システム、対話方法及びプログラム
25日前
株式会社リコー
画像読取装置、用紙斜行防止装置及び画像形成装置
6日前
株式会社リコー
情報処理システム、情報処理装置および情報処理方法
25日前
株式会社リコー
情報処理装置、情報処理システムおよび情報処理方法
25日前
株式会社リコー
電気機器、画像形成装置、制御方法、及びプログラム
21日前
株式会社リコー
情報処理装置、設定システム、プログラム、情報処理方法
5日前
続きを見る
他の特許を見る