TOP
|
特許
|
意匠
|
商標
特許ウォッチ
Twitter
他の特許を見る
10個以上の画像は省略されています。
公開番号
2025159528
公報種別
公開特許公報(A)
公開日
2025-10-21
出願番号
2024062159
出願日
2024-04-08
発明の名称
通信装置、状態制御方法、及びプログラム
出願人
株式会社リコー
代理人
個人
,
個人
主分類
H04L
69/00 20220101AFI20251014BHJP(電気通信技術)
要約
【課題】USBインタフェースを介して他の装置と通信する通信装置において、通信が行われていないときの装置の消費電力を低減する。
【解決手段】通信装置は、USBインタフェースを有するUSBデバイスを備え、前記USBインタフェースを介して他の装置と通信可能な通信装置であって、前記USBデバイスの動作状態を管理するUSB状態管理部と、前記通信装置の電源状態を管理する電源状態管理部と、前記USBデバイスが前記他の装置との通信を休止している動作状態が所定の時間継続した場合、前記通信装置を現在の電源状態より消費電力が少ない電源状態への移行を制御する状態制御処理を実行するシステム制御部と、を有する。
【選択図】図2
特許請求の範囲
【請求項1】
USBインタフェースを有するUSBデバイスを備え、前記USBインタフェースを介して他の装置と通信可能な通信装置であって、
前記USBデバイスの動作状態を管理するUSB状態管理部と、
前記通信装置の電源状態を管理する電源状態管理部と、
前記USBデバイスが前記他の装置との通信を休止している動作状態が所定の時間継続した場合、前記通信装置を現在の電源状態より消費電力が少ない電源状態への移行を制御する状態制御処理を実行するシステム制御部と、
を有する、通信装置。
続きを表示(約 1,300 文字)
【請求項2】
前記システム制御部は、前記現在の電源状態が、通常動作が可能な通常状態より消費電力が少ない省電力状態であるときに、前記状態制御処理を実行する、請求項1に記載の通信装置。
【請求項3】
前記システム制御部は、前記USBインタフェースにケーブルが接続されているときに、前記状態制御処理を実行する、請求項2に記載の通信装置。
【請求項4】
前記現在の電源状態より消費電力が少ない電源状態は、電源オフ状態を含む、請求項1乃至3のいずれか一項に記載の通信装置。
【請求項5】
前記通信装置は、前記USBインタフェースとは異なる通信インタフェースを備え、
前記システム制御部は、前記通信インタフェースが無効である場合、前記状態制御処理を実行する、請求項1乃至3のいずれか一項に記載の通信装置。
【請求項6】
前記現在の電源状態より消費電力が少ない電源状態は、前記USBインタフェース、又は前記通信インタフェースにケーブルが接続されたときに、前記現在の電源状態に復帰する機能が有効な電源状態を含む、請求項5に記載の通信装置。
【請求項7】
前記現在の電源状態より消費電力が少ない電源状態は、前記USBインタフェースに接続されたケーブルの抜去検知機能が有効な電源状態を含む、請求項5に記載の通信装置。
【請求項8】
前記通信装置の電源状態は、通常動作が可能な通常状態より消費電力が少ない第1の省電力状態と、前記第1の省電力状態より消費電力が少なく、前記通信装置に接続されたケーブルの接続状態を検知可能な第2の省電力状態とを含み、
前記システム制御部は、前記第1の省電力状態において、前記USBデバイスが他の装置との通信を休止している動作状態が所定の期間継続した場合、前記通信装置を前記第2の省電力状態に移行させる、
請求項1に記載の通信装置。
【請求項9】
USBインタフェースを有するUSBデバイスを備え、前記USBインタフェースを介して他の装置と通信可能な通信装置が、
前記USBデバイスの動作状態を管理する処理と、
前記通信装置の電源状態を管理する処理と、
前記USBデバイスが前記他の装置との通信を休止している動作状態が所定の時間継続した場合、前記通信装置を現在の電源状態より消費電力が少ない電源状態への移行を制御する状態制御処理と、
を実行する、状態制御方法。
【請求項10】
USBインタフェースを有するUSBデバイスを備え、前記USBインタフェースを介して他の装置と通信可能な通信装置に、
前記USBデバイスの動作状態を管理する処理と、
前記通信装置の電源状態を管理する処理と、
前記USBデバイスが前記他の装置との通信を休止している動作状態が所定の時間継続した場合、前記通信装置を現在の電源状態より消費電力が少ない電源状態への移行を制御する状態制御処理と、
を実行させる、プログラム。
発明の詳細な説明
【技術分野】
【0001】
本発明は、通信装置、状態制御方法、及びプログラムに関する。
続きを表示(約 1,600 文字)
【背景技術】
【0002】
省電力モード中にネットワークポートを監視し、一定時間ネットワークが切断されていた場合、電力消費を抑制するために主電源をオフにする装置がある。
【0003】
また、通信ケーブルが意図せずに抜けてしまった場合に、電源がオフとなり、ユーザーの使い勝手が損なわれることを防ぐために、対向機との通信の接続、切断を物理層の電源周りで判断する技術が知られている(例えば、特許文献1参照)。
【発明の概要】
【発明が解決しようとする課題】
【0004】
しかし、例えば、特許文献1に示されるような従来の技術では、物理レイヤ(例えば、電源周り)で通信状態である場合、上位レイヤで通信を行っていない場合でも、装置の電源をオフすること等により、装置の消費電力を低減することができないという課題がある。
【0005】
本発明の一実施形態は、上記の課題に鑑みてなされたものであって、USBインタフェースを介して他の装置と通信する通信装置において、通信が行われていないときの通信装置の消費電力を低減する。
【課題を解決するための手段】
【0006】
上記の課題を解決するため、本発明の一実施形態に係る通信装置は、USBインタフェースを有するUSBデバイスを備え、前記USBインタフェースを介して他の装置と通信可能な通信装置であって、前記USBデバイスの動作状態を管理するUSB状態管理部と、前記通信装置の電源状態を管理する電源状態管理部と、前記USBデバイスが前記他の装置との通信を休止している動作状態が所定の時間継続した場合、前記通信装置を現在の電源状態より消費電力が少ない電源状態への移行を制御する状態制御処理を実行するシステム制御部と、を有する。
【発明の効果】
【0007】
本発明の一実施形態によれば、USBインタフェースを介して他の装置と通信する通信装置において、通信が行われていないときの通信装置の消費電力を低減することができる。
【図面の簡単な説明】
【0008】
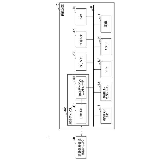
一実施形態に係る通信システムの構成例を示す図である。
一実施形態に係る通信装置の機能構成の例を示す図である。
USB通信のレイヤ構成について説明するための図である。
一実施形態に係るUSBデバイスの機能レイヤについて説明するための図である。
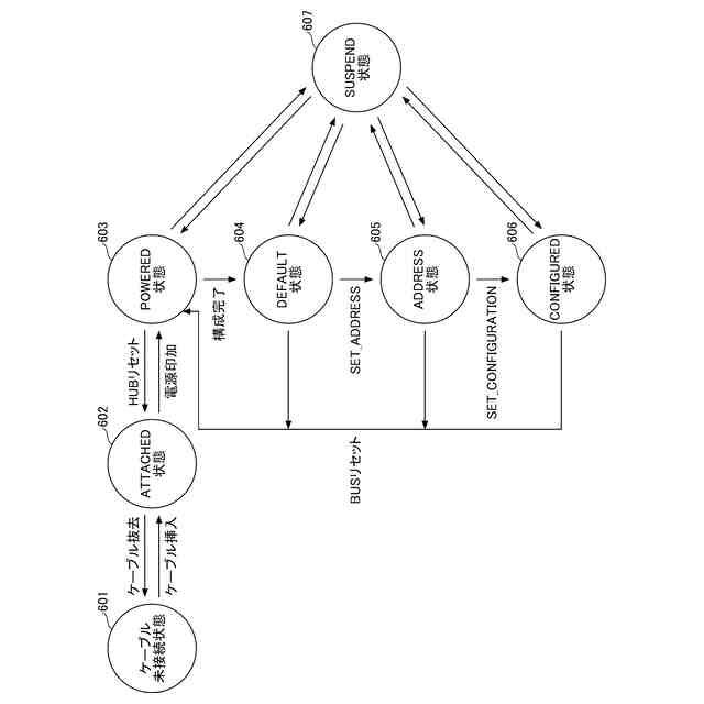
第1の実施形態に係る通信装置の状態遷移の例を示す図である。
第1の実施形態に係る通USBデバイスの状態遷移の例を示す図である。
サスペンド状態への移行処理について説明するための図(USB 2.0)である。
サスペンド状態への移行処理について説明するための図(USB 3.0)である。
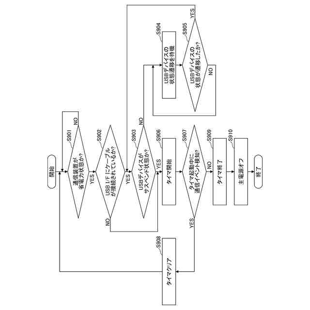
第1の実施形態に係る状態制御処理の例を示すフローチャートである。
第2の実施形態に係る通信装置の状態遷移の例を示す図である。
第2の実施形態に係る通USBデバイスの状態遷移の例を示す図である。
第2の実施形態に係る状態制御処理の例を示すフローチャート(1)である。
第2の実施形態に係る状態制御処理の例を示すフローチャート(2)である。
【発明を実施するための形態】
【0009】
以下、本発明の実施形態について、図面を参照しながら詳細に説明する。
【0010】
<システム構成>
図1は、一実施形態に係る通信システムの構成例を示す図である。通信システム1は、USBインタフェースを有するUSBデバイスを備え、USBインタフェースを介して、USBホストの機能を有する他の装置と通信可能な通信装置10を有する。
(【0011】以降は省略されています)
この特許をJ-PlatPat(特許庁公式サイト)で参照する
関連特許
株式会社リコー
移動体
1か月前
株式会社リコー
画像形成装置
18日前
株式会社リコー
画像形成装置
26日前
株式会社リコー
画像形成装置
18日前
株式会社リコー
画像形成装置
21日前
株式会社リコー
服薬支援装置
3日前
株式会社リコー
画像形成装置
12日前
株式会社リコー
画像形成装置
3日前
株式会社リコー
機器及び異常判定方法
26日前
株式会社リコー
画像形成装置、及び、機器
11日前
株式会社リコー
画像形成装置及びシステム
24日前
株式会社リコー
延長トレイ及び画像形成装置
21日前
株式会社リコー
光走査装置及び画像形成装置
10日前
株式会社リコー
定着装置、及び画像形成装置
26日前
株式会社リコー
シート供給装置、画像形成装置
10日前
株式会社リコー
画像読取装置及び画像読取方法
20日前
株式会社リコー
画像形成装置及び異常判定方法
3日前
株式会社リコー
画像形成装置および画像形成方法
3日前
株式会社リコー
表示装置、切替方法、プログラム
1か月前
株式会社リコー
媒体処理装置及び画像形成システム
21日前
株式会社リコー
加熱搬送装置、及び、画像形成装置
11日前
株式会社リコー
樹脂粒子、及び樹脂粒子の製造方法
18日前
株式会社リコー
加熱装置、定着装置、画像形成装置
13日前
株式会社リコー
通信端末、通信方法、及びプログラム
24日前
株式会社リコー
通信装置、通信方法、及びプログラム
24日前
株式会社リコー
加熱装置、定着装置及び画像形成装置
25日前
株式会社リコー
シート給送装置及び画像形成システム
27日前
株式会社リコー
読取装置、読取方法およびプログラム
21日前
株式会社リコー
樹脂粒子、トナー、及び、画像形成装置
10日前
株式会社リコー
光源装置、画像投影装置および調整方法
1か月前
株式会社リコー
通信装置、状態制御方法、及びプログラム
27日前
株式会社リコー
ノード、データ共有方法、及びプログラム
1か月前
株式会社リコー
画像形成装置、及び、プロセスカートリッジ
1か月前
株式会社リコー
画像形成装置、情報処理方法及びプログラム
24日前
株式会社リコー
画像読取装置、画像判定方法およびプログラム
24日前
株式会社リコー
情報処理装置、情報処理方法およびプログラム
10日前
続きを見る
他の特許を見る