TOP
|
特許
|
意匠
|
商標
特許ウォッチ
Twitter
他の特許を見る
公開番号
2025176890
公報種別
公開特許公報(A)
公開日
2025-12-05
出願番号
2024083269
出願日
2024-05-22
発明の名称
撮像装置
出願人
キヤノン株式会社
代理人
個人
主分類
H04N
23/52 20230101AFI20251128BHJP(電気通信技術)
要約
【課題】撮像素子からの熱を十分に冷却しつつ可動部の駆動制御性を阻害しない撮像装置を提供する。
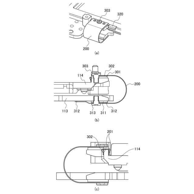
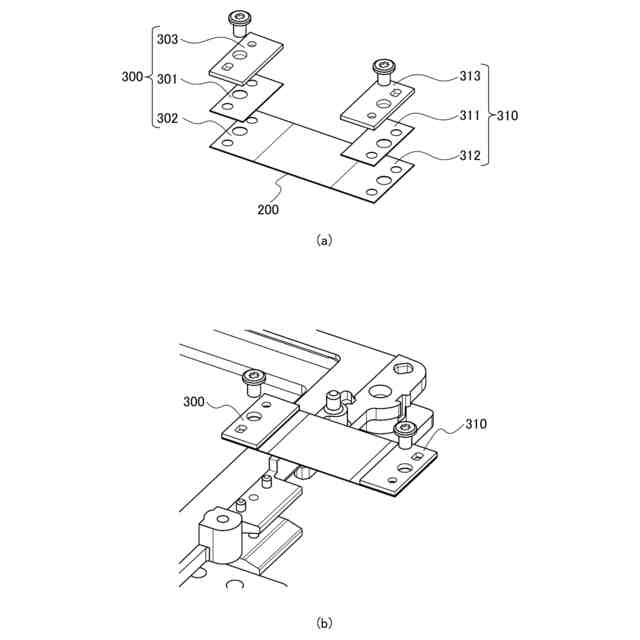
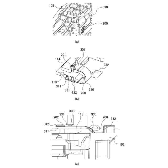
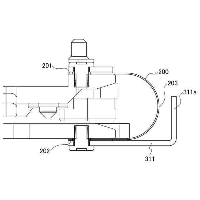
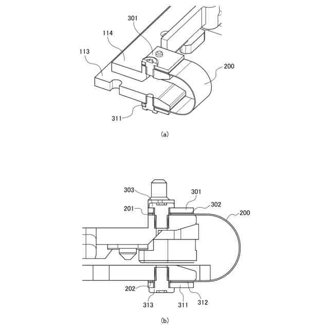
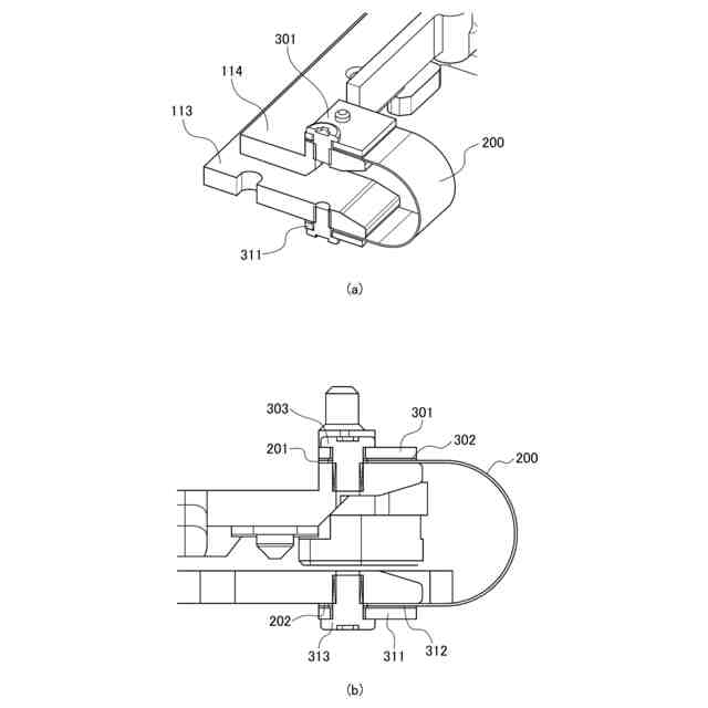
【解決手段】撮像素子を保持する可動部114と、可動部114を光軸方向と垂直な方向に可動に固定する固定部113を有する撮像装置であって、可動部114と固定部を繋ぐ放熱部材200と、放熱部材200と一体に保持される第1保持板(301)と、放熱部材200と一体に保持される第2保持板(311)とを備え、第1保持板は可動部114に固定されるとともに第2保持板は固定部に固定され、第1保持板および第2保持板の前記の固定は光軸方向において行われる構成であることを特徴とする。
【選択図】 図4
特許請求の範囲
【請求項1】
撮像素子を保持する可動部と、当該可動部を光軸方向と垂直な方向に可動に固定する固定部を有する撮像装置であって、
前記可動部と前記固定部を繋ぐ放熱部材と、
前記放熱部材と一体に保持される第1保持板と、
前記放熱部材と一体に保持され前記第1保持板とは異なる第2保持板とを備え、
前記第1保持板は前記可動部に固定されるとともに前記第2保持板は前記固定部に固定され、
前記第1保持板および前記第2保持板の前記固定は前記光軸方向において行われる構成であることを特徴とする撮像装置。
続きを表示(約 900 文字)
【請求項2】
前記第1保持板と前記可動部とを固定する可動側固定部材と、前記第2保持板と前記固定部とを固定する固定側固定部材とを更に備え、
前記可動側固定部材は撮像素子の受光面側から取り付けられるとともに前記固定側固定部材は前記受光面側とは反対側から取り付けられる構成であることを特徴とする請求項1に記載の撮像装置。
【請求項3】
前記第1保持板と前記第2保持板の距離は、前記固定部と前記可動部の距離に前記可動部の可動距離を加えた長さより長いことを特徴とする請求項1または2に記載の撮像装置。
【請求項4】
前記第1保持板と前記第2保持板の材質は磁化していない金属板であることを特徴とする請求項1または2に記載の撮像装置。
【請求項5】
前記放熱部材は複数取り付けられていることを特徴とする請求項1または2に記載の撮像装置。
【請求項6】
前記放熱部材の一部は前記可動部と直接接触していることを特徴とする請求項1または2に記載の撮像装置。
【請求項7】
前記固定部と当該固定部の近傍に配置されたベース部を繋ぐ第2放熱部材を更に備え、
前記可動部と前記ベース部が光軸方向に重畳しない領域において、前記ベース部と前記第2放熱部材が熱接続していることを特徴とする請求項1または2に記載の撮像装置。
【請求項8】
前記固定部と前記放熱部材と前記第2放熱部材とは光軸方向に重畳した領域の少なくとも一部で熱接続していることを特徴とする請求項7に記載の撮像装置。
【請求項9】
前記放熱部材と前記可動部を固定する可動側固定部材との近傍に把持部材を更に備えたことを特徴とする請求項1または2に記載の撮像装置。
【請求項10】
前記第2保持板が光軸方向に折り曲げられた折り曲げ部を更に備え、
光軸方向距離を高さと定義して、前記折り曲げ部の高さはU字状になっている前記放熱部材の最も凸の部位である最凸部よりも高いことを特徴とする請求項1または2に記載の撮像装置。
発明の詳細な説明
【技術分野】
【0001】
本発明は像振れ補正機構を備え放熱機能を有する撮像装置に関する。
続きを表示(約 1,600 文字)
【背景技術】
【0002】
デジタルスチルカメラ、ビデオカメラ等の撮像装置には被写体像を撮像するためのCMOSセンサ、CCDセンサ等の撮像素子や回路基板に実装されたCPU、IC等の電子素子が搭載されておりこれらは熱を発生する。撮像素子、電子素子の温度が過度に上昇するとこれらの性能が低下したり誤作動が生じたりして良好な撮像ができなくなる虞がある。また、近年、画質向上を図るために撮像素子を光軸方向に直交する方向へ移動させて「像振れ補正」を行う撮像装置が普及している。
【0003】
このような像振れ補正を行う撮像装置においても、像振れ補正機構の駆動時、連写撮影時、動画撮影時に撮像素子において発生する熱が画質に影響を及ぼすため十分な放熱性が確保される必要がある。特許文献1は像振れ補正機構の可動部と固定部を接続する屈曲可能な放熱部材の厚みを光軸方向と直交する方向にすることで像振れ補正機構に掛かる負荷を低減した装置を開示している。また、特許文献2は放熱部材を装置底面の板金に接続することで放熱する撮像装置を開示している。
【先行技術文献】
【特許文献】
【0004】
WO2020/202811号公報
特開2012-28940号公報
【発明の概要】
【発明が解決しようとする課題】
【0005】
しかしながら、上述した特許文献1が開示した従来技術にあっては、放熱部材の固定位置が開示されておらず、放熱部材の反発力と放熱部材の固定方向が異なる場合には装置組立時に放熱部材の固定が難しいという課題があった。また、特許文献2が開示した従来技術にあっては、放熱部材は撮像素子の裏面に小さな曲げ半径で熱接続されており、像振れ補正機構に適用した場合には制御負荷が増大するという課題があった。
【0006】
本発明は、かかる課題を鑑みてなされたものであり、撮像素子からの熱を十分に冷却しつつ可動部の駆動制御性を阻害せずに組立容易な撮像装置を提供することを目的とする。
【課題を解決するための手段】
【0007】
上記目的を達成するため、本発明の一態様は、撮像素子を保持する可動部と、当該可動部を光軸方向と垂直な方向に可動に固定する固定部を有する撮像装置であって、前記可動部と前記固定部を繋ぐ放熱部材と、前記放熱部材と一体に保持される第1保持板と、前記放熱部材と一体に保持され前記第1保持板とは異なる第2保持板とを備え、前記第1保持板は前記可動部に固定されるとともに前記第2保持板は前記固定部に固定され、前記第1保持板および前記第2保持板の前記固定は前記光軸方向において行われる構成であることを特徴とする。
【発明の効果】
【0008】
本発明によれば、撮像素子からの熱を十分に冷却しつつ可動部の駆動制御性を阻害せずに組立容易な撮像装置を提供できるという効果が得られる。
【図面の簡単な説明】
【0009】
デジタルカメラのブロック図である。
デジタルカメラの分解斜視図である。
撮像部の分解斜視図である。
デジタルカメラの要部の断面斜視図、断面図である。
デジタルカメラの要部の分解斜視図である。
変形例1の斜視図、断面図である。
変形例2の斜視図、断面斜視図、断面図である。
変形例3の断面図である。
【発明を実施するための形態】
【0010】
以下、本発明の実施形態について図面を参照しながら詳細に説明する。しかしながら、以下の実施形態に記載される構成はあくまで例示に過ぎず、本発明の範囲は実施形態に記載される構成によって限定されることはない。なお、以下に示す実施形態においては撮像装置の一例としてデジタルカメラ100を例に挙げて説明するが撮像装置はこれには限られない。
(【0011】以降は省略されています)
この特許をJ-PlatPat(特許庁公式サイト)で参照する
関連特許
キヤノン株式会社
容器
1か月前
キヤノン株式会社
容器
1か月前
キヤノン株式会社
トナー
28日前
キヤノン株式会社
トナー
1か月前
キヤノン株式会社
記録装置
28日前
キヤノン株式会社
表示装置
7日前
キヤノン株式会社
電子機器
28日前
キヤノン株式会社
記録装置
1日前
キヤノン株式会社
撮像装置
15日前
キヤノン株式会社
撮像装置
15日前
キヤノン株式会社
記録装置
1日前
キヤノン株式会社
表示装置
7日前
キヤノン株式会社
撮像装置
今日
キヤノン株式会社
撮像装置
今日
キヤノン株式会社
定着装置
15日前
キヤノン株式会社
現像装置
1か月前
キヤノン株式会社
電子機器
28日前
キヤノン株式会社
現像装置
1か月前
キヤノン株式会社
雲台装置
28日前
キヤノン株式会社
撮像装置
今日
キヤノン株式会社
二次電池
2日前
キヤノン株式会社
撮像装置
29日前
キヤノン株式会社
発光装置
7日前
キヤノン株式会社
撮像装置
7日前
キヤノン株式会社
記録装置
1か月前
キヤノン株式会社
撮像装置
7日前
キヤノン株式会社
表示装置
7日前
キヤノン株式会社
表示装置
1か月前
キヤノン株式会社
撮像装置
1か月前
キヤノン株式会社
撮影装置
1か月前
キヤノン株式会社
撮像装置
1か月前
キヤノン株式会社
撮像装置
9日前
キヤノン株式会社
測距装置
1か月前
キヤノン株式会社
定着装置
15日前
キヤノン株式会社
記録装置
1か月前
キヤノン株式会社
撮像装置
1か月前
続きを見る
他の特許を見る