TOP
|
特許
|
意匠
|
商標
特許ウォッチ
Twitter
他の特許を見る
10個以上の画像は省略されています。
公開番号
2025172474
公報種別
公開特許公報(A)
公開日
2025-11-26
出願番号
2024078001
出願日
2024-05-13
発明の名称
撮像装置
出願人
キヤノン株式会社
代理人
個人
,
個人
,
個人
主分類
G03B
17/56 20210101AFI20251118BHJP(写真;映画;光波以外の波を使用する類似技術;電子写真;ホログラフイ)
要約
【課題】撮像装置において、大型化することなく、回転軸に衝撃が与えられたときにエンコーダ用センサとエンコーダ用スケールが衝突することを抑制する。
【解決手段】撮像装置は、カメラユニットと、カメラユニットを支持する回転軸と、回転軸を回動可能な状態で保持するベースと、ベースに配置されたセンサ基板と、センサ基板に配置されたエンコーダ用センサと、エンコーダ用センサと対向した位置で回転軸に保持されるエンコーダ用スケールと、ベースと対向した位置で回転軸に保持される第1のストッパーとを備え、エンコーダ用センサとエンコーダ用スケール間の距離は、第1のストッパーとベース間の距離よりも大きいようにする。
【選択図】 図4A
特許請求の範囲
【請求項1】
カメラユニットと、
前記カメラユニットを支持する回転軸と、
前記回転軸を回動可能な状態で保持するベースと、
前記ベースに配置されたセンサ基板と、
前記センサ基板に配置されたエンコーダ用センサと、
前記エンコーダ用センサと対向した位置で前記回転軸に保持されるエンコーダ用スケールと、
前記ベースと対向した位置で前記回転軸に保持される第1のストッパーとを備え、
前記エンコーダ用センサと前記エンコーダ用スケール間の距離は、前記第1のストッパーと前記ベース間の距離よりも大きいことを特徴とする撮像装置。
続きを表示(約 1,000 文字)
【請求項2】
前記第1のストッパーと対向する位置にリブ形状の第2のストッパーが前記ベースに形成され、
前記エンコーダ用センサと前記エンコーダ用スケール間の距離は、前記第1のストッパーと前記第2のストッパー間の距離よりも大きいことを特徴とする請求項1記載の撮像装置。
【請求項3】
前記第2のストッパーは、前記エンコーダ用センサよりも前記回転軸を中心として外周側に位置していることを特徴とする請求項2記載の撮像装置。
【請求項4】
前記第1のストッパーは、前記回転軸に近づく方向に移動可能な状態で前記回転軸に対して固定されていることを特徴とする請求項1記載の撮像装置。
【請求項5】
前記第1のストッパーと前記回転軸の前記第1のストッパーと接する面との間に一つ以上のスペーサが配置されていることを特徴とする請求項4記載の撮像装置。
【請求項6】
カメラユニットと、
前記カメラユニットを支持する回転軸と、
前記回転軸を回動可能な状態で保持するベースと、
前記ベースに配置されたセンサ基板と、
前記センサ基板に配置されたエンコーダ用センサと、
前記エンコーダ用センサと対向した位置で前記回転軸に保持されるエンコーダ用スケールと、
前記回転軸に保持される第1のストッパーと、
前記第1のストッパーと対向した位置で前記ベースに保持される第2のストッパーとを備え、
前記エンコーダ用センサと前記エンコーダ用スケール間の距離は、前記第1のストッパーと前記第2のストッパー間の距離よりも大きいことを特徴とする撮像装置。
【請求項7】
前記第2のストッパーは前記エンコーダ用センサよりも前記回転軸を中心として外周側に位置していることを特徴とする請求項6記載の撮像装置。
【請求項8】
前記第1のストッパーは、前記回転軸に近づく方向に移動可能な状態で前記回転軸に対して固定されていることを特徴とする請求項7記載の撮像装置。
【請求項9】
前記第1のストッパーと前記回転軸の前記第1のストッパーと接する面との間に一つ以上のスペーサが配置されていることを特徴とする請求項8記載の撮像装置。
【請求項10】
前記センサ基板の前記エンコーダ用センサが配置された面と反対側の面と、前記ベースの間に空間が存在することを特徴とする請求項7記載の撮像装置。
(【請求項11】以降は省略されています)
発明の詳細な説明
【技術分野】
【0001】
本発明は、撮像装置に係り、特に、パンチルト動作のための回転軸にエンコーダを備えた監視カメラであって、衝撃が加わったときでも正確な角度でパンチルトの位置づけを行うのに好適な撮像装置に関する。
続きを表示(約 1,900 文字)
【背景技術】
【0002】
近年、監視カメラとして、パンチルトカメラが監視用途に広く用いられるようになっている。パンチルトカメラは、パン方向(水平方向)やチルト方向(垂直方向)に回転可能な機構を備えており、ユーザが指定したプリセット位置を自動で巡回する機能がある。プリセット位置の指定では、同じ回転角度に繰り返し戻ってくる指定がなされるが、駆動系のバックラッシ(歯車の不整合)により、監視カメラの停止角度がばらつき、撮影箇所がずれるため所望の画像が得られない怖れがある。そこで、高精度に繰り返し同じ回転角度に停止するために、回転角度の検出手段であるエンコーダが用いられる。エンコーダは、一対のエンコーダ用センサとエンコーダ用スケールを用い、エンコーダ用スケールを回転させたときに生じる物理量の変化をエンコーダ用センサで読み取ることにより角度情報を出力するものである。
【0003】
一方、監視現場において、撮影を阻害するためにカメラユニットに衝撃が与えられることがある。このとき、カメラユニットを保持している回転軸にも衝撃が伝わり、回転軸に瞬間的に位置ずれや変形が生じる。これに伴い、回転軸に取り付けたエンコーダ用スケールにも位置ずれが生じる。この位置ずれによって、エンコーダ用スケールが近接しているエンコーダ用センサに衝突し、両者またはいずれかが壊れて角度検出性能が損なわれる怖れがある。
【0004】
特許文献1に記載された車高検出センサでは、車体の上下動によって回転するロータに、マグネットが固定されており、ホールICによって回転速度を検出する。
特許文献1では、エンコーダ用センサから距離を離した位置にカバーを配置している。そのため、衝撃が与えられると、まず初めにカバーが衝撃を受け止める。衝撃によりカバーが変形しても、距離が離れているのでエンコーダ用センサにカバーが衝突しないようになっている。
【先行技術文献】
【特許文献】
【0005】
特開2015-137986号公報
【発明の概要】
【発明が解決しようとする課題】
【0006】
しかし、特許文献1のように、衝撃を別のカバーで受け止める構成の場合、撮像装置が大型化してしまう。
【0007】
本発明の目的は、大型化することなく、回転軸に衝撃が与えられたときにエンコーダ用センサとエンコーダ用スケールが衝突することを抑制することができる撮像装置を提供することにある。
【課題を解決するための手段】
【0008】
本発明の撮像装置は、カメラユニットと、カメラユニットを支持する回転軸と、回転軸を回動可能な状態で保持するベースと、ベースに配置されたセンサ基板と、センサ基板に配置されたエンコーダ用センサと、エンコーダ用センサと対向した位置で回転軸に保持されるエンコーダ用スケールと、ベースと対向した位置で回転軸に保持される第1のストッパーとを備え、エンコーダ用センサとエンコーダ用スケール間の距離は、第1のストッパーとベース間の距離よりも大きいようにしたものである。
【発明の効果】
【0009】
本発明によれば、大型化することなく、回転軸に衝撃が与えられたときにエンコーダ用センサとエンコーダ用スケールが衝突することを抑制することができる撮像装置を提供することができる。
【図面の簡単な説明】
【0010】
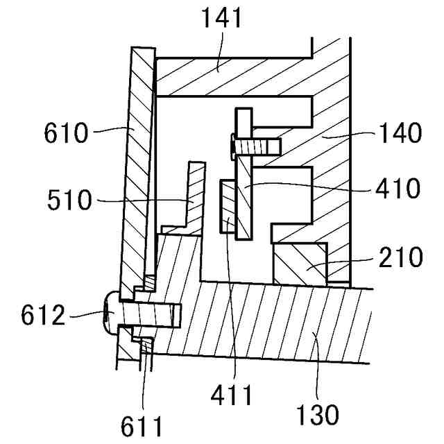
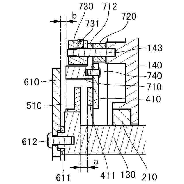
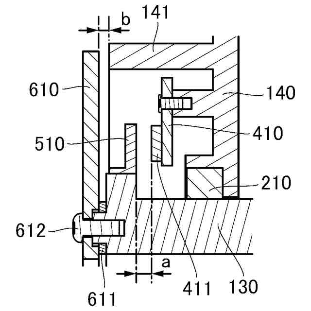
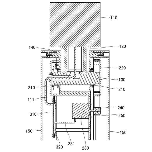
実施形態1に係る撮像装置の斜視図である。
チルト軸周辺の断面図である。
実施形態1の撮像装置におけるエンコーダ周辺の分解斜視図である。
実施形態1の撮像装置におけるチルト軸が傾いていないときのエンコーダ周辺の詳細断面図である。
実施形態1の撮像装置における外部からの衝撃などによってチルト軸が傾いたときのエンコーダ周辺の詳細断面図である。
実施形態2の撮像装置におけるエンコーダ周辺の分解斜視図である。
実施形態2の撮像装置におけるチルト軸が傾いていないときのエンコーダ周辺の詳細断面図である。
実施形態2の撮像装置における外部からの衝撃などによってチルト軸が傾いたときのエンコーダ周辺の詳細断面図である(その一)。
実施形態2の撮像装置における外部からの衝撃などによってチルト軸が傾いたときのエンコーダ周辺の詳細断面図である(その二)。
【発明を実施するための形態】
(【0011】以降は省略されています)
この特許をJ-PlatPat(特許庁公式サイト)で参照する
関連特許
キヤノン株式会社
容器
27日前
キヤノン株式会社
容器
1か月前
キヤノン株式会社
トナー
19日前
キヤノン株式会社
トナー
1か月前
キヤノン株式会社
トナー
1か月前
キヤノン株式会社
トナー
1か月前
キヤノン株式会社
トナー
1か月前
キヤノン株式会社
トナー
1か月前
キヤノン株式会社
電子機器
19日前
キヤノン株式会社
撮像装置
1か月前
キヤノン株式会社
記録装置
1か月前
キヤノン株式会社
撮像装置
1か月前
キヤノン株式会社
電子機器
14日前
キヤノン株式会社
撮像装置
19日前
キヤノン株式会社
雲台装置
19日前
キヤノン株式会社
撮影装置
1か月前
キヤノン株式会社
電子機器
19日前
キヤノン株式会社
記録装置
1か月前
キヤノン株式会社
記録装置
19日前
キヤノン株式会社
撮像装置
1か月前
キヤノン株式会社
記録装置
19日前
キヤノン株式会社
表示装置
27日前
キヤノン株式会社
定着装置
12日前
キヤノン株式会社
定着装置
1か月前
キヤノン株式会社
撮像装置
6日前
キヤノン株式会社
撮像装置
6日前
キヤノン株式会社
撮像装置
20日前
キヤノン株式会社
定着装置
6日前
キヤノン株式会社
撮像装置
1か月前
キヤノン株式会社
撮像装置
27日前
キヤノン株式会社
測距装置
21日前
キヤノン株式会社
撮像装置
1か月前
キヤノン株式会社
定着装置
12日前
キヤノン株式会社
現像装置
1か月前
キヤノン株式会社
現像容器
1か月前
キヤノン株式会社
現像装置
1か月前
続きを見る
他の特許を見る