TOP
|
特許
|
意匠
|
商標
特許ウォッチ
Twitter
他の特許を見る
公開番号
2025168777
公報種別
公開特許公報(A)
公開日
2025-11-12
出願番号
2024073521
出願日
2024-04-30
発明の名称
電子機器
出願人
キヤノン株式会社
代理人
個人
,
個人
,
個人
主分類
H04N
23/52 20230101AFI20251105BHJP(電気通信技術)
要約
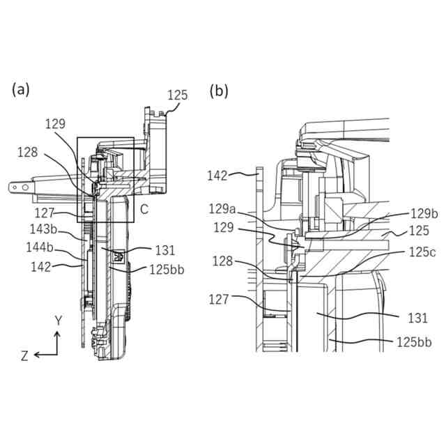
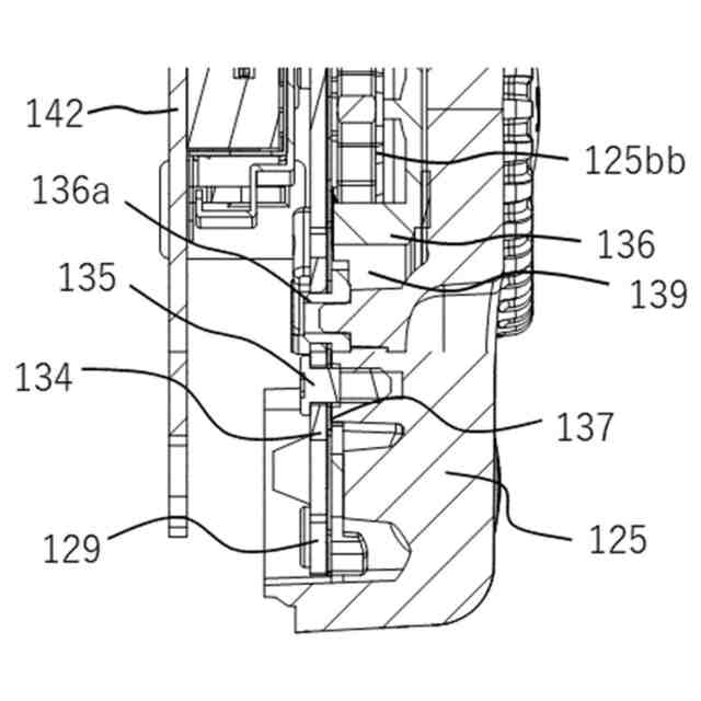
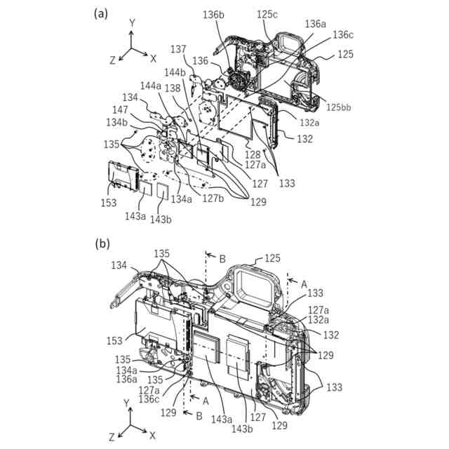
【課題】放熱部材から外装部材への熱伝達を抑制して外装部材の過度の温度上昇を回避する。
【解決手段】電子機器100は、電子部品143a、143bを内部に有する。電子部品で発生した熱が伝わる放熱部材127と、放熱部材を覆う外装部材125と、放熱部材を外装部材に接触させずに、外装部材に対する放熱部材の位置決めを行う位置決め構成129、128とを有する。
【選択図】図4
特許請求の範囲
【請求項1】
電子部品を内部に有する電子機器であって、
前記電子部品で発生した熱が伝わる放熱部材と、
前記放熱部材を覆う外装部材と、
前記放熱部材を前記外装部材に接触させずに、前記外装部材に対する前記放熱部材の位置決めを行う位置決め構成とを有することを特徴とする電子機器。
続きを表示(約 880 文字)
【請求項2】
前記位置決め構成は、前記放熱部材よりも熱伝導率が低い部材により構成されていることを特徴とする請求項1に記載の電子機器。
【請求項3】
前記位置決め構成は、前記放熱部材に固定される締結部材と、前記放熱部材と前記外装部材との間で弾性変形する弾性部材とを含み、
前記放熱部材と前記外装部材との組み付け方向において、前記放熱部材は、前記弾性部材の弾性力を受けて前記外装部材から離れた位置にて前記締結部材に設けられた受け部に接触することで該位置に位置決めされることを特徴とする請求項1に記載の電子機器。
【請求項4】
前記位置決め構成は、前記外装部材に固定され、前記放熱部材と前記外装部材との組み付け方向に直交する方向において前記放熱部材を前記外装部材に対して位置決めする樹脂部材を含むことを特徴とする請求項1に記載の電子機器。
【請求項5】
前記樹脂部材は、ユーザが操作する操作部を支持する部材であることを特徴とする請求項4に記載の電子機器。
【請求項6】
前記放熱部材と前記外装部材との間に、前記放熱部材を前記外装部材に接触させないように配置された中間部材を有することを特徴とする請求項1に記載の電子機器。
【請求項7】
前記中間部材は、前記放熱部材よりも熱伝導率が低い部材であることを特徴とする請求項6に記載の電子機器。
【請求項8】
前記中間部材は、樹脂シートまたはフレキシブル基板であることを特徴とする請求項6に記載の電子機器。
【請求項9】
前記放熱部材と前記外装部材との間に空間が形成されており、
前記放熱部材から前記空間内の空気に放熱させ、該空気を前記電子機器の外部に排出する構成を有することを特徴とする請求項1に記載の電子機器。
【請求項10】
前記外装部材の温度に応じて前記電子機器の動作を制限することを特徴とする請求項1に記載の電子機器。
(【請求項11】以降は省略されています)
発明の詳細な説明
【技術分野】
【0001】
本発明は、撮像装置等の電子機器に関する。
続きを表示(約 1,100 文字)
【背景技術】
【0002】
電子機器には、内部の電子部品が発生した熱による温度上昇を抑制する放熱構造が設けられている。特許文献1には、電子機器(撮像装置)内の電子部品から発生した熱を3系統の放熱経路で外装部材に伝達する放熱構造が開示されている。
【先行技術文献】
【特許文献】
【0003】
米国特許第10,133,158号明細書
【発明の概要】
【発明が解決しようとする課題】
【0004】
特許文献1に開示された放熱構造では、電子部品に熱的に接続された放熱部材と外装部材とが直接、機械結合されている。このため、外装部材に放熱部材からの熱が直接伝わり、外装部材の温度が過度に上昇するおそれがある。
【0005】
本発明は、放熱部材から外装部材への熱伝達を抑制することで外装部材の過度の温度上昇を回避できるようにした電子機器を提供する。
【課題を解決するための手段】
【0006】
本発明の一側面としての電子機器は、電子部品を内部に有し、該電子部品で発生した熱が伝わる放熱部材と、放熱部材を覆う外装部材と、放熱部材を外装部材に接触させずに、外装部材に対する放熱部材の位置決めを行う位置決め構成とを有することを特徴とする。
【発明の効果】
【0007】
本発明によれば、放熱板金から外装部材への熱伝導を抑制することで、外装部材の過度の温度上昇を回避することができる。
【図面の簡単な説明】
【0008】
実施例のカメラ本体の外観を示す斜視図。
実施例のカメラ本体の電気的構成を示すブロック図。
実施例のカメラ本体の内部構成を示す分解図および斜視図。
実施例のカメラ本体の断面図および部分拡大図。
実施例のカメラ本体の別の断面図および別の部分拡大図。
実施例のカメラ本体のさらに別の部分拡大図。
【発明を実施するための形態】
【0009】
以下、本発明の実施例について図面を参照しながら説明する。
【0010】
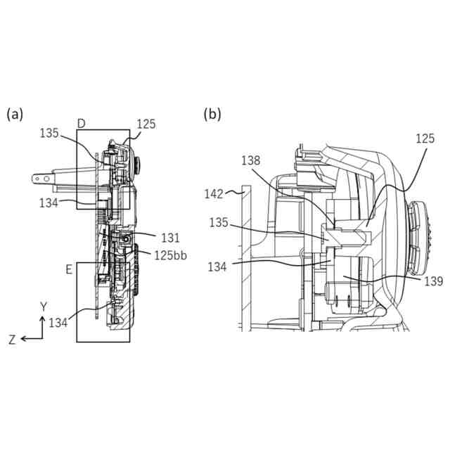
図1(a)、(b)は、実施例である電子機器としてのカメラ本体(撮像装置)100の外観を示している。図1(a)は斜め前側(被写体側)から見たカメラ本体100を示し、図1(b)は斜め背面側から見たカメラ本体100を示している。なお、図中に示すように、カメラ本体100の幅方向(左右方向)をX方向、高さ方向をY方向、撮像面に直交する方向である光軸方向(前後方向)をZ方向とする。
(【0011】以降は省略されています)
この特許をJ-PlatPat(特許庁公式サイト)で参照する
関連特許
キヤノン株式会社
トナー
6日前
キヤノン株式会社
記録装置
6日前
キヤノン株式会社
電子機器
6日前
キヤノン株式会社
撮像装置
1日前
キヤノン株式会社
記録装置
6日前
キヤノン株式会社
撮像装置
6日前
キヤノン株式会社
撮像装置
7日前
キヤノン株式会社
雲台装置
6日前
キヤノン株式会社
電子機器
6日前
キヤノン株式会社
電子機器
1日前
キヤノン株式会社
測距装置
8日前
キヤノン株式会社
液体収容体
8日前
キヤノン株式会社
画像形成装置
1日前
キヤノン株式会社
画像形成装置
1日前
キヤノン株式会社
画像形成装置
1日前
キヤノン株式会社
画像形成装置
7日前
キヤノン株式会社
光電変換装置
6日前
キヤノン株式会社
画像形成装置
9日前
キヤノン株式会社
液体攪拌装置
6日前
キヤノン株式会社
画像形成装置
8日前
キヤノン株式会社
画像形成装置
7日前
キヤノン株式会社
画像形成装置
1日前
キヤノン株式会社
画像形成装置
1日前
キヤノン株式会社
画像形成装置
7日前
キヤノン株式会社
画像処理装置
9日前
キヤノン株式会社
画像形成装置
7日前
キヤノン株式会社
情報処理装置
7日前
キヤノン株式会社
画像形成装置
6日前
キヤノン株式会社
画像形成装置
7日前
キヤノン株式会社
画像形成装置
6日前
キヤノン株式会社
画像形成装置
9日前
キヤノン株式会社
画像形成装置
6日前
キヤノン株式会社
画像形成装置
6日前
キヤノン株式会社
画像形成装置
7日前
キヤノン株式会社
画像形成装置
7日前
キヤノン株式会社
画像形成装置
8日前
続きを見る
他の特許を見る