TOP
|
特許
|
意匠
|
商標
特許ウォッチ
Twitter
他の特許を見る
10個以上の画像は省略されています。
公開番号
2025161096
公報種別
公開特許公報(A)
公開日
2025-10-24
出願番号
2024064010
出願日
2024-04-11
発明の名称
記録装置
出願人
キヤノン株式会社
代理人
弁理士法人秀和特許事務所
主分類
B41J
29/00 20060101AFI20251017BHJP(印刷;線画機;タイプライター;スタンプ)
要約
【課題】メンテナンスの作業性に優れた記録装置を提供する。
【解決手段】記録装置1は、記録媒体を搬送方向に搬送する第1搬送路と、第1搬送路によって搬送される記録媒体に処理を行う第1処理部とを有する第1処理筐体と、記録媒体を搬送方向に搬送する第2搬送路と、第2搬送路によって搬送される記録媒体に処理を行う第2処理部とを有する第2処理筐体と、第1処理部を制御するための第1電装部を有する第1電装筐体と、第2処理部を制御するための第2電装部を有する第2電装筐体と、を備え、第1電装筐体は第1処理筐体に対し搬送方向と交差する記録媒体の幅方向に分離可能に連結し、第2電装筐体は第1電装筐体と独立して第2処理筐体に対して幅方向に分離可能に連結する。
【選択図】図4
特許請求の範囲
【請求項1】
記録媒体を搬送方向に搬送する第1搬送路と、前記第1搬送路によって搬送される記録媒体に処理を行う第1処理部とを有する第1処理筐体と、
記録媒体を搬送方向に搬送する第2搬送路と、前記第2搬送路によって搬送される記録媒体に処理を行う第2処理部とを有する第2処理筐体と、
前記第1処理部を稼働するための第1電装部を有する第1電装筐体と、
前記第2処理部を稼働するための第2電装部を有する第2電装筐体と、
を備える記録装置であって、
前記第1電装筐体は前記第1処理筐体に対し前記搬送方向と交差する記録媒体の幅方向に分離可能に連結し、前記第2電装筐体は前記第1電装筐体と独立して前記第2処理筐体に対して前記幅方向に分離可能に連結することを特徴とする記録装置。
続きを表示(約 1,400 文字)
【請求項2】
前記第1電装部は、前記第1処理部の動作を制御する制御基板と、前記第1処理部の駆動源である電源と、を含むことを特徴とする請求項1に記載の記録装置。
【請求項3】
前記第1電装筐体は、前記制御基板を内部に収納する複数の基板収納部と、前記基板収納部の下方に位置し、前記電源を内部に収納する複数の電源収納部と、を含み、
前記第1電装筐体の内部に配置される複数の前記制御基板と複数の前記基板収納部の総重量は、前記第1電装筐体の内部に配置される複数の前記電源より軽いことを特徴とする請求項2に記載の記録装置。
【請求項4】
前記第1電装筐体は、開閉可能な開閉部材であって、前記基板収納部が設けられる開閉部材を有し、
前記第1電装筐体の前記幅方向の前記第1処理筐体側の端部には、前記第1電装筐体の内部と外部を連通する開口が形成されており、
前記開閉部材が閉じられている状態において前記幅方向に見たときに、前記基板収納部と前記開口と前記第1処理部は互いに重なる位置にあることを特徴とする請求項3に記載の記録装置。
【請求項5】
前記電源は、前記電源収納部から前記幅方向に引き出し可能に前記電源収納部に収納されていることを特徴とする請求項3に記載の記録装置。
【請求項6】
前記第1処理筐体は、前記第1処理部の排気を排出する排出口を有し、
前記第1電装筐体は、前記第1処理部の排気を前記排出口から回収して外部へと排出する排気路を有することを特徴とする請求項1に記載の記録装置。
【請求項7】
前記第1電装筐体は、外部から空気を取り込む取り込み口を有し、
前記第1電装筐体の内部には、前記第1電装部が配置され、前記取り込み口から空気が取り込まれる第1空間と、前記第1空間に対して仕切られた第2空間であって、前記排気路が配置された第2空間とが形成されていることを特徴とする請求項6に記載の記録装置。
【請求項8】
前記排気路を第1排気路としたとき、前記第1電装筐体は、前記第1電装部からの排気を回収して外部へと排気する第2排気路であって、前記第1空間と前記第2空間をまたがって形成された第2排気路を有することを特徴とする請求項7に記載の記録装置。
【請求項9】
前記第1処理筐体は、前記第1処理部の排気を排出する排出口を有し、
前記第1処理部の排気を前記排出口から回収して外部へと排出する排気路を有する排気筐体であって、前記幅方向において前記第1処理筐体と前記第1電装筐体との間に配置さ
れ、前記第1処理筐体に対し前記幅方向に分離可能に連結し、前記第1電装筐体に対し前記幅方向に分離可能に連結した排気筐体を備えることを特徴とする請求項1に記載の記録装置。
【請求項10】
前記第1処理筐体の前記幅方向の幅と前記第1電装筐体の前記幅方向の幅はそれぞれ1.1m未満であり、前記第1処理筐体の前記幅方向の幅と前記第1電装筐体の前記幅方向の幅の合計値は1.1m以上であり、
前記第2処理筐体の前記幅方向の幅と前記第2電装筐体の前記幅方向の幅はそれぞれ1.1m未満であり、前記第2処理筐体の前記幅方向の幅と前記第2電装筐体の前記幅方向の幅の合計値は1.1m以上であることを特徴とする請求項1に記載の記録装置。
(【請求項11】以降は省略されています)
発明の詳細な説明
【技術分野】
【0001】
本発明は、記録装置に関する。
続きを表示(約 1,500 文字)
【背景技術】
【0002】
記録媒体に画像を記録する記録装置においては、記録媒体に画像を記録する記録部や記録媒体に画像を定着させる定着部などの処理部、その処理部を制御するための電装部が設けられる。これらの処理部や電装部は、メンテナンスのために作業者がアクセス容易であることが好ましい。
【0003】
特許文献1には、処理部が設けられた装置本体と、電装部が設けられた電装筐体であって、装置本体に回転可能に支持される電装筐体とを備える記録装置が開示されている。このような構成の場合、作業者は、処理部が外部に露出するように電装筐体を装置本体に対して開き、処理部や電装部にアクセスすることができる。
【先行技術文献】
【特許文献】
【0004】
特開2017-209894号公報
【発明の概要】
【発明が解決しようとする課題】
【0005】
しかし、上述の構成では、電装筐体を回転させるためのスペースが必要であり、記録装置の潜在的な接地面積が大きくなる。また、複数の筐体が隣接して構成される記録装置の場合には、電装筐体を回転させることができず、上述の構成を適用できない可能性もある。
【0006】
本発明は、上述の課題を鑑みてなされたものであり、メンテナンスの作業性に優れた記録装置を提供することを目的とする。
【課題を解決するための手段】
【0007】
上述の目的を達成するため、本発明の記録装置は、
記録媒体を搬送方向に搬送する第1搬送路と、前記第1搬送路によって搬送される記録媒体に処理を行う第1処理部とを有する第1処理筐体と、
記録媒体を搬送方向に搬送する第2搬送路と、前記第2搬送路によって搬送される記録媒体に処理を行う第2処理部とを有する第2処理筐体と、
前記第1処理部を稼働するための第1電装部を有する第1電装筐体と、
前記第2処理部を稼働するための第2電装部を有する第2電装筐体と、
を備える記録装置であって、
前記第1電装筐体は前記第1処理筐体に対し前記搬送方向と交差する記録媒体の幅方向に分離可能に連結し、前記第2電装筐体は前記第1電装筐体と独立して前記第2処理筐体に対して前記幅方向に分離可能に連結することを特徴とする記録装置。
【発明の効果】
【0008】
本発明によれば、装置の大型化や設置面積を抑えるとともに、電装部や装置本体の機能部に対するメンテナンス作業の効率を向上できる印刷装置を提供できる。
【図面の簡単な説明】
【0009】
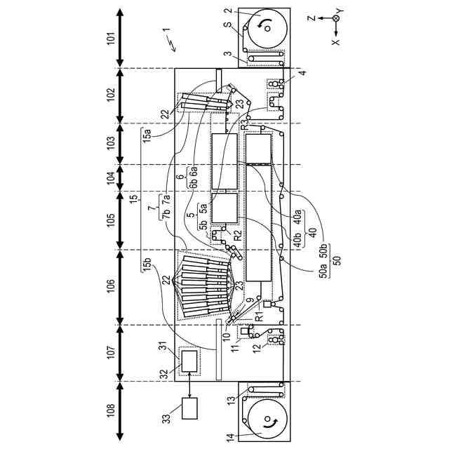
記録装置の内部構成を示す概略断面図である。
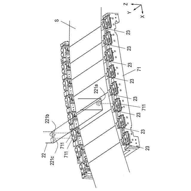
記録部のシート搬送部筐体の斜視図である。
記録ヘッドの昇降機構の斜視図である。
記録装置の全体図である。
電装筐体部の筐体の斜視図である。
筐体の出荷及び運搬の説明図である。
第1実施形態に係る筐体内の気流思想の説明図である。
第2実施形態に係る筐体内の説明図である。
【発明を実施するための形態】
【0010】
以下に図面を参照して、この発明を実施するための形態を、実施例に基づいて例示的に詳しく説明する。なお、この実施の形態に記載されている構成部品の寸法、材質、形状それらの相対配置等は、発明が適用される装置の構成や各種条件により適宜変更されるべきものである。すなわち、この発明の範囲を以下の実施の形態に限定する趣旨のものではない。
(【0011】以降は省略されています)
この特許をJ-PlatPat(特許庁公式サイト)で参照する
関連特許
キヤノン株式会社
容器
17日前
キヤノン株式会社
トナー
9日前
キヤノン株式会社
記録装置
9日前
キヤノン株式会社
定着装置
2日前
キヤノン株式会社
定着装置
2日前
キヤノン株式会社
表示装置
17日前
キヤノン株式会社
撮像装置
4日前
キヤノン株式会社
電子機器
4日前
キヤノン株式会社
撮像装置
17日前
キヤノン株式会社
撮像装置
9日前
キヤノン株式会社
雲台装置
9日前
キヤノン株式会社
定着装置
2日前
キヤノン株式会社
電子機器
9日前
キヤノン株式会社
電子機器
9日前
キヤノン株式会社
記録装置
9日前
キヤノン株式会社
撮像装置
10日前
キヤノン株式会社
測距装置
11日前
キヤノン株式会社
記録装置
2日前
キヤノン株式会社
液体収容体
12日前
キヤノン株式会社
露光ヘッド
2日前
キヤノン株式会社
液体収容体
11日前
キヤノン株式会社
画像形成装置
10日前
キヤノン株式会社
画像形成装置
17日前
キヤノン株式会社
視線検出装置
11日前
キヤノン株式会社
画像形成装置
10日前
キヤノン株式会社
画像形成装置
10日前
キヤノン株式会社
画像形成装置
2日前
キヤノン株式会社
画像形成装置
4日前
キヤノン株式会社
画像形成装置
2日前
キヤノン株式会社
画像形成装置
4日前
キヤノン株式会社
画像形成装置
4日前
キヤノン株式会社
画像形成装置
4日前
キヤノン株式会社
画像形成装置
2日前
キヤノン株式会社
画像形成装置
17日前
キヤノン株式会社
画像形成装置
17日前
キヤノン株式会社
画像形成装置
17日前
続きを見る
他の特許を見る