TOP
|
特許
|
意匠
|
商標
特許ウォッチ
Twitter
他の特許を見る
公開番号
2025174057
公報種別
公開特許公報(A)
公開日
2025-11-28
出願番号
2024080075
出願日
2024-05-16
発明の名称
表示装置
出願人
キヤノン株式会社
代理人
個人
,
個人
,
個人
,
個人
,
個人
主分類
G09F
9/00 20060101AFI20251120BHJP(教育;暗号方法;表示;広告;シール)
要約
【課題】 表示装置の横型設置と縦型設置に対応した放熱を実現する。
【解決手段】 外装と、前記外装の内部に配置される電源回路基板と、ヒートシンクとを有する表示装置であって、前記外装は、電源回路基板の近傍に吸気孔を有し、横型設置及び縦型設置のどちらの場合においても、前記電源回路基板は前記表示装置の中心位置より下側になるように配置され、前記ヒートシンクは、前記電源回路基板の表面側と裏面側にそれぞれ配置され、前記電源回路基板の表面側の前記ヒートシンクによって形成される放熱流路と前記電源回路基板の裏面側の前記ヒートシンクによって形成される放熱流路と、は互いに方向が異なる。
【選択図】 図1
特許請求の範囲
【請求項1】
外装と、前記外装の内部に配置される電源回路基板と、ヒートシンクとを有する表示装置であって、
前記外装は、電源回路基板の近傍に吸気孔を有し、
横型設置及び縦型設置のどちらの場合においても、前記電源回路基板は前記表示装置の中心位置より下側になるように配置され、
前記ヒートシンクは、前記電源回路基板の表面側と裏面側にそれぞれ配置され、
前記電源回路基板の表面側の前記ヒートシンクによって形成される放熱流路と前記電源回路基板の裏面側の前記ヒートシンクによって形成される放熱流路と、は互いに方向が異なる
ことを特徴とする表示装置。
続きを表示(約 570 文字)
【請求項2】
前記電源回路基板の表面側の前記ヒートシンクと前記電源回路基板の裏面側の前記ヒートシンクとは、放熱流路が互いにほぼ垂直方向に形成される
ことを特徴とする請求項1に記載の表示装置。
【請求項3】
前記電源回路基板は、伝熱部材が固定された電子部品を有し、
前記伝熱部材は、前記電源回路基板の表面側の前記ヒートシンクと前記電源回路基板の裏面側の前記ヒートシンクとにそれぞれ固定される
ことを特徴とする請求項1に記載の表示装置。
【請求項4】
前記電源回路基板の周辺に対し、前記電源回路基板の表面側と裏面側を分断する風向板をさらに有し、
前記風向板は、前記外装の前記吸気孔まで延伸している
ことを特徴とする請求項1に記載の表示装置。
【請求項5】
前記電源回路基板の表面側の前記ヒートシンクと、前記電源回路基板の裏面側の前記ヒートシンクは、押出成形にて形成された金属材料であることを特徴する請求項1に記載の表示装置。
【請求項6】
前記電源回路基板の表面側の前記ヒートシンクと前記電源回路基板の裏面側の前記ヒートシンクとは、金属材料の板金に対して曲げ加工によって形成されたヒートシンクであることを特徴する請求項1に記載の表示装置。
発明の詳細な説明
【技術分野】
【0001】
本発明は、表示装置に関する。
続きを表示(約 1,400 文字)
【背景技術】
【0002】
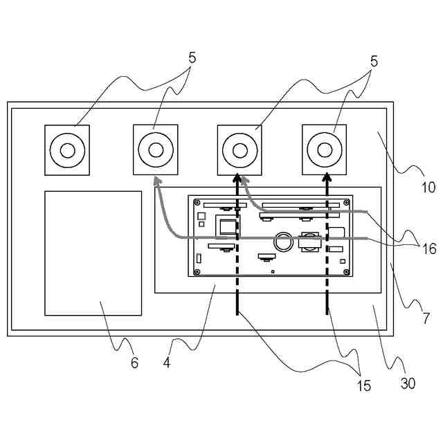
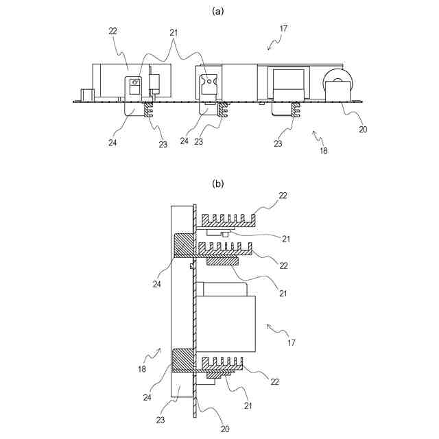
近年、表示装置では、高精細な表示パネルを用いられ、また、バックライトの光源としてLED(Light Emitting Diode)が用いられることがある。これにより、表示装置の表示性能およびシステム制御性能が向上するとともに、消費電力も増加し、システム回路や電源回路などの各種電気部品や回路基板の発熱も増加している。
【0003】
また、いわゆる縦撮影された動画が普及するとともに、縦撮影された動画をよりきれいに視聴するために表示装置の表示性能および、システム制御性能の向上も求められている。例えば、ライブ中継やEコマースなどにおいて、表示装置は広い色域に対応できることが必要とされたり、HDR(High Dynamic Range)表示が求められたりすることが発生している。
【0004】
このような状況下において、1つの表示装置で横型設置と縦型設置とを切り替えながら利用できることが必要とされている。これに対し、1つの表示装置で横型設置、縦型設置を兼用した場合を想定して、表示装置の主要発熱部品の冷却方法が考えられている。
【0005】
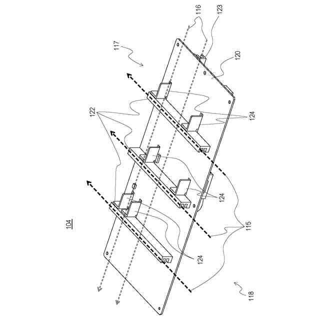
特許文献1には、表示装置を横型設置、縦型設置にしても回路基板に取り付くヒートシンクを斜めに配置することで設置方向に問わず、放熱流路を形成することが可能な表示装置が開示されている。
【0006】
特許文献2には、吸気ファンと排気ファンを設けることで、横型設置、縦型設置に対応した放熱構造を実現した表示機が開示されている。
【先行技術文献】
【特許文献】
【0007】
特開2015-11045号広報
特開2021-124593号広報
【発明の概要】
【発明が解決しようとする課題】
【0008】
しかしながら、特許文献1のようにヒートシンクを斜めに配置しても放熱流路を形成しにくかったり、斜めに放熱流路があると流路抵抗が大きくなったりする場合がある。また、特許文献2のように吸気から排気までのダクトが大きくなったり、長くなったりし、コストがかかることや、流路抵抗が大きくなる可能性がある。そこで、本発明では、上記課題を鑑みて、表示装置の横型設置と縦型設置の両方に対応した放熱を実現し、より安定した放熱効果が得ることを目的とする。
【課題を解決するための手段】
【0009】
外装と、前記外装の内部に配置される電源回路基板と、ヒートシンクとを有する表示装置であって、前記外装は、電源回路基板の近傍に吸気孔を有し、横型設置及び縦型設置のどちらの場合においても、前記電源回路基板は前記表示装置の中心位置より下側になるように配置され、前記ヒートシンクは、前記電源回路基板の表面側と裏面側にそれぞれ配置され、前記電源回路基板の表面側の前記ヒートシンクによって形成される放熱流路と前記電源回路基板の裏面側の前記ヒートシンクによって形成される放熱流路と、は互いに方向が異なる。
【発明の効果】
【0010】
本発明によれば、表示装置の横型設置と縦型設置の両方に対応した放熱が実現でき、安定した放熱効果が得ることができる。
【図面の簡単な説明】
(【0011】以降は省略されています)
この特許をJ-PlatPat(特許庁公式サイト)で参照する
関連特許
キヤノン株式会社
容器
1か月前
キヤノン株式会社
容器
1か月前
キヤノン株式会社
トナー
1か月前
キヤノン株式会社
トナー
22日前
キヤノン株式会社
定着装置
9日前
キヤノン株式会社
電子機器
22日前
キヤノン株式会社
定着装置
15日前
キヤノン株式会社
定着装置
15日前
キヤノン株式会社
撮像装置
1日前
キヤノン株式会社
表示装置
1日前
キヤノン株式会社
撮像装置
1か月前
キヤノン株式会社
測距装置
1か月前
キヤノン株式会社
記録装置
1か月前
キヤノン株式会社
記録装置
1か月前
キヤノン株式会社
撮影装置
1か月前
キヤノン株式会社
記録装置
22日前
キヤノン株式会社
記録装置
22日前
キヤノン株式会社
表示装置
1日前
キヤノン株式会社
定着装置
9日前
キヤノン株式会社
測距装置
24日前
キヤノン株式会社
撮像装置
9日前
キヤノン株式会社
撮像装置
9日前
キヤノン株式会社
撮像装置
3日前
キヤノン株式会社
現像装置
1か月前
キヤノン株式会社
撮像装置
23日前
キヤノン株式会社
撮像装置
1か月前
キヤノン株式会社
現像容器
1か月前
キヤノン株式会社
撮像装置
1か月前
キヤノン株式会社
現像装置
1か月前
キヤノン株式会社
撮像装置
1か月前
キヤノン株式会社
現像容器
1か月前
キヤノン株式会社
撮像装置
1日前
キヤノン株式会社
電子機器
22日前
キヤノン株式会社
表示装置
1日前
キヤノン株式会社
雲台装置
22日前
キヤノン株式会社
撮像装置
17日前
続きを見る
他の特許を見る