TOP
|
特許
|
意匠
|
商標
特許ウォッチ
Twitter
他の特許を見る
10個以上の画像は省略されています。
公開番号
2025171093
公報種別
公開特許公報(A)
公開日
2025-11-20
出願番号
2024076088
出願日
2024-05-08
発明の名称
撮像装置
出願人
キヤノン株式会社
代理人
弁理士法人大塚国際特許事務所
主分類
H04N
23/65 20230101AFI20251113BHJP(電気通信技術)
要約
【課題】フレキシブル回路基板に流れる電流の総量を低減し、画質の劣化を抑制する。
【解決手段】撮像センサが実装された撮像基板と、撮像基板に固定的に接続され、撮像基板に電力を供給する撮像電源基板と、撮像電源基板に電力を供給するメイン基板と、メイン基板と、撮像電源基板とを接続するフレキシブル回路基板と、を備え、メイン基板は、撮像センサが動作する電圧よりも高い第1の電圧をフレキシブル回路基板を介して撮像電源基板に供給し、撮像電源基板は、第1の電圧を、第1の電圧よりも低い第2の電圧に変換し、撮像センサに出力する降圧回路を有し、降圧回路は、インダクタを含むDCDCコンバーターである。
【選択図】図10
特許請求の範囲
【請求項1】
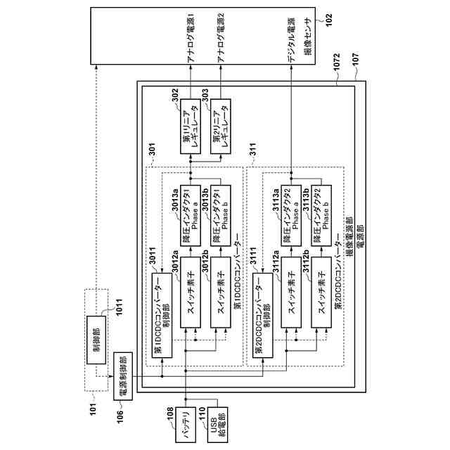
撮像センサが実装された撮像基板と、
前記撮像基板に固定的に接続され、前記撮像基板に電力を供給する撮像電源基板と、
前記撮像電源基板に電力を供給するメイン基板と、
前記メイン基板と、前記撮像電源基板とを接続するフレキシブル回路基板と、
を備え、
前記メイン基板は、前記撮像センサが動作する電圧よりも高い第1の電圧を前記フレキシブル回路基板を介して前記撮像電源基板に供給し、前記撮像電源基板は、前記第1の電圧を、前記第1の電圧よりも低い第2の電圧に変換し、前記撮像センサに出力する降圧回路を有し、
前記降圧回路は、インダクタを含むDCDCコンバーターであることを特徴とする撮像装置。
続きを表示(約 1,000 文字)
【請求項2】
前記DCDCコンバーターは3MHz以上のスイッチング周波数で動作することを特徴とする請求項1に記載の撮像装置。
【請求項3】
前記降圧回路は、スイッチング周波数が固定されたモードで動作することが可能な、インダクタを含むDCDCコンバーターであることを特徴とする請求項1に記載の撮像装置。
【請求項4】
前記降圧回路は、スイッチング周波数が可変のモードで動作することが可能な、インダクタを含むDCDCコンバーターであり、該DCDCコンバーターは、前記撮像装置の動作モードに応じてスイッチング周波数を変更することを特徴とする請求項1に記載の撮像装置。
【請求項5】
前記撮像センサにより撮像された画像を記録しない動作モードにおいて、前記DCDCコンバーターのスイッチング周波数を低下させることを特徴とする請求項4に記載の撮像装置。
【請求項6】
前記降圧回路は、偶数のインダクタで動作するDCDCコンバーターであり、それぞれのインダクタは、前記撮像センサを貫く方向の磁界、または、前記撮像センサと平行となる方向の磁界を、互いに打ち消し合う向きに配置されていることを特徴とする請求項1に記載の撮像装置。
【請求項7】
前記降圧回路は、同じ機能を有する回路素子を複数備え、前記撮像基板の面積をN等分(Nは2以上の整数)に分割した場合に、前記同じ機能を有する回路素子が、それぞれの分割領域に同じ数だけ配置されるように構成されていることを特徴とする請求項1に記載の撮像装置。
【請求項8】
前記降圧回路は、複数のインダクタを含むDCDCコンバーターであり、前記インダクタが、前記それぞれの分割領域に同じ数だけ配置されるように構成されていることを特徴とする請求項7に記載の撮像装置。
【請求項9】
前記降圧回路は、複数のスイッチ素子を含むDCDCコンバーターであり、前記スイッチ素子が、前記それぞれの分割領域に同じ数だけ配置されるように構成されていることを特徴とする請求項7に記載の撮像装置。
【請求項10】
前記撮像基板と前記撮像電源基板との間に、磁性部材が配置されていることを特徴とする請求項1に記載の撮像装置。
(【請求項11】以降は省略されています)
発明の詳細な説明
【技術分野】
【0001】
本発明は、撮像装置における撮像センサへの電力供給技術に関する。
続きを表示(約 1,200 文字)
【背景技術】
【0002】
従来の一眼レフカメラやミラーレスカメラといった撮像装置では、撮像センサに電力を供給するDCDCコンバーターは、画像への磁気ノイズの影響を懸念して、撮像センサを実装している撮像基板とは別の基板に配置されている。
【0003】
また、近年、像ぶれ補正機能を実現するため、撮像基板は物理的に動くように構成されていることが一般的である。そのため、撮像基板に接続されるフレキシブル回路基板は、撮像基板の動きの妨げにならない様に、長く余長が設けられ、極力配線幅を細く、厚みも薄くすることが望ましい。
【0004】
一方で、近年、撮像センサの読み出し速度の高速化、高画素化に伴い、撮像センサに電力を供給するためにフレキシブル回路基板に流れる電流は増加する傾向にある。フレキシブル回路基板に流れる電流が増加することで、磁気放射の増加による画質の劣化等の問題が生じる。また、電流が増加し、配線抵抗などによる発熱量の増加も、画質劣化を生じさせる原因となる。
【0005】
特許文献1では、撮像センサに電力を供給する方法として、第1の電源回路に加えて、第2の電源回路を設けることによって、第1の電源回路の電流を抑制する方法が記載されている。
【先行技術文献】
【特許文献】
【0006】
特開2022-172947号公報
【発明の概要】
【発明が解決しようとする課題】
【0007】
しかしながら、特許文献1に開示された技術では、フレキシブル回路基板に流れる電流の総量は低減することができない。
【0008】
本発明は上述した課題に鑑みてなされたものであり、その目的は、フレキシブル回路基板に流れる電流の総量を低減し、画質の劣化を抑制することである。
【課題を解決するための手段】
【0009】
本発明に係わる撮像装置は、撮像センサが実装された撮像基板と、前記撮像基板に固定的に接続され、前記撮像基板に電力を供給する撮像電源基板と、前記撮像電源基板に電力を供給するメイン基板と、前記メイン基板と、前記撮像電源基板とを接続するフレキシブル回路基板と、を備え、前記メイン基板は、前記撮像センサが動作する電圧よりも高い第1の電圧を前記フレキシブル回路基板を介して前記撮像電源基板に供給し、前記撮像電源基板は、前記第1の電圧を、前記第1の電圧よりも低い第2の電圧に変換し、前記撮像センサに出力する降圧回路を有し、前記降圧回路は、インダクタを含むDCDCコンバーターであることを特徴とする。
【発明の効果】
【0010】
本発明によれば、フレキシブル回路基板に流れる電流の総量を低減し、画質の劣化を抑制することが可能となる。
【図面の簡単な説明】
(【0011】以降は省略されています)
この特許をJ-PlatPat(特許庁公式サイト)で参照する
関連特許
キヤノン株式会社
トナー
1か月前
キヤノン株式会社
撮像装置
21日前
キヤノン株式会社
記録装置
7日前
キヤノン株式会社
撮像装置
6日前
キヤノン株式会社
撮像装置
6日前
キヤノン株式会社
撮像装置
6日前
キヤノン株式会社
雲台装置
1か月前
キヤノン株式会社
撮像装置
1か月前
キヤノン株式会社
電子機器
29日前
キヤノン株式会社
撮像装置
29日前
キヤノン株式会社
撮像装置
21日前
キヤノン株式会社
記録装置
7日前
キヤノン株式会社
電子機器
2日前
キヤノン株式会社
定着装置
21日前
キヤノン株式会社
撮像装置
6日前
キヤノン株式会社
定着装置
27日前
キヤノン株式会社
撮像装置
6日前
キヤノン株式会社
表示装置
6日前
キヤノン株式会社
記録装置
27日前
キヤノン株式会社
電子機器
6日前
キヤノン株式会社
定着装置
27日前
キヤノン株式会社
定着装置
21日前
キヤノン株式会社
定着装置
27日前
キヤノン株式会社
電子機器
1か月前
キヤノン株式会社
記録装置
1か月前
キヤノン株式会社
発光装置
13日前
キヤノン株式会社
撮像装置
1か月前
キヤノン株式会社
記録装置
1日前
キヤノン株式会社
二次電池
8日前
キヤノン株式会社
表示装置
13日前
キヤノン株式会社
表示装置
13日前
キヤノン株式会社
撮像装置
13日前
キヤノン株式会社
撮像装置
13日前
キヤノン株式会社
電気機器
1日前
キヤノン株式会社
記録装置
1か月前
キヤノン株式会社
撮像装置
15日前
続きを見る
他の特許を見る