TOP
|
特許
|
意匠
|
商標
特許ウォッチ
Twitter
他の特許を見る
公開番号
2025169589
公報種別
公開特許公報(A)
公開日
2025-11-14
出願番号
2024074415
出願日
2024-05-01
発明の名称
定着装置
出願人
キヤノン株式会社
代理人
弁理士法人近島国際特許事務所
主分類
G03G
15/20 20060101AFI20251107BHJP(写真;映画;光波以外の波を使用する類似技術;電子写真;ホログラフイ)
要約
【課題】定着ベルト301の寄り制御により定着ベルト301の内周面の幅方向において潤滑剤の供給量にムラが生じることを抑制できる構成を提供する。
【解決手段】ステアリングローラ308は、定着ベルト301の内周面に接触し、回転軸線が加熱ローラ307の回転軸線方向と平行な方向に対して傾動可能に配置され、傾動することで加熱ローラ307の回転軸線方向に関する定着ベルト301の位置を制御する。潤滑剤供給ローラ501は、定着ベルト301の内側で、ステアリングローラ308と接触し、且つ、ステアリングローラ308と共に加熱ローラ307の回転軸線方向と平行な方向に対して傾動可能に配置され、ステアリングローラ308に潤滑剤を供給する。
【選択図】図2
特許請求の範囲
【請求項1】
記録材に担持されたトナー像を加熱して記録材に定着させる定着装置であって、
無端状のベルト部材と、
前記ベルト部材の外周面に接触して回転する回転体と、
前記ベルト部材を介して前記回転体と対向するように前記ベルト部材の内側に配置され、前記ベルト部材と前記回転体との間に記録材を挟持搬送するニップ部を形成するニップ部形成部材と、
前記ベルト部材の内周面に接触し、前記ベルト部材を張架する張架ローラと、
前記ベルト部材の内周面に接触し、回転軸線が前記張架ローラの回転軸線方向と平行な方向に対して傾動可能に配置され、傾動することで前記張架ローラの回転軸線方向に関する前記ベルト部材の位置を制御するステアリングローラと、
前記ベルト部材の内側で、前記ステアリングローラと接触し、且つ、前記ステアリングローラと共に前記張架ローラの回転軸線方向と平行な方向に対して傾動可能に配置され、前記ステアリングローラに潤滑剤を供給する潤滑剤供給ローラと、を備えたことを特徴とする定着装置。
続きを表示(約 620 文字)
【請求項2】
前記ステアリングローラを前記ベルト部材に向けて付勢する付勢部材を更に備え、
前記ステアリングローラは、前記ベルト部材に張力を付与することを特徴とする請求項1に記載の定着装置。
【請求項3】
前記張架ローラ及び前記ニップ部形成部材を支持するフレームと、
前記フレームに対して回動可能に支持され、前記ステアリングローラを支持するステアリング支持部と、を備え、
前記潤滑剤供給ローラは、前記ステアリング支持部に支持されていることを特徴とする請求項1に記載の定着装置。
【請求項4】
前記張架ローラは、内部に加熱部を有し、前記加熱部により前記張架ローラが加熱されることで前記ベルト部材を加熱する加熱ローラであることを特徴とする請求項1に記載の定着装置。
【請求項5】
前記ニップ部形成部材は、パッド部材であることを特徴とする請求項1に記載の定着装置。
【請求項6】
前記潤滑剤供給ローラは、第1潤滑剤供給ローラであり、
前記ベルト部材の内側で、前記ステアリングローラと接触し、且つ、前記ステアリングローラ及び前記第1潤滑剤供給ローラと共に前記張架ローラの回転軸線方向と平行な方向に対して傾動可能に配置され、前記ステアリングローラに潤滑剤を供給する第2潤滑剤供給ローラを更に備えたことを特徴とする請求項1に記載の定着装置。
発明の詳細な説明
【技術分野】
【0001】
本発明は、記録材に担持されたトナー像を加熱して記録材に定着させる定着装置に関する。
続きを表示(約 1,800 文字)
【背景技術】
【0002】
複写機、プリンタ、ファクシミリ、これらの複数の機能を有する複合機などの画像形成装置は、記録材に担持されたトナー像を記録材に定着させる定着装置を有する。定着装置としては、無端状のベルト部材と回転体とにより形成されるニップ部において記録材上のトナー像を加熱しながら搬送する構成が従来から知られている(特許文献1)。
【0003】
特許文献1に記載の定着装置は、回転体との間でベルト部材を挟持するニップ部形成部材を用いてニップ部を形成している。このようなニップ部形成部材を用いてニップ部を形成する場合、ニップ部でベルト部材とニップ部形成部材の摺動抵抗が大きくなることで、画像不良が発生したり、ベルト内面が削れたりすることが知られている。このため、ベルト部材の内側に潤滑剤を供給する潤滑剤供給ローラを配置し、潤滑剤をベルト部材の内周面に塗布することで、摺動抵抗を下げる構成が広く採用されている。
【0004】
また、ベルト部材を用いた定着装置として、ベルト部材の回転時に、ベルト部材が幅方向の片側に寄ることでベルト部材の幅方向端部が破損することを抑制すべく、ベルト部材を張架するローラを傾動させることで、ベルト部材の寄り制御を行う構成も従来から知られている(特許文献2)。
【先行技術文献】
【特許文献】
【0005】
特開2003-195671号公報
特開2015-59964号公報
【発明の概要】
【発明が解決しようとする課題】
【0006】
従来、潤滑剤供給ローラは、ベルト部材を張架するローラとニップ部形成部材との間のベルト部材の内周面に接触するように配置され、ベルト部材に対して加圧されることで、潤滑剤をベルト部材の内周面に供給するように構成されていた。このように、潤滑剤供給ローラをベルト部材の内周面に接触させる構成の場合、ベルト部材の寄り制御によるベルト軌道変化の影響で、ベルト部材の内周面の幅方向において潤滑剤の供給量にムラが生じる場合がある。この結果、ベルト部材の寄り制御が不安定になったり、ベルト部材の寿命が低下したりする虞がある。
【0007】
本発明は、ベルト部材の寄り制御によりベルト部材の内周面の幅方向において潤滑剤の供給量にムラが生じることを抑制できる構成を提供することを目的とする。
【課題を解決するための手段】
【0008】
本発明の一態様は、記録材に担持されたトナー像を加熱して記録材に定着させる定着装置であって、無端状のベルト部材と、前記ベルト部材の外周面に接触して回転する回転体と、前記ベルト部材を介して前記回転体と対向するように前記ベルト部材の内側に配置され、前記ベルト部材と前記回転体との間に記録材を挟持搬送するニップ部を形成するニップ部形成部材と、前記ベルト部材の内周面に接触し、前記ベルト部材を張架する張架ローラと、前記ベルト部材の内周面に接触し、回転軸線が前記張架ローラの回転軸線方向と平行な方向に対して傾動可能に配置され、傾動することで前記張架ローラの回転軸線方向に関する前記ベルト部材の位置を制御するステアリングローラと、前記ベルト部材の内側で、前記ステアリングローラと接触し、且つ、前記ステアリングローラと共に前記張架ローラの回転軸線方向と平行な方向に対して傾動可能に配置され、前記ステアリングローラに潤滑剤を供給する潤滑剤供給ローラと、を備えたことを特徴とする定着装置である。
【発明の効果】
【0009】
本発明によれば、ベルト部材の寄り制御によりベルト部材の内周面の幅方向において潤滑剤の供給量にムラが生じることを抑制できる。
【図面の簡単な説明】
【0010】
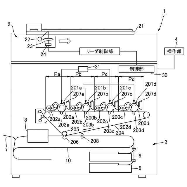
実施形態に係る画像形成装置の概略構成断面図。
実施形態に係る定着装置の概略構成断面図。
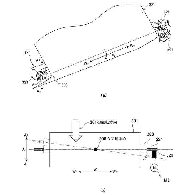
(a)実施形態に係るステアリングローラ近傍の斜視図、(b)実施形態に係るステアリングローラが傾動する様子を説明する模式図。
定着ベルトの内周面に潤滑剤供給ローラを接触させた場合に発生する課題を説明するための模式図。
他の実施形態に係る定着装置の概略構成断面図。
【発明を実施するための形態】
(【0011】以降は省略されています)
この特許をJ-PlatPat(特許庁公式サイト)で参照する
関連特許
キヤノン株式会社
トナー
28日前
キヤノン株式会社
記録装置
1日前
キヤノン株式会社
定着装置
21日前
キヤノン株式会社
電子機器
28日前
キヤノン株式会社
雲台装置
28日前
キヤノン株式会社
撮像装置
28日前
キヤノン株式会社
電子機器
23日前
キヤノン株式会社
撮像装置
23日前
キヤノン株式会社
定着装置
21日前
キヤノン株式会社
発光装置
7日前
キヤノン株式会社
記録装置
21日前
キヤノン株式会社
定着装置
21日前
キヤノン株式会社
記録装置
28日前
キヤノン株式会社
表示装置
7日前
キヤノン株式会社
表示装置
7日前
キヤノン株式会社
撮像装置
7日前
キヤノン株式会社
定着装置
15日前
キヤノン株式会社
撮像装置
15日前
キヤノン株式会社
撮像装置
15日前
キヤノン株式会社
撮像装置
7日前
キヤノン株式会社
表示装置
7日前
キヤノン株式会社
定着装置
15日前
キヤノン株式会社
二次電池
2日前
キヤノン株式会社
撮像装置
9日前
キヤノン株式会社
撮像装置
29日前
キヤノン株式会社
記録装置
28日前
キヤノン株式会社
記録装置
1日前
キヤノン株式会社
測距装置
1か月前
キヤノン株式会社
電子機器
28日前
キヤノン株式会社
液体収容体
1か月前
キヤノン株式会社
インク容器
1日前
キヤノン株式会社
露光ヘッド
21日前
キヤノン株式会社
画像形成装置
1か月前
キヤノン株式会社
画像形成装置
15日前
キヤノン株式会社
画像形成装置
16日前
キヤノン株式会社
画像形成装置
16日前
続きを見る
他の特許を見る