TOP
|
特許
|
意匠
|
商標
特許ウォッチ
Twitter
他の特許を見る
10個以上の画像は省略されています。
公開番号
2025171798
公報種別
公開特許公報(A)
公開日
2025-11-20
出願番号
2024077477
出願日
2024-05-10
発明の名称
定着装置
出願人
キヤノン株式会社
代理人
弁理士法人近島国際特許事務所
主分類
G03G
15/20 20060101AFI20251113BHJP(写真;映画;光波以外の波を使用する類似技術;電子写真;ホログラフイ)
要約
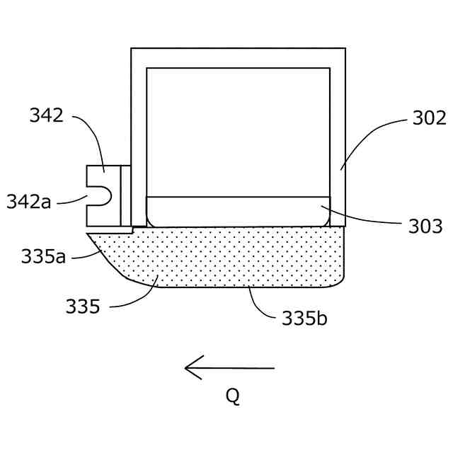
【課題】加熱ユニットの係合部材が分離ユニットの位置決め部に係合する前における、定着フレームへの接触に起因する係合部材の位置ずれや変形を抑制する。
【解決手段】係合部材342の係合溝部342aを除く係合部材342の周囲の一部を覆うように、保護部材335がステイ302に固定されている。保護部材335は係合部材342の下方側を覆うようにステイ302に配置され、加熱ユニット340の装着時に係合部材342が定着フレームの一部に接触しないように係合部材342を保護する。また、保護部材335には、幅方向Wから見て係合部材342の一部に重なるように突設部3351が形成されており、装着時に加熱ユニット340が幅方向Wにずれた場合でも、定着フレームに保護部材335が接触することにより、係合部材342は保護される。
【選択図】図6
特許請求の範囲
【請求項1】
記録材にトナー像を定着する定着装置であって、
第1回転体を有する第1ユニットと、
前記第1回転体に当接し、前記第1回転体との間でトナー像が形成された記録材を挟持搬送しつつ熱及び圧力を加えて記録材にトナー像を定着するニップ部を形成する第2回転体を有する第2ユニットと、
記録材の搬送方向に関し前記ニップ部よりも下流に配置され、前記ニップ部を通過した記録材を前記第1回転体に非接触で前記第1回転体から分離する分離板と、前記分離板を前記第1回転体に対して位置決めする位置決め部と、を有する分離ユニットと、
前記分離ユニットが固定され、且つ、前記第1ユニットが着脱自在であるフレームと、を備え、
前記第1ユニットは、前記フレームへの装着状態で前記位置決め部と係合する係合部が形成された係合部材と、前記フレームへの装着時に前記係合部材が前記フレームの一部に接触しないように、前記係合部を除く前記係合部材の周囲の一部を覆う保護部材と、有する、
ことを特徴とする定着装置。
続きを表示(約 1,000 文字)
【請求項2】
前記保護部材は、前記係合部材の前記第2回転体側を覆う、
ことを特徴とする請求項1に記載の定着装置。
【請求項3】
前記第1回転体は、無端状のベルトであり、
前記第1ユニットは、前記ベルトと、前記ベルトを張架する複数のローラと、前記ベルトの内側に設けられ前記ベルトを介して前記第2回転体を押圧可能なパッドと、前記パッドを支持するステイと、を有し、
前記係合部材は、前記ステイに固定されている、
ことを特徴とする請求項1に記載の定着装置。
【請求項4】
前記フレームは、前記第1ユニットの装着時に前記ステイが挿入される凹部を有し、
前記位置決め部は、前記ステイの挿入方向に関して前記凹部の下流側に設けられている、
ことを特徴とする請求項3に記載の定着装置。
【請求項5】
前記フレームは、前記挿入方向に関して前記凹部の上流側に、前記第2回転体と反対側に開口し、前記第1ユニットの装着時に前記ステイが通過可能な開口部を有する、
ことを特徴とする請求項4に記載の定着装置。
【請求項6】
前記保護部材は、前記ステイに固定されている、
ことを特徴とする請求項3に記載の定着装置。
【請求項7】
前記係合部は、前記ステイの前記凹部への挿入方向に関して前記係合部材の下流側に形成され、
前記保護部材は、前記係合部材の前記第2回転体側に配置されている、
ことを特徴とする請求項5に記載の定着装置。
【請求項8】
前記保護部材は、前記挿入方向の下流側に向かうほど、前記第2回転体から離れるように傾斜した傾斜面を有する、
ことを特徴とする請求項7に記載の定着装置。
【請求項9】
前記第2ユニットは、前記第2回転体の回転軸線方向に関し前記第2回転体の一端部を支持する第1の側板と、前記第2回転体の他端部を支持する第2の側板を有し、
前記フレームは、前記第1の側板と前記第2の側板である、
ことを特徴とする請求項1に記載の定着装置。
【請求項10】
前記ベルトは、前記第1ユニットにおいて着脱自在に設けられ、
前記ローラは、前記ベルトを取り外し可能な張力に前記ベルトの張力を変更可能なテンションローラである、
ことを特徴とする請求項3に記載の定着装置。
発明の詳細な説明
【技術分野】
【0001】
本発明は、プリンタ、複写機、ファクシミリあるいは複合機などの、電子写真技術を利用した画像形成装置に用いて好適な定着装置に関する。
続きを表示(約 2,400 文字)
【背景技術】
【0002】
画像形成装置は、トナー像が形成された記録材に対し熱と圧力を加えることにより、記録材にトナー像を定着させる定着装置を備えている。定着装置として、無端状の定着ベルト、定着ベルトを張架する張架ローラ、定着ベルトの内側に非回転に配設されたパッド、パッドを支持するステイ、定着ベルトの外周面に当接する加圧ローラを有する定着装置がある。この定着装置では、パッドと加圧ローラとにより定着ベルトが押圧されて定着ベルトと加圧ローラとの間に定着ニップ部が形成され、その定着ニップ部を記録材が挟持搬送される際に熱及び圧力が加えられることで、トナー像が記録材に定着される。また、定着装置は、定着ニップ部を通過した記録材を定着ベルトから分離するための分離板を備えている。分離板は定着ベルトに対し、記録材を分離できるように位置決めされている。
【0003】
最近では、定着ベルト、張架ローラ(加熱ローラやテンションローラ)、パッド、ステイを有する加熱ユニットが、加圧ローラ及び分離板を有する加圧ユニットに着脱自在に設けられている(特許文献1)。特許文献1においては、加熱ユニットに係合部材(第1分離位置決め部)が設けられ、分離板を有する分離ユニットに位置決め部(第1ガイド軸)が設けられている。加熱ユニットの装着時、加熱ユニットの係合部材が分離ユニットの位置決め部に係合することで、定着ベルトと分離板とが位置決めされた状態で、加熱ユニットが加圧ユニットに装着される。
【先行技術文献】
【特許文献】
【0004】
特開2023-83478号公報
【発明の概要】
【発明が解決しようとする課題】
【0005】
ところで、加熱ユニット及び加圧ユニットは、部品公差に起因する定着ベルトと分離板との相対位置のばらつきをできるだけ少なくするために、係合部材と位置決め部が組立治具や測定器を用いて調整されたうえで組み立てられている。しかしながら、従来では加熱ユニットの着脱時に、係合部材が加圧ユニットのフレームに誤って接触する場合があり、それに起因して係合部材の位置がずれたり係合部材が変形したりするなどの虞があった。
【0006】
本発明は、加熱ユニットの係合部材と分離ユニットの位置決め部とを係合させて定着ベルトと分離板とを位置決めする構成の場合に、位置決め部に係合する前の接触に起因する係合部材の位置ずれや変形を抑制可能な定着装置を提供することを目的とする。
【課題を解決するための手段】
【0007】
本発明の一実施形態に係る定着装置は、記録材にトナー像を定着する定着装置であって、第1回転体を有する第1ユニットと、前記第1回転体に当接し、前記第1回転体との間でトナー像が形成された記録材を挟持搬送しつつ熱及び圧力を加えて記録材にトナー像を定着するニップ部を形成する第2回転体を有する第2ユニットと、記録材の搬送方向に関し前記ニップ部よりも下流に配置され、前記ニップ部を通過した記録材を前記第1回転体に非接触で前記第1回転体から分離する分離板と、前記分離板を前記第1回転体に対して位置決めする位置決め部と、を有する分離ユニットと、前記分離ユニットが固定され、且つ、前記第1ユニットが着脱自在であるフレームと、を備え、前記第1ユニットは、前記フレームへの装着状態で前記位置決め部と係合する係合部が形成された係合部材と、前記フレームへの装着時に前記係合部材が前記フレームの一部に接触しないように、前記係合部を除く前記係合部材の周囲の一部を覆う保護部材と、有する、ことを特徴とする。
【発明の効果】
【0008】
本発明によれば、第1ユニットの係合部材と分離ユニットの位置決め部とを係合させ、第1ユニットの第1回転体と分離ユニットの分離板とを位置決めする構成の場合に、位置決め部に係合する前の接触に起因する係合部材の位置ずれや変形を抑制できる。
【図面の簡単な説明】
【0009】
本実施形態の定着装置を用いて好適な画像形成装置を示す概略図。
本実施形態の定着装置を示す概略図。
加熱ユニットが未装着の状態を示す概略図。
(a)分離ユニットを示す斜視図、(b)分離板及び分離板支持部材を示す斜視図。
係合部材を介した分離ユニットに対する加熱ユニットの位置決めについて説明するための模式図。
係合部材及び保護部材を示す斜視図。
保護部材を示す断面図。
(a)定着ベルトにテンションが付加されている状態を示す模式図、(b)定着ベルトにテンションが付加されていない状態を示す模式図。
保護部材の配置について説明するための側面図。
【発明を実施するための形態】
【0010】
<画像形成装置>
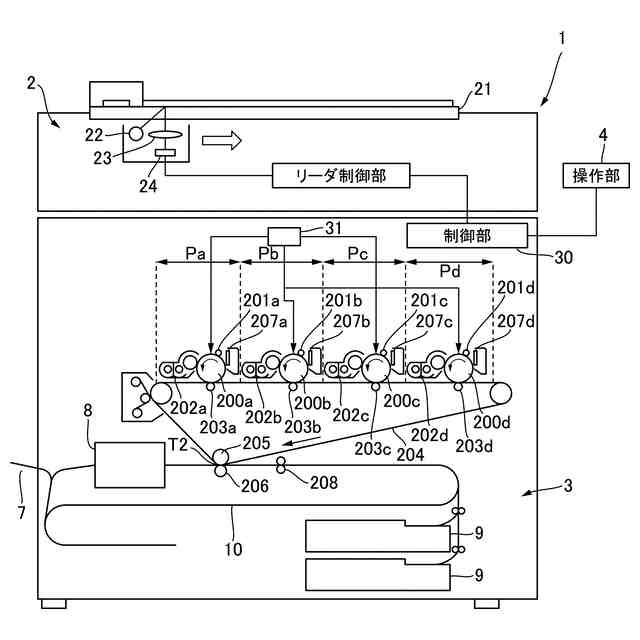
本実施形態について説明する。まず、本実施形態の定着装置を用いて好適な画像形成装置の概略構成について、図1を用いて説明する。画像形成装置1は、イエロー、マゼンタ、シアン、ブラックの4色に対応して設けられた4つの画像形成部Pa、Pb、Pc、Pdを有する電子写真方式のフルカラープリンタである。本実施形態は、画像形成部Pa、Pb、Pc、Pdを中間転写ベルト204の回転方向に沿って配置したタンデム型の画像形成装置1である。画像形成装置1は、画像形成装置1の装置本体3(筐体)に接続された原稿読取装置2又は装置本体3に対し通信可能に接続されたプリントサーバ等の外部ホスト機器からの画像信号に応じて、トナー像を記録材に形成する。記録材としては、用紙、プラスチックフィルム、布などのシート材が挙げられる。
(【0011】以降は省略されています)
この特許をJ-PlatPat(特許庁公式サイト)で参照する
関連特許
株式会社リコー
画像形成装置
今日
ブラザー工業株式会社
定着装置
今日
ブラザー工業株式会社
定着装置
今日
キヤノン株式会社
定着装置
今日
キヤノン電子株式会社
羽根駆動装置及び光学機器
今日
株式会社 ベアック
露光装置
今日
沖電気工業株式会社
画像形成装置
1日前
株式会社SCREENホールディングス
露光方法
2日前
ブラザー工業株式会社
画像形成装置
今日
ブラザー工業株式会社
画像形成装置
今日
信越化学工業株式会社
パターン形成方法
今日
株式会社リコー
投射像調整装置及び画像投射システム
今日
キヤノン株式会社
画像形成装置
今日
レーザーテック株式会社
情報処理方法及び情報処理装置
今日
株式会社リコー
カラーホイール、光源装置及び投射装置
2日前
キヤノン株式会社
画像形成装置
今日
キヤノン株式会社
定着ベルト、及び定着装置
今日
セイコーエプソン株式会社
補正方法
今日
コニカミノルタ株式会社
画像形成方法
1日前
キヤノン株式会社
トナーカートリッジ
1日前
大和ハウス工業株式会社
点検補助具及び点検補助システム
今日
富士フイルムビジネスイノベーション株式会社
画像形成装置
今日
富士フイルムビジネスイノベーション株式会社
画像形成装置
今日
富士フイルムビジネスイノベーション株式会社
画像形成装置
今日
富士フイルムビジネスイノベーション株式会社
画像形成装置
今日
富士フイルムビジネスイノベーション株式会社
画像形成装置
今日
富士フイルムビジネスイノベーション株式会社
画像形成装置
今日
富士フイルムビジネスイノベーション株式会社
画像形成装置
今日
信越化学工業株式会社
金属含有膜パターンの形成方法
今日
株式会社リコー
加熱装置、定着装置及び画像形成装置
今日
信越化学工業株式会社
フォトマスクブランク
今日
シャープ株式会社
画像形成装置および画像形成方法
今日
株式会社リコー
現像装置、プロセスカートリッジ、及び、画像形成装置
今日
ブラザー工業株式会社
画像形成装置
今日
キヤノン株式会社
電子写真ベルト及び電子写真画像形成装置
今日
株式会社ブイ・テクノロジー
縦枠部、マスク保持装置及びマスク保持方法
1日前
続きを見る
他の特許を見る