TOP
|
特許
|
意匠
|
商標
特許ウォッチ
Twitter
他の特許を見る
10個以上の画像は省略されています。
公開番号
2025181321
公報種別
公開特許公報(A)
公開日
2025-12-11
出願番号
2024089241
出願日
2024-05-31
発明の名称
シート処理装置
出願人
キヤノン株式会社
代理人
弁理士法人大塚国際特許事務所
主分類
B65H
7/20 20060101AFI20251204BHJP(運搬;包装;貯蔵;薄板状または線条材料の取扱い)
要約
【課題】複数のシートを積載して当該複数のシートに対して処理を行う際に、当該処理の対象とはならないシートが先行するシートの上に積載されることを防ぐ。
【解決手段】シート処理装置は、複数のシートの各シートを順に受け取って積載し、積載した前記複数のシートに対する処理を行う処理手段と、前記複数のシートの搬送を制御する制御手段と、を備え、前記制御手段は、前記処理手段による前記処理を行う際に前記シート処理装置に搬送されてきた第1シートを前記処理の対象ではないと判定したが前記第1シートを前記処理手段に向けて搬送しなければならない場合、シートの搬送方向において前記処理手段より上流側で前記第1シートの搬送を停止する。
【選択図】図10
特許請求の範囲
【請求項1】
シート処理装置であって、
複数のシートの各シートを順に受け取って積載し、積載した前記複数のシートに対する処理を行う処理手段と、
前記複数のシートの搬送を制御する制御手段と、
を備え、
前記制御手段は、前記処理手段による前記処理を行う際に前記シート処理装置に搬送されてきた第1シートを前記処理の対象ではないと判定したが前記第1シートを前記処理手段に向けて搬送しなければならない場合、シートの搬送方向において前記処理手段より上流側で前記第1シートの搬送を停止する、シート処理装置。
続きを表示(約 1,300 文字)
【請求項2】
前記制御手段は、前記第1シートを前記処理手段に向けて搬送しなければならないが、前記第1シートに先行するシートが前記処理手段に積載されていない場合、前記第1シートを前記処理手段まで搬送する、請求項1に記載のシート処理装置。
【請求項3】
シートを載置するトレイと、
第1状態において前記シート処理装置に搬送されてきたシートを前記処理手段に向けて搬送し、第2状態において前記シート処理装置に搬送されてきたシートを前記トレイに向けて搬送するガイドと、
をさらに備え、
前記制御手段は、前記第1シートを前記処理の対象ではないと判定したタイミングからでは前記ガイドの状態を前記第2状態に変更して前記第1シートを前記トレイに搬送できない場合、前記第1シートを前記処理手段に向けて搬送しなければならないと判定する、請求項1に記載のシート処理装置。
【請求項4】
前記制御手段は、前記タイミングから前記ガイドの状態を変更して前記第1シートを前記トレイに搬送できる場合、前記ガイドの状態を変更して前記第1シートを前記トレイに搬送する、請求項3に記載のシート処理装置。
【請求項5】
前記制御手段は、前記第1シートに先行するシートが前記処理手段に積載されていない場合、前記タイミングから前記ガイドの状態を変更して前記第1シートを前記トレイに搬送できるか否かに拘らず、前記第1シートを前記処理手段まで搬送する、請求項4に記載のシート処理装置。
【請求項6】
前記ガイドより前記搬送方向の上流側において前記シートを検知するセンサをさらに備え、
前記制御手段は、前記タイミングにおいて前記センサが前記第1シートを既に検知している場合、前記ガイドの状態を変更して前記第1シートを前記トレイに搬送できないと判定する、請求項3に記載のシート処理装置。
【請求項7】
前記シート処理装置は、前記処理手段より上流側の所定範囲にあるシートをユーザが取り除くことができる様に構成されており、
前記制御手段は、前記処理手段より上流側で前記第1シートの搬送を停止する場合、前記所定範囲において前記第1シートの搬送を停止する、請求項1から6のいずれか1項に記載のシート処理装置。
【請求項8】
前記シート処理装置の筐体には、前記所定範囲にあるシートをユーザが取り除くためのドアが設けられている、請求項7に記載のシート処理装置。
【請求項9】
前記制御手段は、前記処理手段より上流側で前記第1シートの搬送を停止した場合、前記第1シートを取り除くための手順をユーザに提示する、請求項1から6のいずれか1項に記載のシート処理装置。
【請求項10】
前記シート処理装置には、シートに画像を形成する画像形成装置から前記シートが搬送され、
前記制御手段は、前記画像形成装置から搬送されてくるシートが前記処理の対象であるか否かを前記画像形成装置から受信する当該シートに関する情報に基づき判定する、請求項1から6のいずれか1項に記載のシート処理装置。
(【請求項11】以降は省略されています)
発明の詳細な説明
【技術分野】
【0001】
本発明は、シートに対する処理を行うシート処理装置に関する。
続きを表示(約 1,600 文字)
【背景技術】
【0002】
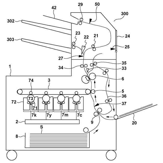
シートに画像を形成する画像形成装置と、当該画像形成装置によって画像が形成された複数のシートに対して接着処理やステイプル処理等を行うシート処理装置と、を含む画像形成システムが利用されている。
【0003】
特許文献1は、ジャムが生じた際に既に画像形成装置内に搬送されていたシートの内、成果物として利用可能なシートを無駄にしない様にするための構成を開示している。具体的には、特許文献1は、ジャムが発生した際にジャムとなったシートより上流側にあるシートのうち、成果物として利用可能なシートについては排出先を異ならせることを開示している。
【先行技術文献】
【特許文献】
【0004】
特開2015-13430号公報
【発明の概要】
【発明が解決しようとする課題】
【0005】
画像形成システムにおいてはミスプリントが生じ得る。ミスプリントは、例えば、成果物として使用するシートとは異なるサイズのシートが画像形成装置に誤って給送された場合に生じ得る。或いは、ミスプリントは、シートの搬送不良等により品質の低い画像がシートに形成されることによって生じ得る。
【0006】
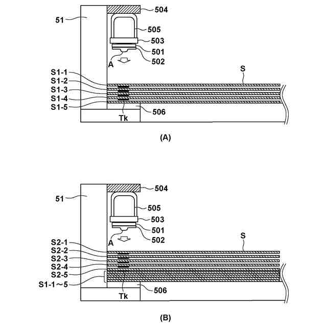
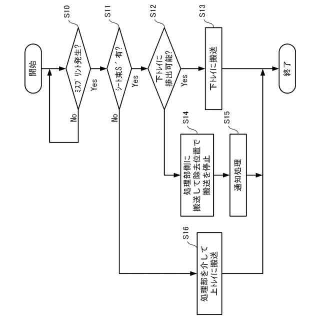
複数のシートに対して接着処理等の処理を行う場合、当該処理の対象となるシートはシート処理装置に順に搬送され、シート処理装置内においてシート束として積載される。そして、シート処理装置は、積載されたシート束に対して所定の処理を行う。複数のシートに対する処理を行うためにシートを積載している際にミスプリントが生じると、ミスプリントとなったシートが先行するシート束の上に積載されてしまう。ミスプリントとなったシートは、当該処理の対象とすべきではないシートであるため、積載された複数のシートのうちのミスプリントとなったシートをユーザに除去してもらう必要が生じる。しかしながら、この場合、ユーザがミスプリントとなったシートとは異なるシートを除去する可能性が生じ得る。また、シート束に対する処理の際、通常、シート束の整合処理が行われるが、ユーザがミスプリントとなったシートを除去する際にシート束の整列性を乱してしまう可能性もある。
【0007】
したがって、ミスプリントが生じた場合、ミスプリントとなったシートの排出先を動的に変更して、ミスプリントとなったシートが先行するシート束の上に積載されない様にすることが望ましい。しかしながら、ミスプリントを検出したタイミングによっては、既に排出先を変更できない場合がある。
【0008】
本発明は、複数のシートを積載して当該複数のシートに対して処理を行う際に、当該処理の対象とはならないシートが先行するシートの上に積載されることを防ぐ技術を提供するものである。
【課題を解決するための手段】
【0009】
本発明の一態様によると、シート処理装置は、複数のシートの各シートを順に受け取って積載し、積載した前記複数のシートに対する処理を行う処理手段と、前記複数のシートの搬送を制御する制御手段と、を備え、前記制御手段は、前記処理手段による前記処理を行う際に前記シート処理装置に搬送されてきた第1シートを前記処理の対象ではないと判定したが前記第1シートを前記処理手段に向けて搬送しなければならない場合、シートの搬送方向において前記処理手段より上流側で前記第1シートの搬送を停止する。
【発明の効果】
【0010】
本発明によると、複数のシートを積載して当該複数のシートに対して処理を行う際に、当該処理の対象とはならないシートが先行するシートの上に積載されることを防ぐことができる。
【図面の簡単な説明】
(【0011】以降は省略されています)
この特許をJ-PlatPat(特許庁公式サイト)で参照する
関連特許
キヤノン株式会社
トナー
1か月前
キヤノン株式会社
顕微鏡
今日
キヤノン株式会社
電気機器
1日前
キヤノン株式会社
撮像装置
15日前
キヤノン株式会社
表示装置
6日前
キヤノン株式会社
撮像装置
1か月前
キヤノン株式会社
表示装置
13日前
キヤノン株式会社
記録装置
1日前
キヤノン株式会社
定着装置
27日前
キヤノン株式会社
電子機器
6日前
キヤノン株式会社
定着装置
21日前
キヤノン株式会社
記録装置
今日
キヤノン株式会社
撮像装置
13日前
キヤノン株式会社
撮像装置
6日前
キヤノン株式会社
表示装置
13日前
キヤノン株式会社
雲台装置
1か月前
キヤノン株式会社
記録装置
27日前
キヤノン株式会社
記録装置
今日
キヤノン株式会社
撮像装置
21日前
キヤノン株式会社
撮像装置
21日前
キヤノン株式会社
定着装置
27日前
キヤノン株式会社
撮像装置
今日
キヤノン株式会社
撮像装置
今日
キヤノン株式会社
電子機器
2日前
キヤノン株式会社
記録装置
今日
キヤノン株式会社
撮像装置
6日前
キヤノン株式会社
撮像装置
今日
キヤノン株式会社
記録装置
今日
キヤノン株式会社
記録装置
7日前
キヤノン株式会社
記録装置
7日前
キヤノン株式会社
定着装置
今日
キヤノン株式会社
定着装置
21日前
キヤノン株式会社
撮像装置
6日前
キヤノン株式会社
電子機器
1か月前
キヤノン株式会社
撮像装置
6日前
キヤノン株式会社
撮像装置
6日前
続きを見る
他の特許を見る