TOP
|
特許
|
意匠
|
商標
特許ウォッチ
Twitter
他の特許を見る
公開番号
2025180926
公報種別
公開特許公報(A)
公開日
2025-12-11
出願番号
2024088623
出願日
2024-05-31
発明の名称
撮像装置
出願人
キヤノン株式会社
代理人
個人
主分類
H04N
23/68 20230101AFI20251204BHJP(電気通信技術)
要約
【課題】像振れ補正の駆動制御を阻害せずに撮像素子に対する十分な冷却性能を得る。
【解決手段】撮像装置100は、撮像素子311を備える可動部330と、可動部330を撮像光軸と直交する平面内で移動可能に支持する固定部340と、可動部330と固定部340を接続する放熱部材400を有する。放熱部材400は、可動部330に固定される第1可動部貼付領域402と、固定部340に固定される第1固定部貼付領域403と、これらをつなぐ接続部406とを有する。第1可動部貼付領域402と第1固定部貼付領域403は撮像光軸と直交し、撮像光軸と平行な方向において可動部330と固定部340との間に形成された間隙に配置される第1屈曲部409を接続部406に設ける。
【選択図】図4
特許請求の範囲
【請求項1】
撮像素子を備える可動部と、
前記可動部を撮像光軸と直交する平面内で移動可能に支持する固定部と、
前記可動部と前記固定部を接続する放熱部材と、を有する撮像装置であって、
前記放熱部材は、
前記可動部に固定される第1の主固定領域と、
前記固定部に固定される第2の主固定領域と、
前記第1の主固定領域と前記第2の主固定領域をつなぐ接続部と、を有し、
前記第1の主固定領域および前記第2の主固定領域はそれぞれ撮像光軸と直交し、
前記接続部は、前記可動部と前記固定部との間に前記撮像光軸と平行な方向において形成される間隙に配置される少なくとも1箇所の第1の屈曲部を有することを特徴とする撮像装置。
続きを表示(約 1,100 文字)
【請求項2】
前記放熱部材は展開時の形状が略矩形平板状であり、
前記接続部は、前記可動部と前記固定部を接続する方向を長手方向とするスリットを有することを特徴とする請求項1に記載の撮像装置。
【請求項3】
前記第1の屈曲部は、前記撮像光軸と平行な方向において、前記第1の主固定領域における前記接続部とは反対側の端部と前記第2の主固定領域における前記接続部とは反対側の端部とを結ぶ領域に近接し、且つ、前記間隙の略中間位置に配置されていることを特徴とする請求項1又は2に記載の撮像装置。
【請求項4】
前記放熱部材は、前記第1の屈曲部を中心として略対称となる構造を有することを特徴とする請求項3に記載の撮像装置。
【請求項5】
前記接続部は、前記第1の屈曲部を2箇所に有すると共に前記2箇所の第1の屈曲部を端部とする筒状部を有し、
前記2箇所の第1の屈曲部は前記撮像光軸と平行な方向で所定の間隔をもって対向し、前記筒状部は前記撮像光軸と平行な方向において前記間隙の略中間位置に配置されていることを特徴とする請求項1又は2に記載の撮像装置。
【請求項6】
前記第1の屈曲部は、折り目を有し、自然状態で前記折り目において折れ曲がった状態が維持されることを特徴とする請求項1に記載の撮像装置。
【請求項7】
前記接続部は、前記可動部において前記第1の主固定領域が固定された面とは異なる面に固定された第1の副固定領域と、前記固定部において前記第2の主固定領域が固定された面とは異なる面に固定された第2の副固定領域と、を有することを特徴とする請求項1に記載の撮像装置。
【請求項8】
前記放熱部材において、前記第1の主固定領域は前記可動部において前記撮像光軸と略直交する面に固定され、前記第1の副固定領域は前記可動部において前記撮像光軸と略平行な面に固定され、前記第2の主固定領域は前記固定部において前記撮像光軸と略直交する面に固定され、前記第2の副固定領域は前記固定部において前記撮像光軸と略平行な面に固定されていることを特徴とする請求項7に記載の撮像装置。
【請求項9】
前記第1の副固定領域の面積は前記第1の主固定領域の面積より小さく、前記第2の副固定領域の面積は前記第2の主固定領域の面積より小さいことを特徴とする請求項7又は8に記載の撮像装置。
【請求項10】
前記接続部において、前記第1の主固定領域と前記第1の副固定領域との間と、前記第2の主固定領域と前記第2の副固定領域との間のそれぞれに、第2の屈曲部が設けられていることを特徴とする請求項7又は8に記載の撮像装置。
(【請求項11】以降は省略されています)
発明の詳細な説明
【技術分野】
【0001】
本発明は、像振れ補正機構と放熱構造を有する撮像装置に関する。
続きを表示(約 1,800 文字)
【背景技術】
【0002】
デジタルスチルカメラやビデオカメラ等の撮像装置において、CMOSセンサ等の撮像素子は動作時に発熱する。そのため、撮像装置の内部には、撮像素子が動作保証温度を超えないように冷却機構が設けられる。また、画質の向上を図るために撮像素子を撮像光軸と直交する平面内で変位させることによって像振れを補正をする像振れ補正機構を備える撮像装置が普及している。
【0003】
このような像振れ補正機構を備える撮像装置に対して、像振れ補正駆動時の駆動負荷を大きくすることなく、撮像素子を効率的に冷却する冷却機構が求められている。このような要求に対して、特許文献1は、像振れ補正機構の可動部と固定部を接続する屈曲可能な伝熱部材の厚み方向と撮像光軸と直交する方向とすることで、像振れ補正機構の可動部を駆動する際の駆動負荷を低減する技術を開示している。また、特許文献2は、像振れ補正駆動時に可動部の経由位置を定めることで、伝熱部材が駆動負荷に与える影響を小さくする技術が開示されている。
【先行技術文献】
【特許文献】
【0004】
国際公開2020/202811号公報
特開2021-189225号公報
【発明の概要】
【発明が解決しようとする課題】
【0005】
上記特許文献1に開示された技術では、伝熱部材の厚み方向を撮像光軸と直交する方向としているため、伝熱量を増やす場合には、伝熱部材の数を増やすか又は伝熱部材の幅を広げる必要がある。しかし、その結果として、撮像素子を有する可動部を変位させる像振れ補正駆動時の駆動負荷が増大し、また、像振れ補正機構が大型化するおそれがある。また、上記特許文献2に開示された技術では、経由位置を定めているため、像振れ補正の応答性が低下してしまう。
【0006】
本発明は、このような事情に鑑みてなされたものであり、像振れ補正の駆動制御を阻害することなく撮像素子に対する十分な冷却性能が得られる撮像装置を提供することを目的とする。
【課題を解決するための手段】
【0007】
本発明に係る撮像装置は、撮像素子を備える可動部と、前記可動部を撮像光軸と直交する平面内で移動可能に支持する固定部と、前記可動部と前記固定部を接続する放熱部材と、を有する撮像装置であって、前記放熱部材は、前記可動部に固定される第1の主固定領域と、前記固定部に固定される第2の主固定領域と、前記第1の主固定領域と前記第2の主固定領域をつなぐ接続部と、を有し、前記第1の主固定領域および前記第2の主固定領域はそれぞれ撮像光軸と直交し、前記接続部は、前記可動部と前記固定部との間に前記撮像光軸と平行な方向において形成される間隙に配置される少なくとも1箇所の第1の屈曲部を有することを特徴とする。
【発明の効果】
【0008】
本発明によれば、像振れ補正の駆動制御を阻害することなく撮像素子に対する十分な冷却性能を得ることができる。
【図面の簡単な説明】
【0009】
実施形態に係る撮像システムの構成を示すブロック図である。
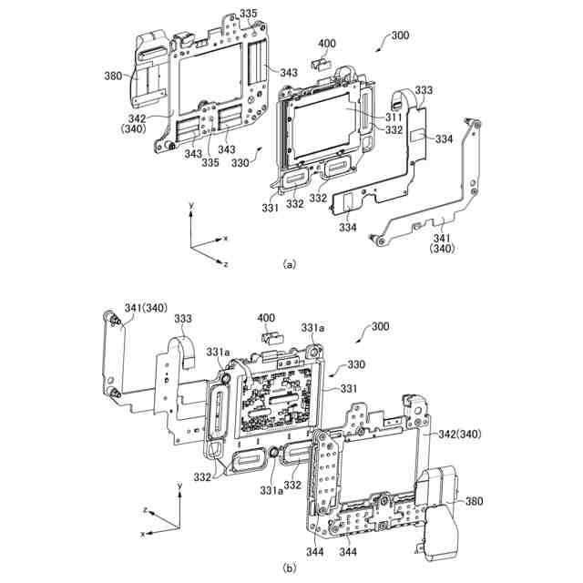
撮像システムを構成する撮像装置の分解斜視図である。
撮像装置の内部に配置される撮像ユニットの分解斜視図である。
第1実施形態に係る放熱部材及びその近傍の構成を示す斜視図である。
第1実施形態に係る放熱部材及びその近傍の構成を示す断面図である。
第1実施形態に係る放熱部材の展開図である。
第2実施形態に係る放熱部材及びその近傍の構成を示す断面図である。
第2実施形態に係る放熱部材の展開図である。
【発明を実施するための形態】
【0010】
以下、本発明の実施形態について、添付図面を参照して詳細に説明する。図1は、実施形態に係る撮像システム1の概略構成を示すブロック図である。撮像システム1は、大略的に、撮像装置100と、撮像装置100に対して着脱可能なレンズ装置10により構成される。撮像装置100として、ここでは所謂、レンズ交換式のデジタルスチルカメラを取り上げている。
(【0011】以降は省略されています)
この特許をJ-PlatPat(特許庁公式サイト)で参照する
関連特許
キヤノン株式会社
容器
1か月前
キヤノン株式会社
容器
1か月前
キヤノン株式会社
トナー
1か月前
キヤノン株式会社
トナー
1か月前
キヤノン株式会社
顕微鏡
今日
キヤノン株式会社
撮像装置
1か月前
キヤノン株式会社
記録装置
今日
キヤノン株式会社
撮像装置
1か月前
キヤノン株式会社
撮像装置
13日前
キヤノン株式会社
表示装置
13日前
キヤノン株式会社
測距装置
1か月前
キヤノン株式会社
撮像装置
15日前
キヤノン株式会社
定着装置
今日
キヤノン株式会社
撮像装置
13日前
キヤノン株式会社
定着装置
21日前
キヤノン株式会社
記録装置
今日
キヤノン株式会社
撮像装置
21日前
キヤノン株式会社
撮像装置
21日前
キヤノン株式会社
記録装置
今日
キヤノン株式会社
撮像装置
1か月前
キヤノン株式会社
定着装置
21日前
キヤノン株式会社
撮像装置
1か月前
キヤノン株式会社
表示装置
13日前
キヤノン株式会社
記録装置
1か月前
キヤノン株式会社
撮像装置
6日前
キヤノン株式会社
電子機器
2日前
キヤノン株式会社
電子機器
6日前
キヤノン株式会社
表示装置
6日前
キヤノン株式会社
撮像装置
6日前
キヤノン株式会社
撮像装置
6日前
キヤノン株式会社
撮像装置
6日前
キヤノン株式会社
撮像装置
6日前
キヤノン株式会社
記録装置
7日前
キヤノン株式会社
表示装置
13日前
キヤノン株式会社
記録装置
7日前
キヤノン株式会社
電気機器
1日前
続きを見る
他の特許を見る