TOP
|
特許
|
意匠
|
商標
特許ウォッチ
Twitter
他の特許を見る
10個以上の画像は省略されています。
公開番号
2025166579
公報種別
公開特許公報(A)
公開日
2025-11-06
出願番号
2024070698
出願日
2024-04-24
発明の名称
撮像装置
出願人
キヤノン株式会社
代理人
個人
,
個人
,
個人
主分類
H04N
23/50 20230101AFI20251029BHJP(電気通信技術)
要約
【課題】大型化を抑制しつつ、良好な通信を行うことが可能な撮像装置を提供すること。
【解決手段】撮像装置は、撮像装置は、導電部材により構成される第一の部材と、非導電部材により構成される第二の部材と、第一の部材と第二の部材との間に配置され、無線通信可能な、第一のアンテナと第二のアンテナと、を有し、第一のアンテナは、第一のパターンが形成され、光軸方向に直交する第一の面を備え、第二のアンテナは、第二のパターンが形成され、第一の面に対して傾斜した第二の面を備え、第一のアンテナと第二のアンテナは、光軸方向から見た場合と第二の面に直交する方向から見た場合とで、互いに重ならないように配置される。
【選択図】 図8
特許請求の範囲
【請求項1】
導電部材により構成される第一の部材と、
非導電部材により構成される第二の部材と、
前記第一の部材と前記第二の部材との間に配置され、無線通信可能な、第一のアンテナと第二のアンテナと、を有し、
前記第一のアンテナは、第一のパターンが形成され、かつ光軸方向に直交する第一の面を備え、
前記第二のアンテナは、第二のパターンが形成され、かつ前記第一の面に対して傾斜する第二の面を備え、
前記第一のアンテナと前記第二のアンテナは、前記光軸方向から見た場合と前記第二の面に直交する方向から見た場合とで、互いに重ならないように配置されることを特徴とする撮像装置。
続きを表示(約 910 文字)
【請求項2】
前記第二の面は、前記第一の面に対して90度傾いていることを特徴とする請求項1に記載の撮像装置。
【請求項3】
被写体の光学像を電気信号に変換する撮像素子を更に有し、
前記第一のパターンの長手方向と前記撮像素子の長手方向とが同一であり、
前記第二のパターンの長手方向と前記撮像素子の長手方向とが同一であることを特徴とする請求項2に記載の撮像装置。
【請求項4】
被写体の光学像を電気信号に変換する撮像素子を更に有し、
前記第一のパターンの長手方向と前記撮像素子の長手方向とが同一であり、
前記第二のパターンの長手方向と前記光軸方向とが同一であることを特徴とする請求項2に記載の撮像装置。
【請求項5】
前記第一の部材は、外装部材であり、
前記第二の部材は、前記第一の部材の一部を覆う外装部材であることを特徴とする請求項1又は2に記載の撮像装置。
【請求項6】
接眼部を更に有し、
前記第一及び第二のアンテナは、前記接眼部よりも被写体側に配置されることを特徴とする請求項5に記載の撮像装置。
【請求項7】
前記光軸方向と前記第二の面に直交する方向とが交差する領域に配置された振れ検出ユニットを更に有することを特徴とする請求項5に記載の撮像装置。
【請求項8】
前記第一の部材は、前記第一及び第二のアンテナを固定する部材であり、
前記第二の部材は、撮影者が前記撮像装置を把持するための把持部を備える外装部材であることを特徴とする請求項1又は2に記載の撮像装置。
【請求項9】
前記光軸方向と前記第二の面に直交する方向とが交差する領域に配置された電池を更に有することを特徴とする請求項8に記載の撮像装置。
【請求項10】
前記第一及び第二のパターンはそれぞれ、異なる周波数に調整された、第一のアンテナパターンと第二のアンテナパターンと、を含むことを特徴とした請求項1又は2に記載の撮像装置。
(【請求項11】以降は省略されています)
発明の詳細な説明
【技術分野】
【0001】
本発明は、無線通信等の電波を送受信するためのアンテナを備える撮像装置に関する。
続きを表示(約 1,600 文字)
【背景技術】
【0002】
従来、画像を無線通信によって外部に伝送するためのアンテナを備える撮像装置が知られている(特許文献1参照)。
【先行技術文献】
【特許文献】
【0003】
特許第7009589号公報
【発明の概要】
【発明が解決しようとする課題】
【0004】
近年、複数のアンテナを使ってデータを送受信することで一定時間に取り扱うデータ量を増やすことが可能なMulti Input Multi Output(以後、MIMOと称する)という無線通信技術が利用されている。しかしながら、特許文献1には、MIMOを利用するために適した、複数のアンテナの配置について記載されていない。MIMOは、複数のアンテナを用いて通信を行うため、大型化を抑制するために互いのアンテナを近接して配置すると、電波干渉を引き起こし、十分な無線通信性能を満たさない可能性がある。
【0005】
本発明は、大型化を抑制しつつ、良好な通信を行うことが可能な撮像装置を提供することを目的とする。
【課題を解決するための手段】
【0006】
本発明の一側面としての撮像装置は、導電部材により構成される第一の部材と、非導電部材により構成される第二の部材と、第一の部材と第二の部材との間に配置され、無線通信可能な、第一のアンテナと第二のアンテナと、を有し、第一のアンテナは、第一のパターンが形成され、かつ光軸方向に直交する第一の面を備え、第二のアンテナは、第二のパターンが形成され、かつ第一の面に対して傾斜した第二の面を備え、第一のアンテナと第二のアンテナは、光軸方向から見た場合と第二の面に直交する方向から見た場合とで、互いに重ならないように配置されることを特徴とする。
【発明の効果】
【0007】
本発明によれば、大型化を抑制しつつ、良好な通信を行うことが可能な撮像装置を提供することができる。
【図面の簡単な説明】
【0008】
第1の実施形態の撮像装置の外観図である。
第1の実施形態の撮像装置のブロック図である。
第1の実施形態の撮像装置のトップカバーユニットの構成を示す図である。
第1の実施形態の通信部の保持構成を示す図である。
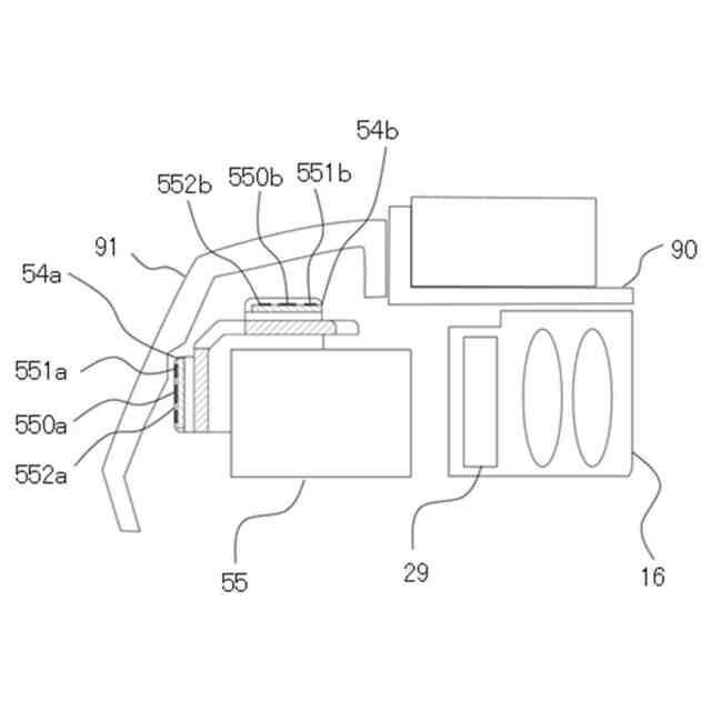
第1の実施形態の通信部のアンテナ構成を示す図である。
第1の実施形態の通信部の保持構成を示す図である。
第1の実施形態の通信部の相関係数を示す図である。
図3(a)のA-A線断面図である。
第1の実施形態の撮像装置を保持する姿勢の一例を示す図である。
第2の実施形態の撮像装置を三脚に取り付けた図である。
第2の実施形態の第一の通信部及び第二の通信部をグリップ部に取り付けた場合の説明図である。
第3の実施形態の撮像装置の構成を表す分解斜視図である。
【発明を実施するための形態】
【0009】
以下、本発明の実施例について、図面を参照しながら詳細に説明する。各図において、同一の部材については同一の参照番号を付し、重複する説明は省略する。
(第1の実施形態)
図1は、本実施形態の撮像装置の一例としてのデジタルカメラ1の外観図である。図1(a)と図1(b)はそれぞれ、デジタルカメラ1の前面斜視図と背面斜視図である。図2は、デジタルカメラ1のブロック図である。
【0010】
表示部28は、デジタルカメラ1の背面に設けられ、画像や各種情報を表示する。タッチパネル70aは、表示部28の表示面(操作面)に対するタッチ操作を検出することができる。
(【0011】以降は省略されています)
この特許をJ-PlatPat(特許庁公式サイト)で参照する
関連特許
個人
イヤーピース
21日前
個人
イヤーマフ
1か月前
個人
監視カメラシステム
1か月前
個人
スイッチシステム
29日前
個人
スキャン式車載用撮像装置
1か月前
キヤノン株式会社
撮像装置
今日
ヤマハ株式会社
放音制御装置
29日前
キヤノン電子株式会社
画像読取装置
29日前
株式会社リコー
画像形成装置
1か月前
キヤノン電子株式会社
画像読取装置
1か月前
キヤノン電子株式会社
画像読取装置
21日前
個人
映像表示装置、及びARグラス
1か月前
キヤノン株式会社
情報処理装置
8日前
キヤノン株式会社
画像処理装置
24日前
キヤノン電子株式会社
シート搬送装置
21日前
シャープ株式会社
表示装置
21日前
シャープ株式会社
表示装置
21日前
株式会社NTTドコモ
端末
1か月前
シャープ株式会社
端末装置
1か月前
株式会社NTTドコモ
端末
1か月前
株式会社NTTドコモ
端末
1か月前
日本セラミック株式会社
超音波送受信器
8日前
キヤノン電子株式会社
画像処理システム
1か月前
技術開発合同会社
電子拡大鏡
1か月前
17LIVE株式会社
サーバ及び方法
29日前
17LIVE株式会社
サーバ及び方法
21日前
トヨタ自動車株式会社
推定装置
21日前
アスザック株式会社
遠隔操作システム
1か月前
キヤノン株式会社
撮像装置
22日前
小林製薬株式会社
耳装着具
23日前
キヤノン株式会社
撮像装置
21日前
小林製薬株式会社
耳装着具
23日前
ミネベアミツミ株式会社
受信装置
8日前
キヤノン株式会社
電子機器
16日前
小林製薬株式会社
耳装着具
23日前
古野電気株式会社
送受波器
1か月前
続きを見る
他の特許を見る