TOP
|
特許
|
意匠
|
商標
特許ウォッチ
Twitter
他の特許を見る
10個以上の画像は省略されています。
公開番号
2025171045
公報種別
公開特許公報(A)
公開日
2025-11-20
出願番号
2024076011
出願日
2024-05-08
発明の名称
超音波送受信器
出願人
日本セラミック株式会社
代理人
主分類
H04R
17/00 20060101AFI20251113BHJP(電気通信技術)
要約
【課題】音圧が高く広い帯域を持つ空中用超音波送受波器(超音波センサ)を提供する。
【解決手段】超音波センサは、超音波の送信を行うときに有底筒状ケース4の底面において振幅が最大となる部分9と振幅が最小となる有底筒状ケースの底面の振動ノード10の間の全部または一部の領域に貯蔵弾性率と損失弾性率の比である損失正接tanδが0.001以上でかつ0.6以下の弾性体3を配置することにより、変形速度に応じて応力がかかる弾性体の粘性の効果によって前述した二つの振動の境界での振動の変化を抑制し、駆動周波数と共振周波数が一致しない場合においても音波の放射効率の低下を抑える。
【選択図】図1
特許請求の範囲
【請求項1】
有底筒状ケースの底面内部に圧電素子を貼り合わせてユニモルフ振動子を形成し、 ユニモルフ振動子の振動によって超音波の送受信を行う空中用超音波送受波器において、
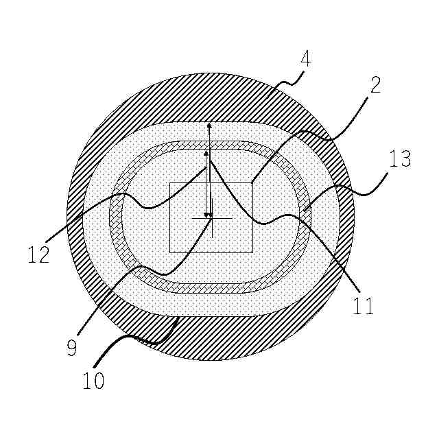
有底筒状ケースの中心から内壁との距離(11)に対して、有底筒状ケースの中心からの距離(12)が50%から90%の距離となる全部の領域(13)または一部の領域(14)に弾性体を設けたことを特徴とする空中用超音波送受波器。
続きを表示(約 90 文字)
【請求項2】
請求項1に記載の弾性体は貯蔵弾性率と損失弾性率の比である損失正接tanδが0.001以上でかつ0.6以下であることを特徴とする空中用超音波送受波器。
発明の詳細な説明
【技術分野】
【0001】
本発明は、圧電素子(2)を有底筒状ケース(1)に貼り合わせた空中用の超音波センサ(以降空中超音波送受波器を超音波センサとよぶ)に関するものである。
続きを表示(約 3,400 文字)
【背景技術】
【0002】
超音波センサを用いた距離計ユニットを車両に取り付けて、車両に物体が接近した際に運転者に衝突の危険を知らせる安全装置が広く使用されている。
特に、車両を後退させる際に後方の物体を距離計ユニットで検出し、運転手に物体の接近を知らせる安全装置がよく利用されている。(例えば特許文献1)
【0003】
具体的には、物体の接近を運転手にブザーで知らせる安全装置や車両の前方に障害物があると車両が発進しないようブレーキが動作させるブレーキ連動式の安全装置が発明されている。
【0004】
ここで使用される超音波センサを用いた距離計ユニットでは、主に防滴型の超音波センサが使用されている。
防滴型の超音波センサは、例えば特許文献2で紹介されている。(文献中では防滴型の超音波センサを防滴型超音波送受波器とよんでいる)
防滴型の超音波センサは有底筒状ケースの底面に、両面に電極が施された圧電素子が接着されており、圧電素子の各電極に電気的に接続された端子は外部に取り出されており、圧電素子の上部にはスポンジ状もしくはフェルト状の吸音材をかぶせてから、シリコーンゴムなどの弾性を有する充填剤で密閉した構造である。
有底筒状ケースの開口側の背面がシリコーンゴムなどの充填剤で完全に覆われることで内部に液体が浸入しない構造になっている。前述の構造のため、超音波センサ内部にて圧電素子の各電極同士が短絡することがないため、液体がかかるような屋外でも使用できる。
また、防滴型の超音波センサは圧電素子が金属のケースで覆われるために、比較的強度が高い構造の超音波センサである。
【0005】
車両に搭載される超音波センサの駆動周波数は固定されているのが一般的である。
超音波センサは筐体の形状に由来する共振周波数と外部から入力される駆動周波数が一致する場合、効率よく音波が放出されるよう設計されているが、製品の製造ばらつきによって共振周波数と駆動周波数の差が大きくなると音波が効率よく放出されなくなると音圧が小さくなる場合がある。超音波センサの共振周波数を広帯域化することができれば、製品ばらつきによらず一定の出力を確保する事ができるようになる。また複数の駆動周波数で利用することができる。
【先行技術文献】
【特許文献】
【0006】
特開2007-112297
特開2010-154059
特開2021-072589
【発明の概要】
【発明が解決しようとする課題】
【0007】
従来の超音波センサは筐体の形状に由来する共振周波数が存在し、その共振周波数と駆動周波数の間に差があると振動効率が低下し、遠くまで音波を到達させることができないため、物体を検知することができないという課題があった。また超音波センサの振動効率を抑える事により共振周波数から外れた駆動周波数で動作する構造の物も存在するが(例えば特許文献3)、音圧が小さく音波の到達距離が短かいため遠くの物体を検知できない問題点がある。
【課題を解決するための手段】
【0008】
超音波センサの共振周波数は、一般的には筐体の形状で決まる。 これは筐体の形状が決まると、振動の節と節の距離も決まることから単一の波長及び共振周波数に決まってしまうためである。共振周波数と駆動周波数の差が小さい場合、共振周波数に由来する筐体の振動と駆動周波数に由来する素子の振動は同期して振動面は山なりに近い形状をとる。反対に共振周波数と駆動周波数の差が大きい場合、筐体の振動と素子の振動は同期しないため、振動面は素子のある場所で山なりにならずフラットになり、全体としては山の頂がフラットになった形をとる。この状態では振動面の振幅は大きくならないため音圧は低下する。
今回の発明では、有底筒状ケースの底面内部に圧電素子を貼り合わせてユニモルフ振動子を形成し、 ユニモルフ振動子の振動によって超音波の送受信を行う空中用超音波送受波器において、
有底筒状ケースの中心から内壁との距離(11)に対して、有底筒状ケースの中心からの距離(12)が50%から90%の距離となる全部の領域(13)または一部の領域(14)に貯蔵弾性率と損失弾性率の比である損失正接tanδが0.001以上でかつ0.6以下であることを特徴とする弾性体を設けたことにより、駆動周波数が共振周波数と比較して高い場合には、 変形速度に応じて応力がかかる弾性体の粘性の効果によって、変化量が大きい台形の上底の端に大きな力が加わり、振動面を山なりにすることができる。また駆動周波数が共振周波数に近い場合には、振動面は元々山なりで変化量が小さいため弾性体の粘性の効果が影響が小さく、この場合においても共振周波数で駆動した場合の波形に近い振動になり効率よく音波が放出される。 そのため、広帯域で超音波センサが効率よく振動することができるようになる。
【図面の簡単な説明】
【0009】
本発明を実施した形態の超音波センサの断面図
本発明の超音波センサ駆動時の模式図
本発明を実施した請求項1に関わる実施形態の俯瞰図
本発明を実施した請求項2に関わる実施形態の俯瞰図
従来の超音波センサの断面図
音圧の帯域と弾性体の損失正接tanδの関係
音圧とtanδと弾性体の損失正接の関係
共振周波数と駆動周波数が一致している場合における振動の変位のシミュレーション
請求項2に関わる実施形態の発明品における共振周波数と駆動周波数が一致していない場合の振動の変位のシミュレーション
従来の構造における共振周波数と駆動周波数が一致していない場合の振動の変位のシミュレーション
【本発明の請求項1に関わる実施形態】
【0010】
図1は本発明の請求項1に関わる実施形態の超音波センサの構造図の一例である。超音波センサの構成は、アルミ合金からなる有底筒状ケース(4)の内底面に、PZT系セラミックと折り返し電極とを構成に含む圧電素子(2)が接着されておりその横に弾性体(3)が配置される。圧電素子(2)の上に成形されたスポンジまたは発泡シリコーン(5)が配置され、リード線(6a)と(6b)が圧電素子(2)の各電極とピン端子(7a)と(7b)の各端子とが半田付けにより電気的に接続されており、有底筒状ケース(4)内部の開口側をシリコーン樹脂からなる弾性体(8)を充填することにより封止されている。
弾性体(3)は図4のように、有底筒状ケースの中心から内壁との距離(11)に対して、有底筒状ケースの中心からの距離(12)が50%から90%の距離となる領域(13)上に配置される。
図5は従来の超音波センサの構造図である。従来の構造では、弾性体(3)に相当する部分が無く他の構造は同じである。
図1に示す本発明の構造において共振周波数と駆動周波数が一致する場合の振動の変位のシミュレーション結果を図8に示す。図8では共振周波数と駆動周波数が一致しており、素子の振動と有底筒状ケースの筐体の振動が同期して、山なりのようになる。
また図5に示す従来の構造の超音波センサでも同様の振動が発生する。従来の構造の場合、共振周波数が駆動周波数と異なる場合、素子の振動と有底筒状ケースの振動が同期せず、図10のように素子の上はフラットに振動形状になった結果振幅が小さくなり大きな音波の放出ができずセンサとして十分に機能しない。これに対して図1に示す本発明の構造においては共振周波数と駆動周波数が一致しない場合、素子の振動と有底筒状ケースの振動が同期しないため素子の上はフラットになろうとするが、素子の周りに配置された弾性体の効果により変形速度に応じて応力がかかるため、振動面上の急峻な動きが抑制され図9に示すような振動の変位のシミュレーション結果になる。そのため、共振周波数と駆動周波数が一致しない状況においても大きな音圧が発生する帯域が広い超音波センサになる。
【本発明の請求項2に関わる実施形態】
(【0011】以降は省略されています)
この特許をJ-PlatPat(特許庁公式サイト)で参照する
関連特許
日本セラミック株式会社
超音波送受信器
今日
個人
イヤーピース
13日前
個人
イヤーマフ
27日前
個人
監視カメラシステム
1か月前
キーコム株式会社
光伝送線路
1か月前
個人
スイッチシステム
21日前
サクサ株式会社
中継装置
1か月前
WHISMR合同会社
収音装置
2か月前
サクサ株式会社
中継装置
1か月前
個人
スキャン式車載用撮像装置
1か月前
アイホン株式会社
電気機器
2か月前
キヤノン株式会社
撮像装置
2か月前
株式会社リコー
画像形成装置
2か月前
サクサ株式会社
無線通信装置
1か月前
キヤノン電子株式会社
画像読取装置
21日前
サクサ株式会社
無線通信装置
1か月前
キヤノン電子株式会社
画像読取装置
13日前
ヤマハ株式会社
放音制御装置
21日前
個人
ワイヤレスイヤホン対応耳掛け
2か月前
サクサ株式会社
無線システム
1か月前
個人
映像表示装置、及びARグラス
22日前
キヤノン電子株式会社
画像読取装置
1か月前
株式会社リコー
画像形成装置
29日前
株式会社リコー
画像形成装置
2か月前
キヤノン電子株式会社
画像読取装置
2か月前
キヤノン電子株式会社
シート搬送装置
13日前
キヤノン株式会社
情報処理装置
今日
キヤノン株式会社
画像処理装置
16日前
個人
発信機及び発信方法
1か月前
日本電気株式会社
海底分岐装置
1か月前
キヤノン株式会社
撮像システム
2か月前
キヤノン電子株式会社
画像処理システム
1か月前
株式会社NTTドコモ
端末
1か月前
日本セラミック株式会社
超音波送受信器
今日
有限会社フィデリックス
マイクロフォン
1か月前
株式会社JVCケンウッド
通信システム
1か月前
続きを見る
他の特許を見る