TOP
|
特許
|
意匠
|
商標
特許ウォッチ
Twitter
他の特許を見る
10個以上の画像は省略されています。
公開番号
2025163893
公報種別
公開特許公報(A)
公開日
2025-10-30
出願番号
2024067512
出願日
2024-04-18
発明の名称
画像読取装置
出願人
キヤノン電子株式会社
代理人
主分類
H04N
1/00 20060101AFI20251023BHJP(電気通信技術)
要約
【課題】スイッチバックを行う搬送経路を含む2つ以上の搬送経路を持つ画像読取装置において、それぞれの搬送経路で異なる停止処理をする要求がある。
【解決手段】原稿Sを搬送する第1の搬送経路RT1と、第1の搬送経路RT1とは異なり、給紙口2aから給紙された原稿Sをスイッチバック搬送により同一の給紙口2aへと排紙する第2の搬送経路RT2と、原稿Sを搬送する搬送手段21と、搬送手段21により搬送される原稿Sの画像を読み取る画像読取手段70と、原稿Sの搬送を停止する停止指示が入力可能な停止入力手段832とを備え、停止入力手段832により停止指示が入力されたときに、原稿Sが第1の搬送経路RT1と第2の搬送経路RT2のいずれを搬送されているかに基づいて、搬送停止制御を変更する。
【選択図】図11
特許請求の範囲
【請求項1】
原稿を搬送する第1の搬送経路と、
前記第1の搬送経路とは異なり、給紙口から給紙された原稿をスイッチバック搬送により同一の給紙口へと排紙する第2の搬送経路と、
原稿を搬送する搬送手段と、
前記搬送手段により搬送される原稿の画像を読み取る画像読取手段と、
原稿の搬送を停止する停止指示が入力可能な停止入力手段と
を備え、
前記停止入力手段により前記停止指示が入力されたときに、原稿が前記第1の搬送経路と前記第2の搬送経路のいずれを搬送されているかに基づいて、搬送停止制御を変更することを特徴とする画像読取装置。
続きを表示(約 1,300 文字)
【請求項2】
前記停止入力手段に対する前記停止指示の入力方法を判別する入力方法判別手段を有し、
前記入力方法判別手段により第1の入力方法が入力されたと判別されたときと、第1の入力方法が入力されたと判別されたときとで、前記搬送停止制御を変更することを特徴とする請求項1に記載の画像読取装置。
【請求項3】
前記停止指示が入力されたときに原稿が前記第1の搬送経路を搬送されている場合には前記入力方法判別手段により判別された入力方法に対応する第1の搬送停止制御を実行し、
前記停止指示が入力されたときに原稿が前記第2の搬送経路を搬送されている場合に、前記入力方法判別手段により判別された入力方法に対応する第2の搬送停止制御として原稿の排紙処理を実行する際に、前記原稿の位置に基づいて原稿を排紙する方向を変更することを特徴とする請求項2に記載の画像読取装置。
【請求項4】
前記入力方法判別手段により第1の入力方法が入力されたと判別されたときに原稿を排紙し、
前記入力方法判別手段により第2の入力方法が入力されたと判別されたとき原稿を排紙せずに原稿の搬送停止をすることを特徴とする請求項2に記載の画像読取装置。
【請求項5】
前記入力方法判別手段は、
一定時間内にボタンが押されてから離されるクリックと、
一定時間内にクリックが複数回行われるマルチクリックと、
一定時間内にボタンが押され続けているホールドのうち2つ以上の入力方法を判別することが可能であることを特徴とする請求項2に記載の画像読取装置。
【請求項6】
前記停止入力手段に対する前記停止指示の入力方法を判別する入力方法判別手段を有し、
前記搬送停止制御として、
前記画像読取手段で画像を読み取りつつ原稿を排紙し次の給紙動作を行わない給紙ストップ処理と、
原稿を排紙せずに原稿の搬送停止をする即時停止処理と、
前記画像読取手段で画像を読み取らずに原稿を排紙する即時排紙処理とのうちのいずれか2つ以上を実行可能であり、
前記入力判別手段により第1の入力方法が入力されたと判別されたとき、前記給紙ストップ処理を実行し、
前記入力方法判別手段により第2の入力方法が入力されたと判別されたとき、前記即時停止処理と前記即時排紙処理の少なくともいずれかを実行することを特徴とする請求項1に記載の画像読取装置。
【請求項7】
前記第2の搬送経路の搬送中に前記第2の入力方法が入力されたとき、前記原稿を前記給紙口から離れる方向に搬送することなく、前記給紙口に向けて排紙することを特徴とする請求項6に記載の画像読取装置。
【請求項8】
表示部を有し、
前記搬送停止制御が実行されたときに、前記表示部に実行された前記搬送停止制御を表示することを特徴とする請求項1に記載の画像読取装置。
【請求項9】
外部装置と通信する通信手段を有し、
前記搬送停止制御が実行されたときに、前記通信手段により前記外部装置に前記搬送停止制御が実行されたことを通知することを特徴とする請求項1から8のいずれか一項に記載の画像読取装置。
発明の詳細な説明
【技術分野】
【0001】
本発明は、原稿を搬送しながら画像を読み取る画像読取装置に関する。
続きを表示(約 1,500 文字)
【背景技術】
【0002】
従来、画像読取装置の中には、ADF(Auto Document Feeder)を備えるものが存在する。ADFを備える画像読取装置では、原稿を画像読取装置に積載し画像読み取り処理を行う。積載した原稿に誤りがあった場合や、原稿の搬送中に斜行が発生した場合に、ユーザーが停止ボタンを押して、画像読み取り処理を停止する。
【0003】
画像読取処理の停止処理において、特定の種類の原稿であるかを判断し、その判断結果に基づいて現在搬送中の原稿の排紙処理まで完了し、次紙の給紙を行わない処理(給紙ストップ)とするか、現在搬送中の搬送動作を即時停止する処理(即時停止)とするかを切り替える画像読取処理装置が知られている(特許文献1参照)。
【先行技術文献】
【特許文献】
【0004】
特開2014-93672号公報
【発明の概要】
【発明が解決しようとする課題】
【0005】
しかしながら、上述した画像読取装置のように、特定の原稿の種類に応じた停止処理の切り替えでは必ずしもユーザーの意図に沿った処理とならない場合があった。
【0006】
また、スイッチバックを行う搬送経路を含む2つ以上の搬送経路を持つ画像読取装置において、それぞれの搬送経路で異なる停止処理をする要求がある。
【0007】
本発明は、上述した問題点を解決するためになされたものであり、ユーザーにとって使いやすい画像読取装置を提供することを目的とする。
【課題を解決するための手段】
【0008】
上記を鑑み、本発明に係る画像読取装置は、
原稿を搬送する第1の搬送経路と、
前記第1の搬送経路とは異なり、給紙口から給紙された原稿をスイッチバック搬送により同一の給紙口へと排紙する第2の搬送経路と、
原稿を搬送する搬送手段と、
前記搬送手段により搬送される原稿の画像を読み取る画像読取手段と、
原稿の搬送を停止する停止指示が入力可能な停止入力手段と
を備え、
前記停止入力手段により前記停止指示が入力されたときに、原稿が前記第1の搬送経路と前記第2の搬送経路のいずれを搬送されているかに基づいて、搬送停止制御を変更する。
【発明の効果】
【0009】
本発明によれば、スイッチバックを行う搬送経路を含む2つ以上の搬送経路を持つ画像読取装置において、それぞれの搬送経路で異なる停止処理をすることにより利便性を向上できる。
【図面の簡単な説明】
【0010】
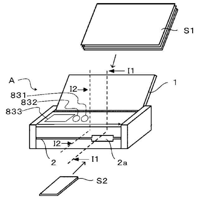
本発明の一実施形態に係る画像読取装置の外観図。
本発明の一実施形態に係る画像読取装置の概略断面図。
経路RT1-1からRT1-2の搬送方向を示す図。
経路RT2-1からRT2-3の搬送方向を示す図。
本発明の一実施形態に係るハードウェア構成例を示すブロック図。
本発明の一実施形態に係る画像読み取り停止処理を示すフローチャート。
本発明の一実施形態に係る停止処理管理テーブルの例。
本発明の一実施形態に係る給紙ストップメッセージの例。
本発明の一実施形態に係る即時停止メッセージの例。
本発明の一実施形態に係る画像読み取り停止処理を示すフローチャート。
本発明の一実施形態に係る停止処理管理テーブルの例。
本発明の一実施形態に係る即時排紙メッセージの例。
【発明を実施するための形態】
(【0011】以降は省略されています)
この特許をJ-PlatPat(特許庁公式サイト)で参照する
関連特許
キヤノン電子株式会社
モータ
14日前
キヤノン電子株式会社
モータ
22日前
キヤノン電子株式会社
加工装置
14日前
キヤノン電子株式会社
画像読取装置
14日前
キヤノン電子株式会社
原稿搬送装置
15日前
キヤノン電子株式会社
画像読取装置
22日前
キヤノン電子株式会社
シート搬送装置
14日前
キヤノン電子株式会社
固定装置及び加工装置
14日前
キヤノン電子株式会社
情報処理装置、情報処理方法およびプログラム
22日前
キヤノン電子株式会社
物体検出システム、物体検出方法およびプログラム
14日前
キヤノン電子株式会社
シート給送装置、シート給送装置の制御方法、及びプログラム
17日前
キヤノン電子株式会社
画像処理システム、読取装置、及び画像処理システムの制御方法
14日前
個人
イヤーピース
14日前
個人
イヤーマフ
28日前
個人
監視カメラシステム
1か月前
キーコム株式会社
光伝送線路
1か月前
個人
スイッチシステム
22日前
WHISMR合同会社
収音装置
2か月前
サクサ株式会社
中継装置
1か月前
サクサ株式会社
中継装置
1か月前
個人
スキャン式車載用撮像装置
1か月前
キヤノン株式会社
撮像装置
2か月前
アイホン株式会社
電気機器
2か月前
個人
ワイヤレスイヤホン対応耳掛け
2か月前
サクサ株式会社
無線通信装置
1か月前
サクサ株式会社
無線通信装置
1か月前
株式会社リコー
画像形成装置
2か月前
サクサ株式会社
無線システム
1か月前
個人
映像表示装置、及びARグラス
23日前
株式会社リコー
画像形成装置
2か月前
キヤノン電子株式会社
画像読取装置
22日前
ヤマハ株式会社
放音制御装置
22日前
キヤノン電子株式会社
画像読取装置
2か月前
株式会社リコー
画像形成装置
1か月前
キヤノン電子株式会社
画像読取装置
1か月前
キヤノン電子株式会社
画像読取装置
14日前
続きを見る
他の特許を見る