TOP
|
特許
|
意匠
|
商標
特許ウォッチ
Twitter
他の特許を見る
公開番号
2025176889
公報種別
公開特許公報(A)
公開日
2025-12-05
出願番号
2024083268
出願日
2024-05-22
発明の名称
撮像装置
出願人
キヤノン株式会社
代理人
個人
主分類
H04N
23/52 20230101AFI20251128BHJP(電気通信技術)
要約
【課題】可動部の円滑な移動を確保しつつ放熱性を高める。
【解決手段】固定部113は、撮像素子115を保持する可動部114を、光軸C1と直交する方向に移動可能に保持する。可撓性を有する放熱部材200は、固定部113と可動部114とに接続される。可動部114の可動方向において放熱部材200と対向する位置に対向部材(フロントベース102)が配置され、放熱部材200と対向部材との間に先端部301が配置される。可動部114の第1の可動範囲よりも狭い第2の可動範囲で可動部114の移動が制御される。第1の可動範囲における可動部114の最大移動時には放熱部材200が規制部材300と接触し、第2の可動範囲における最大移動時には放熱部材200が規制部材300と接触しない。
【選択図】図5
特許請求の範囲
【請求項1】
撮像素子を保持する可動部と、
前記可動部を撮像光軸と直交する方向に移動可能に保持する固定部と、
前記可動部の可動範囲よりも狭い範囲で前記可動部の移動を制御する制御手段と、
前記固定部と前記可動部とに接続された可撓性を有する放熱部材と、
前記可動部の可動方向において前記放熱部材と対向する位置に配置された対向部材と、
前記可動部の可動方向において前記放熱部材と前記対向部材との間に配置された規制部材と、を有し、
前記可動範囲における前記可動部の最大移動時には前記放熱部材が前記規制部材と接触し、
前記制御手段による前記可動部の前記狭い範囲における最大移動時には前記放熱部材が前記規制部材と接触しないことを特徴とする撮像装置。
続きを表示(約 820 文字)
【請求項2】
前記可動範囲における前記可動部の最大移動時に、前記規制部材における前記放熱部材と接触する部分の少なくとも一部は、前記撮像光軸方向から見て前記可動部と重畳することを特徴とする請求項1に記載の撮像装置。
【請求項3】
前記放熱部材と前記可動部との接続位置から前記放熱部材と前記固定部との接続位置までの前記放熱部材の長さは、前記可動部が前記可動範囲の中心に位置するときの前記可動部の可動方向における前記可動部と前記対向部材との距離の2倍より長く且つ4倍よりも短いことを特徴とする請求項1に記載の撮像装置。
【請求項4】
前記規制部材の表面は低摩擦部材で構成されていることを特徴とする請求項1に記載の撮像装置。
【請求項5】
前記規制部材のうち前記狭い範囲における前記可動部の最大移動時に前記放熱部材と接触する部分は、平坦面、凸曲面または凹曲面のいずれかであることを特徴とする請求項1に記載の撮像装置。
【請求項6】
前記可動部の可動方向と前記撮像光軸とに直交する方向において、前記規制部材の幅は前記放熱部材の幅よりも広いことを特徴とする請求項1に記載の撮像装置。
【請求項7】
前記規制部材は、前記対向部材または前記固定部のいずれかに対して固定されていることを特徴とする請求項1に記載の撮像装置。
【請求項8】
前記放熱部材は、信号線を含まないシート状の部材であることを特徴とする請求項1に記載の撮像装置。
【請求項9】
前記可動部は前記対向部材に対して常に接触しないことを特徴とする請求項1に記載の撮像装置。
【請求項10】
前記放熱部材は、前記可動部の可動方向において、前記対向部材から離れる側へ窪むように屈曲していることを特徴とする請求項1に記載の撮像装置。
(【請求項11】以降は省略されています)
発明の詳細な説明
【技術分野】
【0001】
本発明は、撮像装置に関する。
続きを表示(約 1,500 文字)
【背景技術】
【0002】
デジタルスチルカメラやビデオカメラ等の撮像装置には、被写体像を撮像するためのCMOSセンサ、CCDセンサ等の撮像素子や、回路基板に実装されたCPU、IC等の電子素子が搭載されており、これらは熱を発生する。撮像素子や電子素子の温度が過度に上昇すると、これらの性能が低下したり誤作動が生じたりして良好な撮像ができなくなるおそれがある。
【0003】
また、近年、画質の向上を図るために撮像素子を光軸方向に直交する方向へ移動させてぶれ補正を行う撮像装置が普及している。このようなぶれ補正を行う撮像装置においても、ぶれ補正機構の駆動時や、連写撮影時、動画撮影時に、撮像素子において発生する熱が画質に影響を及ぼすため、十分な放熱性が必要とされる。
【0004】
特許文献1では、撮像素子を有する素子ユニット(可動部)と固定板金(固定部)とを放熱シートで接続し、素子ユニットにおいて発生した熱が放熱シート(放熱部材)を介して固定板金に伝達されて放熱される構成を開示する。
【先行技術文献】
【特許文献】
【0005】
特開2012-28940号公報
【発明の概要】
【発明が解決しようとする課題】
【0006】
しかしながら、特許文献1では、素子ユニットからの放熱は専ら固定板金への伝熱によるものであり、放熱効果を高める観点で改善の余地があった。一方で、可動部の駆動制御において可動部の円滑な移動を阻害しないように留意する必要がある。
【0007】
本発明は、可動部の円滑な移動を確保しつつ放熱性を高めることを目的とする。
【課題を解決するための手段】
【0008】
上記目的を達成するために本発明の撮像装置は、撮像素子を保持する可動部と、前記可動部を撮像光軸と直交する方向に移動可能に保持する固定部と、前記可動部の可動範囲よりも狭い範囲で前記可動部の移動を制御する制御手段と、前記固定部と前記可動部とに接続された可撓性を有する放熱部材と、前記可動部の可動方向において前記放熱部材と対向する位置に配置された対向部材と、前記可動部の可動方向において前記放熱部材と前記対向部材との間に配置された規制部材と、を有し、前記可動範囲における前記可動部の最大移動時には前記放熱部材が前記規制部材と接触し、前記制御手段による前記可動部の前記狭い範囲における最大移動時には前記放熱部材が前記規制部材と接触しないことを特徴とする。
【発明の効果】
【0009】
本発明によれば、可動部の円滑な移動を確保しつつ放熱性を高めることができる。
【図面の簡単な説明】
【0010】
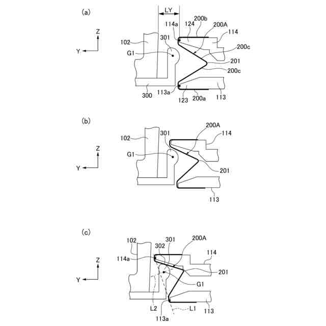
撮像装置システムのブロック図である。
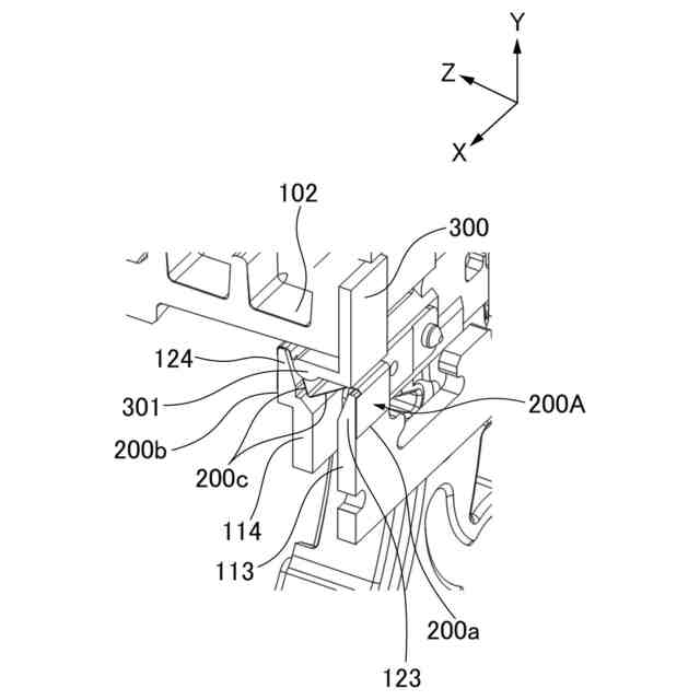
カメラの分解斜視図である。
撮像部の前方分解斜視図、後方分解斜視図である。
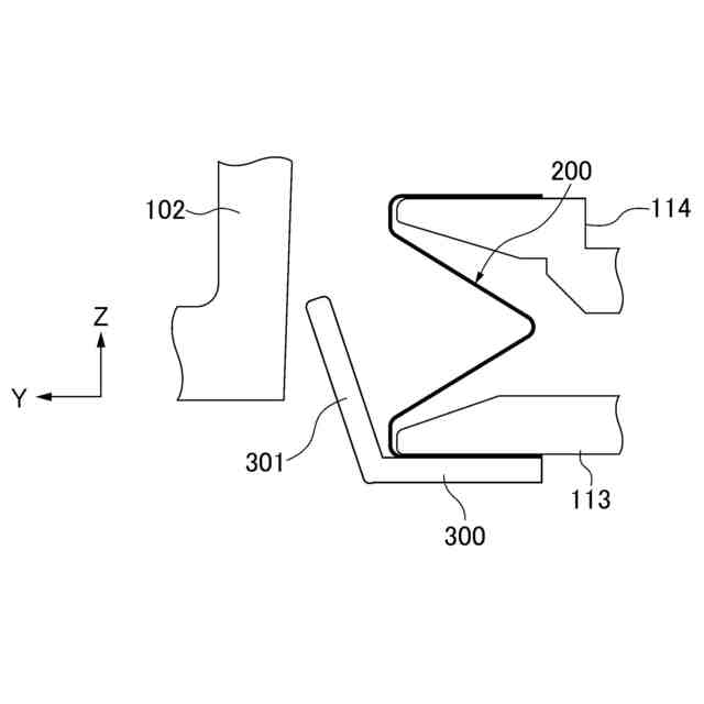
放熱部材が固定部と可動部とに固定された部分の断面を示す斜視図である。
放熱部材が固定部と可動部とに固定された部分を-X側から見た模式図である。
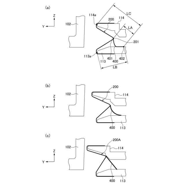
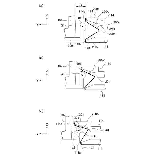
第1~第3変形例における放熱部材および規制部材の先端部の付近を-X側から見た模式図である。
第4変形例における放熱部材および規制部材の先端部の付近を-X側から見た模式図である。
第5変形例における放熱部材および規制部材の先端部の付近を-X側から見た模式図である。
【発明を実施するための形態】
(【0011】以降は省略されています)
この特許をJ-PlatPat(特許庁公式サイト)で参照する
関連特許
キヤノン株式会社
容器
1か月前
キヤノン株式会社
容器
1か月前
キヤノン株式会社
トナー
1か月前
キヤノン株式会社
トナー
1か月前
キヤノン株式会社
トナー
1か月前
キヤノン株式会社
トナー
1か月前
キヤノン株式会社
トナー
28日前
キヤノン株式会社
撮像装置
今日
キヤノン株式会社
撮像装置
1か月前
キヤノン株式会社
記録装置
1日前
キヤノン株式会社
定着装置
21日前
キヤノン株式会社
記録装置
28日前
キヤノン株式会社
撮像装置
23日前
キヤノン株式会社
撮像装置
今日
キヤノン株式会社
撮像装置
28日前
キヤノン株式会社
電子機器
28日前
キヤノン株式会社
撮像装置
1か月前
キヤノン株式会社
現像容器
1か月前
キヤノン株式会社
雲台装置
28日前
キヤノン株式会社
記録装置
1日前
キヤノン株式会社
撮像装置
15日前
キヤノン株式会社
撮像装置
15日前
キヤノン株式会社
電子機器
23日前
キヤノン株式会社
発光装置
7日前
キヤノン株式会社
撮影装置
1か月前
キヤノン株式会社
記録装置
1か月前
キヤノン株式会社
表示装置
7日前
キヤノン株式会社
表示装置
7日前
キヤノン株式会社
撮像装置
7日前
キヤノン株式会社
二次電池
2日前
キヤノン株式会社
現像装置
1か月前
キヤノン株式会社
撮像装置
29日前
キヤノン株式会社
撮像装置
7日前
キヤノン株式会社
表示装置
7日前
キヤノン株式会社
定着装置
15日前
キヤノン株式会社
測距装置
1か月前
続きを見る
他の特許を見る