TOP
|
特許
|
意匠
|
商標
特許ウォッチ
Twitter
他の特許を見る
10個以上の画像は省略されています。
公開番号
2025152602
公報種別
公開特許公報(A)
公開日
2025-10-10
出願番号
2024054570
出願日
2024-03-28
発明の名称
撮影装置
出願人
キヤノン株式会社
代理人
個人
,
個人
,
個人
,
個人
,
個人
主分類
H04N
23/60 20230101AFI20251002BHJP(電気通信技術)
要約
【課題】 撮影した画像を自動で共有する設定がなされたカメラにおいて、所定の画像においては共有が行われないようにする仕組みを提供することを目的の1つとする。
【解決手段】 ネットワークに接続し他のシステムと通信可能な撮影装置は、ユーザの指示によって画像の共有設定を行い、撮影後に撮影した画像を表示し、レビュー表示中にユーザの指示によって画像共有の除外を可能とし、除外された画像以外の画像を共有する。
【選択図】 図1
特許請求の範囲
【請求項1】
ネットワークに接続し外部装置と通信可能な撮影装置であって、
ユーザの指示によって画像の共有設定を行う共有設定手段と、
撮影後に撮影した画像を表示するレビュー表示手段と、
レビュー表示中にユーザの指示によって画像共有の除外を可能とする共有除外手段と、
除外された画像以外の画像を共有する画像共有手段と、
を備えることを特徴とする撮影装置。
続きを表示(約 1,100 文字)
【請求項2】
前記共有除外手段は、連写撮影後のレビュー表示中にユーザの指示によって連写撮影した一連の画像の中から共有する画像を決定し、それ以外は共有を除外できる
ことを特徴とする請求項1に記載の撮影装置。
【請求項3】
前記共有除外手段は、前記共有設定手段により連写撮影された画像を共有対象から全て除外する設定がされていた場合に、連写撮影された画像を共有対象から全て除外する
ことを特徴とする請求項1に記載の撮影装置。
【請求項4】
前記共有除外手段は、前記共有設定手段により連写撮影された画像を共有対象から全て除外しないとする設定がされていた場合に、連写撮影された画像を共有対象から全て除外しない
ことを特徴とする請求項1に記載の撮影装置。
【請求項5】
前記共有除外手段は、前記共有設定手段により連写撮影された画像の中から共有対象を自動で選択する設定がされていた場合に、連写撮影された画像の中から自動で共有する画像を決定し、それ以外の画像を共有対象から除外する
ことを特徴とする請求項1に記載の撮影装置。
【請求項6】
前記共有除外手段は、前記共有設定手段により共有除外する画像をユーザが指定するアカウントに送信する設定がされていた場合に、共有除外する画像を前記ユーザが指定するアカウントに送信する
ことを特徴とする請求項1に記載の撮影装置。
【請求項7】
前記共有除外手段は、前記共有設定手段により共有除外する画像を撮影装置から削除する設定がされていた場合に、共有除外する画像を撮影装置から削除する
ことを特徴とする請求項1に記載の撮影装置。
【請求項8】
前記共有除外手段は、共有除外する画像がすでに共有処理中の場合、その共有処理を停止する
ことを特徴とする請求項1に記載の撮影装置。
【請求項9】
前記共有除外手段は、共有除外する画像がすでに外部装置に送信されている場合、前記外部装置に共有された画像の削除を要求する
ことを特徴とする請求項1に記載の撮影装置。
【請求項10】
ネットワークに接続し外部装置と通信可能な撮影装置の制御方法であって、
ユーザの指示によって画像の共有設定を行う共有設定工程と、
撮影後に撮影した画像を表示するレビュー表示工程と、
レビュー表示中にユーザの指示によって画像共有の除外を可能とする共有除外工程と、
除外された画像以外の画像を共有する画像共有工程と、
を備えることを特徴とする撮影装置の制御方法。
(【請求項11】以降は省略されています)
発明の詳細な説明
【技術分野】
【0001】
本発明は、撮影装置における撮影画像の自動共有の除外方法に関する。
続きを表示(約 1,300 文字)
【背景技術】
【0002】
近年、デジタルカメラやカメラを備えたスマートフォンなどの撮像機能を備える撮像装置が普及している。
【0003】
また、インターネットを介して提供される画像管理サービスが知られており、ユーザはカメラやスマートフォンなどの機器を用いて当該画像管理サービスに画像をアップロードすることが可能である。このような画像管理サービスにおいては、ユーザが画像管理サービス上に自身のアカウントを作成することで、画像管理サービスはユーザのアカウントごとに画像を管理することが一般的である。
【0004】
また、上述した画像管理サービスに対して、カメラが撮影して取得した画像を自動でインターネットを介して当該画像管理サービスに共有する仕組みを搭載するカメラも知られている。
【先行技術文献】
【特許文献】
【0005】
特開2001-186386号公報
【発明の概要】
【発明が解決しようとする課題】
【0006】
しかしながら、カメラで撮影した画像の中には、撮影対象へのフォーカスが合っていない画像など、撮影に失敗した画像が含まれることが想定される。このような撮影に失敗した画像のような、画像管理サービスへの共有を行いたくない画像であっても、カメラが自動で共有を行う設定がなされている場合は、共有が行われてしまうことが考えられる。
【0007】
そこで本発明は上述した課題を鑑み、撮影した画像を自動で共有する設定がなされたカメラにおいて、所定の画像においては共有が行われないようにする仕組みを提供することを目的の1つとする。
【課題を解決するための手段】
【0008】
前記目的を達成するため、本発明の一態様に係る撮影装置は、ネットワークに接続し外部装置と通信可能な撮影装置であって、ユーザの指示によって画像の共有設定を行う共有設定手段と、撮影後に撮影した画像を表示するレビュー表示手段と、レビュー表示中にユーザの指示によって画像共有の除外を可能とする共有除外手段と、除外された画像以外の画像を共有する画像共有手段と、を備えることを特徴とする。
【発明の効果】
【0009】
本発明によれば、所定の画像の自動共有処理を停止することが可能となる。
【図面の簡単な説明】
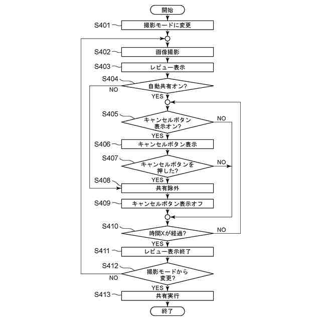
【0010】
撮影装置の構成の一例を示すブロック図である。
画像情報の一例である。
共有設定情報の一例である。
自動共有の動作の一例を示すフローチャートである。
共有実行の動作の一例を示すフローチャートである。
共有キャンセルボタンの表示画面の一例である。
自動共有の動作の一例を示すフローチャートである。
共有ボタンの表示画面の一例である。
共有画像選択画面の一例である。
共有設定情報の一例である。
自動共有の動作の一例を示すフローチャートである。
共有設定情報の一例である。
共有実行の動作の一例を示すフローチャートである。
【発明を実施するための形態】
(【0011】以降は省略されています)
この特許をJ-PlatPat(特許庁公式サイト)で参照する
関連特許
個人
イヤーピース
16日前
個人
イヤーマフ
1か月前
個人
監視カメラシステム
1か月前
キーコム株式会社
光伝送線路
1か月前
個人
スイッチシステム
24日前
個人
スキャン式車載用撮像装置
1か月前
WHISMR合同会社
収音装置
2か月前
サクサ株式会社
中継装置
1か月前
サクサ株式会社
中継装置
1か月前
キヤノン株式会社
撮像装置
2か月前
アイホン株式会社
電気機器
2か月前
株式会社リコー
画像形成装置
2か月前
キヤノン電子株式会社
画像読取装置
16日前
キヤノン電子株式会社
画像読取装置
1か月前
キヤノン電子株式会社
画像読取装置
2か月前
株式会社リコー
画像形成装置
2か月前
サクサ株式会社
無線通信装置
1か月前
サクサ株式会社
無線通信装置
1か月前
サクサ株式会社
無線システム
1か月前
個人
ワイヤレスイヤホン対応耳掛け
2か月前
個人
映像表示装置、及びARグラス
25日前
キヤノン電子株式会社
画像読取装置
24日前
ヤマハ株式会社
放音制御装置
24日前
株式会社リコー
画像形成装置
1か月前
キヤノン株式会社
情報処理装置
3日前
キヤノン株式会社
画像処理装置
19日前
キヤノン株式会社
撮像システム
2か月前
日本電気株式会社
海底分岐装置
1か月前
キヤノン電子株式会社
シート搬送装置
16日前
個人
発信機及び発信方法
1か月前
株式会社NTTドコモ
端末
1か月前
パテントフレア株式会社
超高速電波通信
2か月前
株式会社NTTドコモ
端末
1か月前
大日本印刷株式会社
写真撮影装置
2か月前
株式会社JVCケンウッド
通信システム
1か月前
株式会社松平商会
携帯機器カバー
2か月前
続きを見る
他の特許を見る