TOP
|
特許
|
意匠
|
商標
特許ウォッチ
Twitter
他の特許を見る
公開番号
2025167223
公報種別
公開特許公報(A)
公開日
2025-11-07
出願番号
2024071642
出願日
2024-04-25
発明の名称
シート搬送装置
出願人
キヤノン電子株式会社
代理人
主分類
H04N
1/00 20060101AFI20251030BHJP(電気通信技術)
要約
【課題】上部ユニットの位置を切り替えることで搬送ローラや読取ユニットのニップ圧が小さくなり、冊子体を搬送できる。
【解決手段】シートSを搬送する搬送部と、シートSを読み取る画像読取部と、を備え、装置本体100Aは搬送部と画像読取部を有する上部ユニット103と下部ユニット104で構成され、搬送するシートSの種類にあわせて上部ユニット103の位置を切り替えられることを特徴とする。また、上部ユニット103の位置によって通常搬送形態と冊子体搬送形態とを切り替えることを特徴とする。
【選択図】図5
特許請求の範囲
【請求項1】
シートを搬送する搬送部と、
前記シートを読み取る画像読取部と、を備え、
装置本体は前記搬送部と前記画像読取部を有する上部ユニットと下部ユニットで構成され、搬送する前記シートの種類にあわせて前記上部ユニットの位置を切り替えられることを特徴とするシート搬送装置。
続きを表示(約 750 文字)
【請求項2】
前記上部ユニットの位置によって通常搬送形態と冊子体搬送形態とを切り替えることを特徴とする請求項1に記載のシート搬送装置。
【請求項3】
前記冊子体搬送形態は、前記上部ユニットが前記シートの搬送方向に対して垂直方向に移動した形態であることを特徴とする請求項2に記載のシート搬送装置。
【請求項4】
前記上部ユニットはヒンジ部を有し、前記ヒンジ部は前記下部ユニットが有する孔部と係合することで回動可能に取り付けられることを特徴とする請求項1に記載のシート搬送装置。
【請求項5】
前記ヒンジ部は、前記上部ユニットの前記シートの搬送方向下流側の両端に設けられていることを特徴とする請求項4に記載のシート搬送装置。
【請求項6】
前記ヒンジ部は平面部を有し、前記平面部により前記上部ユニットの位置を切り替えられることを特徴とする請求項4に記載のシート搬送装置。
【請求項7】
前記上部ユニットはロックレバーを備え、前記下部ユニットは爪部を備え、前記ロックレバーが前記爪部に引っ掛けられ前記通常搬送形態を保持していることを特徴とする請求項2記載のシート搬送装置。
【請求項8】
前記下部ユニットは支え部材を備え、前記支え部材は前記冊子体搬送形態に切り替わると突出し、前記ロックレバーが前記支え部材に突き当たり前記冊子体搬送形態を保持することを特徴とする請求項7に記載のシート搬送装置。
【請求項9】
前記支え部材は、センサによって前記通常搬送形態と前記冊子体搬送形態の切り替わりを検知し突出状態と収納状態とを切り替えることを特徴とする請求項8に記載のシート搬送装置。
発明の詳細な説明
【技術分野】
【0001】
本発明は、例えば、スキャナ、ファクシミリ、複写機等の画像読取装置やプリンタ等の画像形成装置に用いられるシート搬送装置、及び、シートから画像を読み取るシート搬送装置及び画像読取装置に関する。
続きを表示(約 2,000 文字)
【背景技術】
【0002】
スキャナなどのシート搬送装置には、例えばパスポートや通帳のような冊子体の搬送に対応したものがある。しかし、開いた冊子体は厚みがあり、シートを搬送する搬送ローラ対の2つのローラ間(ニップ)に冊子体が突入できず不送りとなることや、冊子体が読取ユニットを押し上げる際の負荷による速度変動によって読み取った画像が伸びることがあった。そこで、従来装置では、冊子体が搬送ローラのニップに突出しやすくするため、冊子体を専用のキャリアシートに入れてから搬送している。また、所定の厚さを超える冊子体が搬送ローラのニップに突入した際に、冊子体によって搬送ローラが押上げられると、搬送ローラと一体に構成されている移動部材が読取ユニットを押し上げるシート搬送装置が知られている(特許文献1)。読取ユニットを適切に移動させることで、搬送された冊子体の画像が伸びることなく、良好な画像を読み取ることができる。また、搬送されてきた冊子体が読取ユニットを押し上げる際の負荷が小さくなり、読取ユニットでのジャムの発生を抑制している。
【先行技術文献】
【特許文献】
【0003】
特許第7210263号公報
【発明の概要】
【発明が解決しようとする課題】
【0004】
しかし、上記特許文献1に記載の装置では開いた冊子体の厚みが厚い場合、搬送ローラのニップに冊子体が突入できず、不送りになる懸念があった。
【課題を解決するための手段】
【0005】
上記を鑑み、本発明に係るシート搬送装置は、
シートを搬送する搬送部と、
前記シートを読み取る画像読取部と、を備え、
装置本体は前記搬送部と前記画像読取部を有する上部ユニットと下部ユニットで構成され、搬送する前記シートの種類にあわせて前記上部ユニットの位置を切り替えられることを特徴とする。
【発明の効果】
【0006】
本発明によれば、上部ユニットの位置を切り替えることで、搬送ローラや読取ユニットのニップ圧が小さくなり冊子体を搬送できる。
【図面の簡単な説明】
【0007】
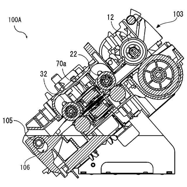
本実施形態に係る画像読取装置の概略構成断面図。
本実施形態に係る画像読取装置の制御ブロック図。
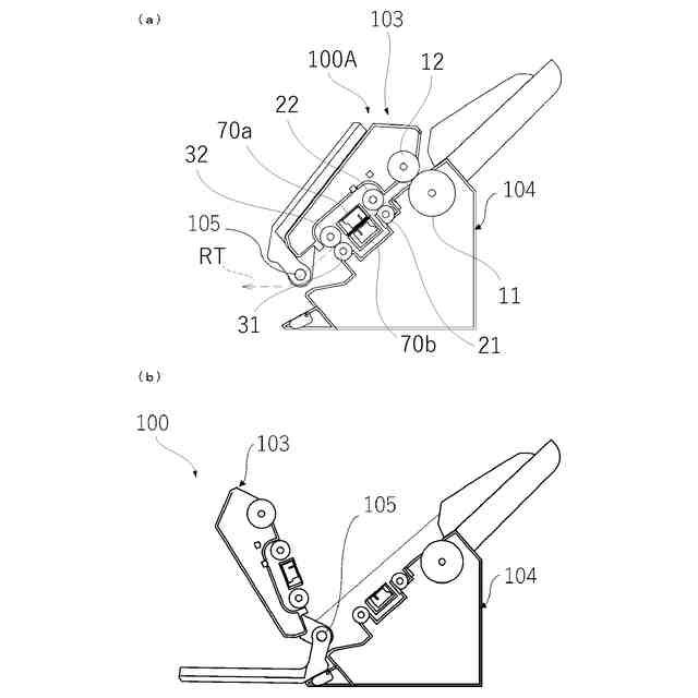
本実施形態に係る画像読取装置の上部ユニットの開閉状態の概略構成断面図。
本実施形態に係る画像読取装置が通常搬送形態にある時の断面図。
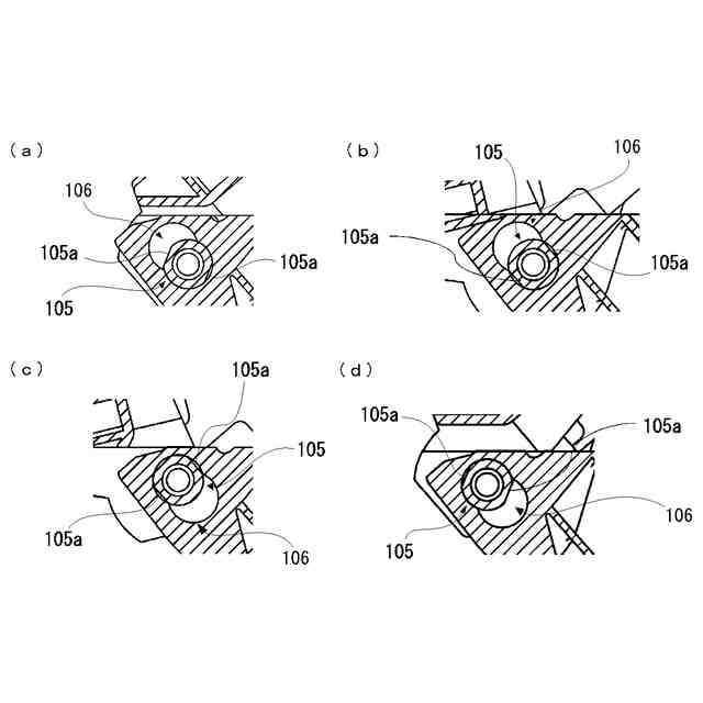
本実施形態に係る画像読取装置の本体ヒンジの動きを示す断面図。
本実施形態に係る画像読取装置の本体ヒンジの動きを示す断面図。
本実施形態に係る画像読取装置が冊子体搬送形態にある時の断面図。
本実施形態に係る画像読取装置のロックレバー周辺の断面図。
【発明を実施するための形態】
【0008】
本実施形態について、図1から図8を用いて説明する。まず、図1を用いて本実施形態に係る画像読取装置の概略構成について説明する。本発明で述べる画像読取装置は、シート搬送装置も含まれるものとする。
【0009】
<画像読取装置>
画像読取装置100は、積載部としての給送トレイ110に積載された一又は複数のシート(搬送媒体、原稿)Sを1つずつ装置内に経路RTにて搬送してその画像を読み取り、排出トレイ2に排出する装置である。読み取るシートSは、例えば、OA紙、小切手、名刺、カード類等のシートであり、厚手のシートであっても、薄手のシートであってもよい。カード類は、例えば、保険証、免許証、クレジットカード等である。また、シートSにはレシートなどの長尺の紙や、パスポートなどの冊子体Tも含まれる。
【0010】
<給送>
経路RTに沿ってシートSを給送する給送機構としての第1搬送部10が設けられている。第1搬送部10は、搬送手段及び第1ローラとしての送りローラ11と、送りローラ11に対向する位置に配置される第2ローラとしての分離ローラ12と、を備え、給送トレイ110に載置されたシートSを搬送方向D1に一枚ずつ順次搬送する。搬送方向D1は、画像読取装置100の載置面に対して所定の角度で傾斜して設けられており、給送トレイ110に載置されたシートSの自重によって給送機構に対してシートが供給される。送りローラ11には、モータ等の駆動部3から伝達部5を介して駆動力が伝達され、送りローラ11は、図中の矢印方向(経路RTに沿ってシートSを搬送させる正方向)に回転駆動される。伝達部5は例えば電磁クラッチであり、駆動部3からの送りローラ11への駆動力の断続(駆動力の伝達及び遮断)が可能である。
(【0011】以降は省略されています)
この特許をJ-PlatPat(特許庁公式サイト)で参照する
関連特許
個人
イヤーピース
22日前
個人
イヤーマフ
1か月前
個人
監視カメラシステム
1か月前
キーコム株式会社
光伝送線路
1か月前
個人
スイッチシステム
1か月前
サクサ株式会社
中継装置
1か月前
個人
スキャン式車載用撮像装置
1か月前
WHISMR合同会社
収音装置
2か月前
サクサ株式会社
中継装置
1か月前
キヤノン株式会社
撮像装置
3か月前
アイホン株式会社
電気機器
2か月前
キヤノン株式会社
撮像装置
1日前
キヤノン電子株式会社
画像読取装置
2か月前
個人
映像表示装置、及びARグラス
1か月前
キヤノン電子株式会社
画像読取装置
1か月前
サクサ株式会社
無線システム
1か月前
株式会社リコー
画像形成装置
1か月前
キヤノン電子株式会社
画像読取装置
1か月前
サクサ株式会社
無線通信装置
1か月前
キヤノン電子株式会社
画像読取装置
22日前
サクサ株式会社
無線通信装置
1か月前
株式会社リコー
画像形成装置
3か月前
ヤマハ株式会社
放音制御装置
1か月前
株式会社リコー
画像形成装置
2か月前
株式会社リコー
画像形成装置
3か月前
個人
ワイヤレスイヤホン対応耳掛け
2か月前
キヤノン株式会社
画像処理装置
25日前
キヤノン株式会社
情報処理装置
9日前
個人
発信機及び発信方法
1か月前
日本電気株式会社
海底分岐装置
1か月前
キヤノン株式会社
撮像システム
2か月前
ブラザー工業株式会社
読取装置
3か月前
キヤノン電子株式会社
シート搬送装置
22日前
株式会社小糸製作所
画像照射装置
2か月前
キヤノン電子株式会社
シート材搬送装置
3か月前
パテントフレア株式会社
超高速電波通信
2か月前
続きを見る
他の特許を見る