TOP
|
特許
|
意匠
|
商標
特許ウォッチ
Twitter
他の特許を見る
10個以上の画像は省略されています。
公開番号
2025132449
公報種別
公開特許公報(A)
公開日
2025-09-10
出願番号
2024030017
出願日
2024-02-29
発明の名称
画像読取装置
出願人
キヤノン電子株式会社
代理人
主分類
H04N
1/04 20060101AFI20250903BHJP(電気通信技術)
要約
【課題】色ずれのない画像を出力しつつ、画像の画質を向上させる。
【解決手段】発光素子72と、発光素子72から照射されて読取対象の原稿で反射された光を受光して、それぞれ異なる波長域に対応した電気信号を出力するライン状の光電変換素子である複数のラインセンサー76と、発光素子72の点灯開始時間、点灯期間、および通電量を制御する発光制御手段70とを備え、ラインセンサー76は副走査方向に所定の間隔を空けて配置され、発光制御手段70は発光素子72のうち、同時に点灯する個数に応じて通電量を変更することを特徴とする。
【選択図】図7
特許請求の範囲
【請求項1】
発光素子と、
前記発光素子から照射されて読取対象の原稿で反射された光を受光して、それぞれ異なる波長域に対応した電気信号を出力するライン状の光電変換素子である複数のラインセンサーと、
前記発光素子の点灯開始時間、点灯期間、および通電量を制御する発光制御手段と
を備え、
前記ラインセンサーは副走査方向に所定の間隔を空けて配置され、
前記発光制御手段は前記発光素子のうち、同時に点灯する個数に応じて通電量を変更することを特徴とする画像読取装置。
続きを表示(約 1,300 文字)
【請求項2】
前記発光素子として、RGBの波長域に対応した3つの発光素子と、前記ラインセンサーとして、RGBの波長域に対応した電気信号を出力する3つのラインセンサーとを有することを特徴とする請求項1に記載の画像読取装置。
【請求項3】
前記発光制御手段は、
前記ラインセンサーの副走査方向の画素間隔に等しい解像度で画像読取する1ラインの画像読取の第1の期間内において、3つの前記発光素子を予め規定された第1の通電量で発光制御し、
前記ラインセンサーの副走査方向の画素間隔の2倍の解像度で画像読取する1ラインの画像読取の第2の期間を、前記発光素子のうちの2つを点灯する第1の点灯期間と、前記発光素子の残り1つを点灯する第2の点灯期間とに分割し、
前記第1の通電量よりも大きい第2の通電量で前記発光素子を発光制御することを特徴とする請求項2に記載の画像読取装置。
【請求項4】
前記発光制御手段は、
前記ラインセンサーの副走査方向の画素間隔に等しい解像度で画像読取する1ラインの画像読取の第1の期間内において、3つの前記発光素子を予め規定された第1の通電量で発光制御し、
前記ラインセンサーの副走査方向の画素間隔の2倍の解像度で画像読取する1ラインの画像読取の第1の期間を、前記発光素子のうちの1つを点灯する第1の点灯期間と、前記発光素子の残り2つを点灯する第2の点灯期間とに分割し、
前記第1の点灯期間では前記第1の通電量よりも大きい第2の通電量で発光制御し、前記第2の点灯期間では前記第2の通電量よりも大きい第3の通電量で前記発光素子を発光制御することを特徴とする請求項2に記載の画像読取装置。
【請求項5】
前記ラインセンサーの副走査方向の画素間隔に等しい解像度で画像読取する1ラインの画像読取の第1の期間内において、3つの前記発光素子を予め規定された第1の通電量で発光制御して1ラインの画像を読み取る第1の読取制御と、
前記ラインセンサーの副走査方向の画素間隔の2倍の解像度で画像読取する1ラインの画像読取の第2の期間において、前記ラインセンサーの副走査方向の両端の2ラインに対応する2つの前記発光素子を前記第1の通電量よりも大きい第2の通電量で発光制御して1ラインの画像を読み取る第2の読取制御と、
前記第2の期間において、前記ラインセンサーの副走査方向の中央の1ラインに対応する2つの前記発光素子を前記第2の通電量以上の第3の通電量で発光制御して1ラインの画像を読み取る第3の読取制御と
を実行可能であり、
前記ラインセンサーの副走査方向の画素間隔に対応するタイミングで前記第2の読取制御と前記第3の読取制御を1ラインごとに繰り返すことで前記ラインセンサーの副走査方向の画素間隔の2倍の解像度の画像を生成することを特徴とする請求項2に記載の画像読取装置。
【請求項6】
前記発光制御手段は、前記第2の読取制御において、前記第2の通電量で発光する2つの前記発光素子を点灯させる時間を制御することで光量を制御する請求項5に記載の画像読取装置。
発明の詳細な説明
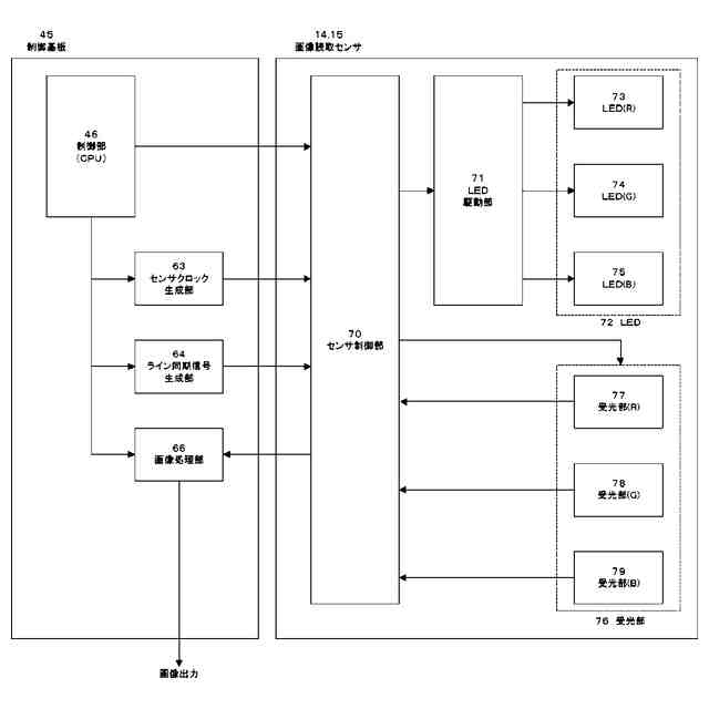
【技術分野】
【0001】
本発明は原稿の画像を読み取るイメージセンサーを備えたイメージスキャナや複写機に適用可能な画像読取装置に関する。
続きを表示(約 1,200 文字)
【背景技術】
【0002】
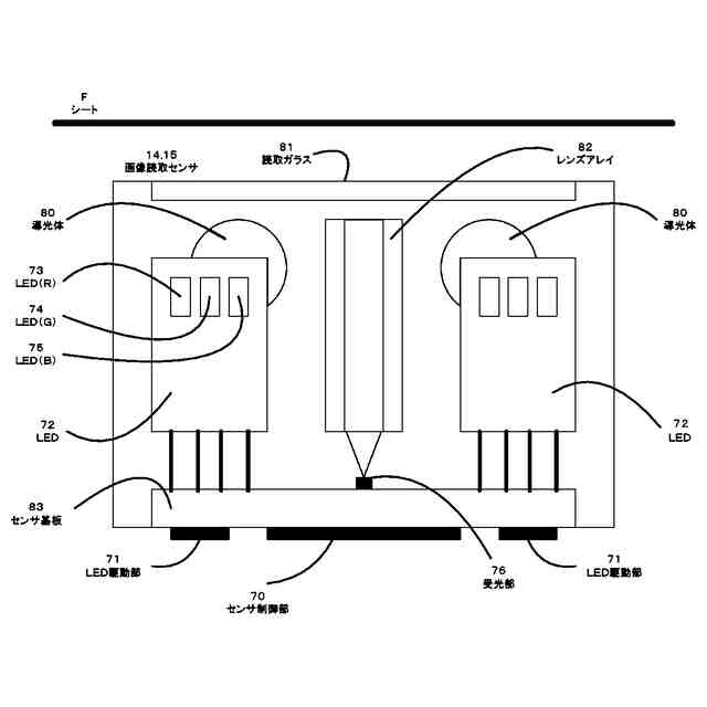
従来の画像読取装置に用いられるイメージセンサーとして、原稿に近接させて原稿と等しい倍率で読み取るコンタクトイメージセンサー(CIS:Contact Image Sensor)が使用されている。
【0003】
CISは、イメージセンサーチップが実装された基板と、光源となるLED、LEDの光を原稿表面に導くための導光体、それらを保持するための筐体が必要であり、CISユニットとして画像読取装置に組み込んで使用される。
【0004】
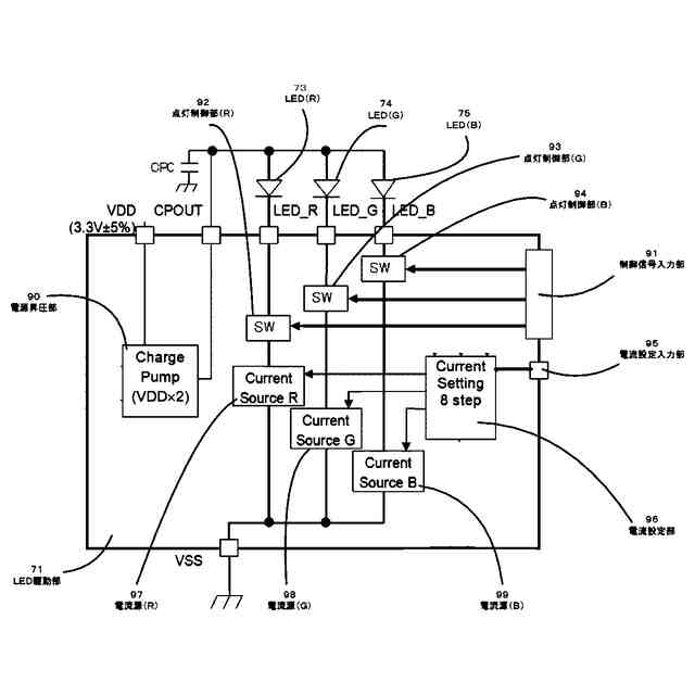
CISユニットのLEDは赤、緑、青(RGB)の3色の発光素子であり、それぞれ独立に点灯および消灯を制御できる。イメージセンサーチップは3本のラインセンサー(光電変換素子)が副走査方向に等間隔で並列に配置されたものであり、赤、緑、青(RGB)の3色に対して感度のピークを持っている。
【0005】
CISで原稿の画像を読み取るには、CISユニットと原稿を相対的に移動させる。しかしながら、ラインセンサーはRGBで副走査方向の位置がずれているため、RGBのラインセンサーで同時に取得した画像から1ラインの画像を生成するとずれている位置の分だけ画像もずれが発生してしまうという問題がある。
【0006】
上記の問題に対して、特許文献1では、副走査方向にラインセンサーがずれている量が読み取る解像度の画素間隔の整数倍に等しい場合、ラインメモリを使用して取得したRGBのラインの画像を遅延させたものから1ラインの画像を生成する方法を提供している。
【0007】
また、特許文献2では、副走査方向にラインセンサーがずれている量が読み取る解像度の画素間隔の整数倍でなかった場合、RGBの各ラインセンサーが相対的に副走査方向にほぼ整数ライン分ずれた位置で画像を取得できるように各ラインセンサーの蓄積期間に対するRGBの各LEDの点灯タイミングを制御する方法を提供している。
【0008】
また、特許文献3では、RGBの各ラインセンサーの配置位置と、CISユニットと原稿の相対的な移動速度とに応じて、RGBの各LEDの点灯タイミングと点灯期間を制御する方法を提供している。
【先行技術文献】
【特許文献】
【0009】
特開平1-109966号公報
特許第4141981号公報
特許第3990437号公報
【発明の概要】
【発明が解決しようとする課題】
【0010】
しかしながら特許文献1の方法は、副走査方向にラインセンサーがずれている量が読み取る解像度の画素間隔の整数倍に等しい場合は良いが、整数倍でない場合は疑似的に画素を補間することになるため、生成した画像がボケて画質が低下してしまう。
(【0011】以降は省略されています)
この特許をJ-PlatPat(特許庁公式サイト)で参照する
関連特許
キヤノン電子株式会社
モータ
14日前
キヤノン電子株式会社
モータ
22日前
キヤノン電子株式会社
加工装置
14日前
キヤノン電子株式会社
画像読取装置
22日前
キヤノン電子株式会社
画像読取装置
1か月前
キヤノン電子株式会社
画像読取装置
14日前
キヤノン電子株式会社
原稿搬送装置
15日前
キヤノン電子株式会社
シート搬送装置
14日前
キヤノン電子株式会社
画像処理システム
1か月前
キヤノン電子株式会社
固定装置及び加工装置
14日前
キヤノン電子株式会社
シート搬送装置及び画像読取装置
1か月前
キヤノン電子株式会社
光学部材、撮像装置及び宇宙航行体
1か月前
キヤノン電子株式会社
光学部材、撮像装置及び宇宙航行体
1か月前
キヤノン電子株式会社
情報処理装置、情報処理方法およびプログラム
22日前
キヤノン電子株式会社
物体検出システム、物体検出方法およびプログラム
14日前
キヤノン電子株式会社
シート給送装置、シート給送装置の制御方法、及びプログラム
17日前
キヤノン電子株式会社
画像処理システム、読取装置、及び画像処理システムの制御方法
14日前
個人
イヤーピース
14日前
個人
イヤーマフ
28日前
個人
監視カメラシステム
1か月前
キーコム株式会社
光伝送線路
1か月前
個人
スイッチシステム
22日前
個人
スキャン式車載用撮像装置
1か月前
WHISMR合同会社
収音装置
2か月前
サクサ株式会社
中継装置
1か月前
サクサ株式会社
中継装置
1か月前
アイホン株式会社
電気機器
2か月前
キヤノン株式会社
撮像装置
2か月前
キヤノン電子株式会社
画像読取装置
1か月前
個人
ワイヤレスイヤホン対応耳掛け
2か月前
サクサ株式会社
無線システム
1か月前
ヤマハ株式会社
放音制御装置
22日前
個人
映像表示装置、及びARグラス
23日前
キヤノン電子株式会社
画像読取装置
14日前
キヤノン電子株式会社
画像読取装置
22日前
株式会社リコー
画像形成装置
2か月前
続きを見る
他の特許を見る