TOP
|
特許
|
意匠
|
商標
特許ウォッチ
Twitter
他の特許を見る
公開番号
2025159948
公報種別
公開特許公報(A)
公開日
2025-10-22
出願番号
2024062840
出願日
2024-04-09
発明の名称
車両の音出力装置
出願人
豊田合成株式会社
代理人
個人
,
個人
主分類
H04R
1/02 20060101AFI20251015BHJP(電気通信技術)
要約
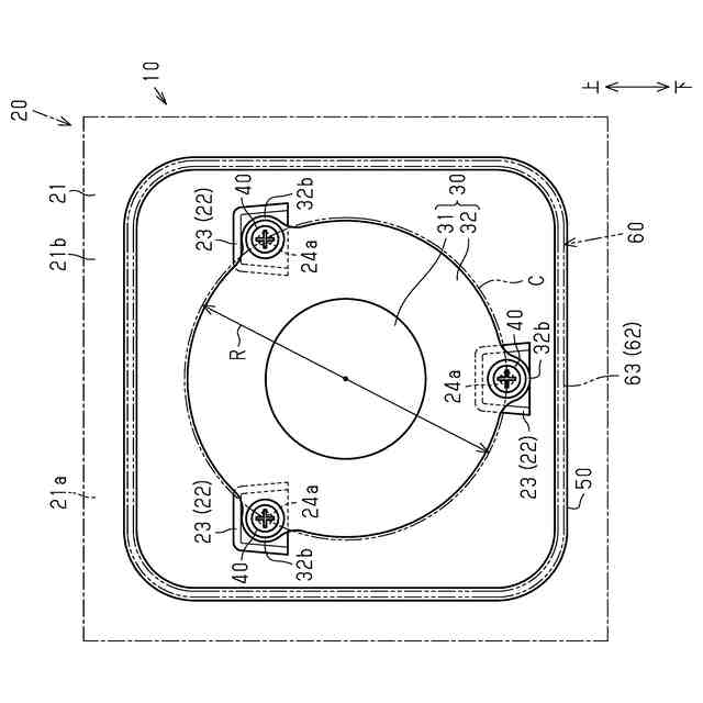
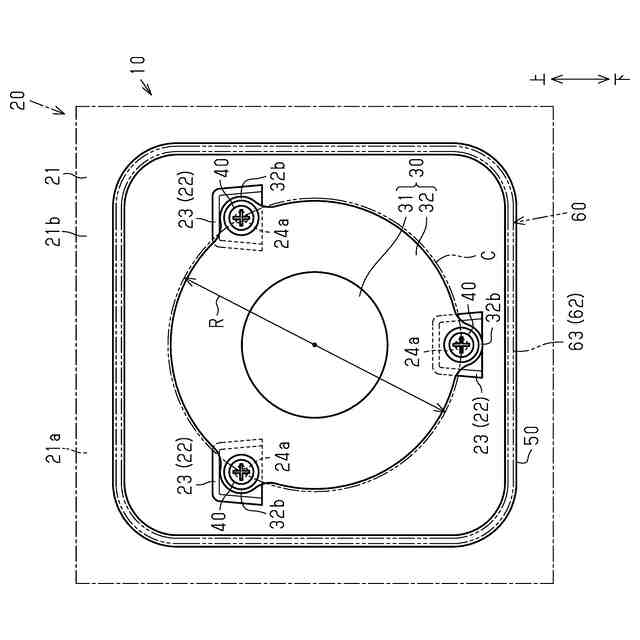
【課題】大きさや形状が互いに異なる外装部材本体であれ、所定の周波数の音波を仮想円の中心から外装部材本体よりも外方に向けて出力することができる。
【解決手段】音出力装置10は、外装部材本体21、振動装置30、複数の連結部22、シール部材50、及び遮音カバー60を備える。音出力装置は、連結部を介して伝播される振動装置の振動により外装部材本体を振動させることで、外装部材本体の振動に伴い発生する音波を車外に出力する。複数の連結部は、外装部材本体の後面21b上に位置する仮想円Cの円周上に配置されている。複数の連結部を介してそれぞれ伝播される振動が外装部材本体における仮想円Cの中心で強め合うように、仮想円Cの直径R及び振動装置による振動の周波数が設定されている。遮音カバーは、振動装置及び連結部を外装部材本体の後側から覆っている。遮音カバーの周縁部63は、仮想円Cの外側に設けられている。
【選択図】図2
特許請求の範囲
【請求項1】
車両の外殻部分の一部を構成する外装部材本体と、
前記外装部材本体よりも前記車両の内方に設けられ、通電により振動する振動装置と、
前記外装部材本体の内面から突出するとともに、前記外装部材本体と前記振動装置とを連結する複数の連結部と、を備え、
前記連結部を介して伝播される前記振動装置の振動により前記外装部材本体を振動させることで、前記外装部材本体の振動に伴い発生する音波を車外に出力する車両の音出力装置であって、
複数の前記連結部は、前記外装部材本体の内面上に位置する仮想円の円周上に配置されており、
複数の前記連結部を介してそれぞれ伝播される振動が前記外装部材本体における前記仮想円の中心で重なり合うことで強め合うように、前記仮想円の直径及び前記振動装置による振動の周波数が設定されており、
前記音出力装置は、
前記振動装置及び前記連結部を前記外装部材本体の内側から覆う遮音カバーを備え、
前記遮音カバーの周縁部は、前記仮想円の外側に設けられている、
車両の音出力装置。
続きを表示(約 310 文字)
【請求項2】
前記外装部材本体の内面と前記遮音カバーの前記周縁部との間には、前記周縁部の全周にわたって弾性材料により形成されたシール部材が設けられている、
請求項1に記載の車両の音出力装置。
【請求項3】
前記振動装置は、
複数の前記連結部の先端に固定される固定板と、
前記固定板に固定されるとともに、前記固定板を振動させる加振器と、を有し、
前記外装部材本体の面方向と直交する方向を直交方向とするとき、
前記固定板と前記遮音カバーとの前記直交方向における間の距離の最小値が5mm以上、20mm以下である、
請求項1または請求項2に記載の車両の音出力装置。
発明の詳細な説明
【技術分野】
【0001】
本発明は、車両の音出力装置に関する。
続きを表示(約 1,800 文字)
【背景技術】
【0002】
特許文献1には、車両の周囲に警報音を発する警報音発生装置が記載されている。特許文献1に記載の警報音発生装置は、車両の外部に露出しているボディ構成部材に取り付けられる振動ユニットと、音響信号供給手段とを備える。音響信号供給手段は、警報用の音響電気信号を振動ユニットに供給する。振動ユニットは、音響電気信号を機械的振動に変換する振動子を有する。振動子の振動によりボディ構成部材が振動することで、車両の周囲に警報音が放射される。
【先行技術文献】
【特許文献】
【0003】
特開2011-246109号公報
【発明の概要】
【発明が解決しようとする課題】
【0004】
ところで、特許文献1に記載の警報音発生装置では、大きさや形状が異なるボディ構成部材に振動ユニットが取り付けられると、振動ユニットの振動の周波数が同じであったとしても、ボディ構成部材の振動の周波数が異なる場合がある。このため、外装部材の振動に伴って放射される音波の周波数が異なるといった問題が生じる。
【課題を解決するための手段】
【0005】
上記課題を解決するための車両の音出力装置の各態様を記載する。
[態様1]
車両の外殻部分の一部を構成する外装部材本体と、前記外装部材本体よりも前記車両の内方に設けられ、通電により振動する振動装置と、前記外装部材本体の内面から突出するとともに、前記外装部材本体と前記振動装置とを連結する複数の連結部と、を備え、前記連結部を介して伝播される前記振動装置の振動により前記外装部材本体を振動させることで、前記外装部材本体の振動に伴い発生する音波を車外に出力する車両の音出力装置であって、複数の前記連結部は、前記外装部材本体の内面上に位置する仮想円の円周上に配置されており、複数の前記連結部を介してそれぞれ伝播される振動が前記外装部材本体における前記仮想円の中心で重なり合うことで強め合うように、前記仮想円の直径及び前記振動装置による振動の周波数が設定されており、前記音出力装置は、前記振動装置及び前記連結部を前記外装部材本体の内側から覆う遮音カバーを備え、前記遮音カバーの周縁部は、前記仮想円の外側に設けられている、車両の音出力装置。
【0006】
上記構成によれば、各連結部を介してそれぞれ伝播される所定の周波数の振動が外装部材本体の内面上に位置する仮想円の中心で重なり合うことで強め合う。このとき、外装部材本体のうち仮想円よりも外側の構成が仮想円よりも内側の振動に対してほとんど影響を与えない。これにより、大きさや形状が互いに異なる外装部材本体であれ、所定の周波数の音波を仮想円の中心から外装部材本体よりも外方に向けて出力することができる。
【0007】
ところで、外装部材本体の内面に加振器が直接取り付けられている場合、外装部材本体のうち加振器が取り付けられた部分だけでなく、外装部材本体のうち加振器が取り付けられた部分よりも外側の部分も大きく振動する。このため、外装部材本体のうち加振器が取り付けられた部分のみを遮音カバーによって覆うだけでは、外装部材本体の振動に伴う音波が車室内へと伝わることを抑制することが困難である。これにより、遮音カバーが大型化するという問題が生じる。
【0008】
この点、上記構成によれば、外装部材本体の内面のうち仮想円よりも内側の部分が遮音カバーで覆われることにより、外装部材本体の振動に伴う音波が車室内へと伝わることが抑制される。特に、上記構成によれば、外装部材本体のうち仮想円よりも外側の部分は大きく振動しないため、当該部分の振動に伴う音波の車室内への進入は問題になりにくい。したがって、外装部材本体の面方向における遮音カバーの体格を小さくすることができる。
【0009】
[態様2]前記外装部材本体の内面と前記遮音カバーの前記周縁部との間には、前記周縁部の全周にわたって弾性材料により形成されたシール部材が設けられている、[態様1]に記載の車両の音出力装置。
【0010】
外装部材本体に遮音カバーが直接取り付けられる場合、外装部材本体の振動が遮音カバーへと伝わり易くなる。このため、遮音カバーの振動により生じる音波が騒音として車室内へと伝わるおそれがある。
(【0011】以降は省略されています)
この特許をJ-PlatPat(特許庁公式サイト)で参照する
関連特許
豊田合成株式会社
積層体
28日前
豊田合成株式会社
調光装置
14日前
豊田合成株式会社
調光装置
1日前
豊田合成株式会社
調光装置
1か月前
豊田合成株式会社
ガラスラン
1か月前
豊田合成株式会社
ガラスラン
1か月前
豊田合成株式会社
半導体素子
14日前
豊田合成株式会社
車両用ビーム
23日前
豊田合成株式会社
車両用ビーム
23日前
豊田合成株式会社
乗員保護装置
24日前
豊田合成株式会社
流体殺菌装置
1日前
豊田合成株式会社
車両用外装品
22日前
豊田合成株式会社
車両用外装品
24日前
豊田合成株式会社
乗員保護装置
1か月前
豊田合成株式会社
車両用外装品
1か月前
豊田合成株式会社
機器制御装置
1か月前
豊田合成株式会社
乗員保護装置
1か月前
豊田合成株式会社
検知システム
23日前
豊田合成株式会社
車両用発光装置
14日前
豊田合成株式会社
車両用発光装置
14日前
豊田合成株式会社
車両用発光装置
14日前
豊田合成株式会社
車両用投影装置
24日前
豊田合成株式会社
立体エアバッグ
1か月前
豊田合成株式会社
エアバッグ装置
1か月前
豊田合成株式会社
車両用照明装置
1か月前
豊田合成株式会社
車両用投影装置
1か月前
豊田合成株式会社
把持検知システム
1か月前
豊田合成株式会社
空調用レジスター
24日前
豊田合成株式会社
車両の音出力装置
1か月前
豊田合成株式会社
車両画像投影装置
28日前
豊田合成株式会社
ステアリング装置
1か月前
豊田合成株式会社
車両の前部構造体
1か月前
豊田合成株式会社
車両用空調ダクト
23日前
豊田合成株式会社
ステアリング装置
1か月前
豊田合成株式会社
ステアリング装置
1か月前
豊田合成株式会社
ステアリング装置
1か月前
続きを見る
他の特許を見る