TOP
|
特許
|
意匠
|
商標
特許ウォッチ
Twitter
他の特許を見る
公開番号
2025145629
公報種別
公開特許公報(A)
公開日
2025-10-03
出願番号
2024045915
出願日
2024-03-22
発明の名称
ガラスラン
出願人
豊田合成株式会社
代理人
個人
,
個人
主分類
B60J
10/76 20160101AFI20250926BHJP(車両一般)
要約
【課題】 ドアガラスの振動エネルギーを効率的に流して散逸させることが可能なガラスランを提供する。
【課題を解決するための手段】
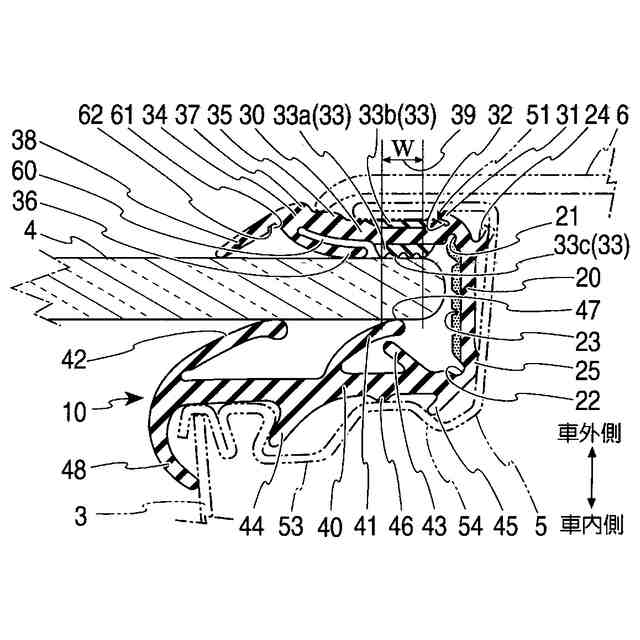
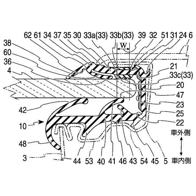
底壁20と、車外側側壁30と、車内側側壁40を基本骨格とし、車両のドア1のドアフレーム3に取付けられ、ドアガラス4の昇降をガイドするガラスラン10であって、車外側側壁30の車内側には、車外側側壁30より硬度が高い硬質部33が形成され、硬質部33は、ドアガラス4の車外側に摺接し、車内側側壁40の車外側には、車外側、且つ底壁20側に延設し、ドアガラス4の車内側に摺接する第1車内側シールリップ41が形成され、第1車内側シールリップ41のドアガラス4に当接する車内側シールリップ当接部47は、硬質部33におけるドアガラス4の車外側面に対する反力確保領域39内に位置している。
【選択図】図3
特許請求の範囲
【請求項1】
底壁と、車外側側壁と、車内側側壁を基本骨格とし、車両のドアのドアフレームに取付けられ、ドアガラスの昇降をガイドするガラスランであって、
前記車外側側壁の車内側には、前記車外側側壁より硬度が高い硬質部が形成され、前記硬質部は、前記ドアガラスの車外側に摺接し、
前記車内側側壁の車外側には、車外側、且つ前記底壁側に延設し、前記ドアガラスの車内側に摺接する車内側シールリップが形成され、
前記車内側シールリップの前記ドアガラスに当接する車内側シールリップ当接部は、前記硬質部における前記ドアガラスの車外側面に対する反力確保領域内に位置していることを特徴とするガラスラン。
続きを表示(約 560 文字)
【請求項2】
前記車外側側壁において、前記硬質部より先端側には、車内側、且つ前記底壁側に延設し、前記ドアガラスの車外側に摺接する車外側シールリップが形成され、
前記ドアガラスの開閉時に、前記車外側シールリップは前記硬質部には当接せず、
前記車外側シールリップと前記車外側側壁との間には、空隙部が形成されている請求項1に記載のガラスラン。
【請求項3】
前記車内側側壁において、前記車内側シールリップより先端側には、車外側、且つ前記底壁側に延設し、前記ドアガラスの車内側に摺接する先端側車内側シールリップが形成され、
前記ドアガラスの開閉時に、前記先端側車内側シールリップは前記車内側シールリップに当接せず、
前記ドアガラスへの押圧力は、前記車内側シールリップが前記先端側車内側シールリップより大きい請求項1又は請求項2に記載のガラスラン。
【請求項4】
前記車外側シールリップより先端側には、車内側、且つ前記底壁と反対側に延設し、前記ドアガラスの車外側に摺接する車外側カバーリップが形成され、
前記車外側カバーリップの前記車外側シールリップとの連結部分の車内側には、略台形形状に抉れた凹部が形成されている請求項2又は請求項3に記載のガラスラン。
発明の詳細な説明
【技術分野】
【0001】
本発明は、自動車等車両のドアに形成されたドアフレームに取付けられるガラスランに関するものである。
続きを表示(約 1,700 文字)
【背景技術】
【0002】
自動車等車両の静粛性向上は、乗員の快適性が高められるので、商品力向上のアピール度が高い。又、今後急速に普及が進むことが予想される電気自動車においては、従来搭載されているエンジンが無くなるので、そのエンジン音が無くなることによって残存する主な騒音は、ロードノイズと風切音が顕在化する。したがって、それらの低減技術の必要性が従来以上に高まっている。
【0003】
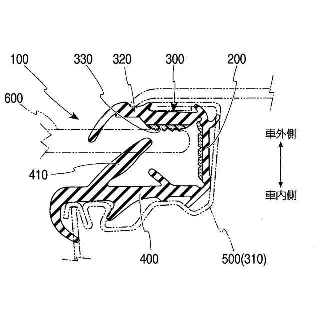
例えば、図4には、ガラスランの剛性を増大させることによりガラスランのインピーダンスをガラスのインピーダンスに近づけるインピーダンスマッチングを利用して振動を低減する技術が開示されている(例えば、特許文献1)。
【0004】
図4において、ガラスラン100は、底壁200と、車外側側壁300と、車内側側壁400を基本骨格とし、基本骨格がドアフレーム310に形成されたドアフレーム溝部500に取付けられ、車外側側壁300の車内側には、車外側側壁300の車外側側壁本体部320より硬度が高い肉厚部330が車内側に突出して形成され、肉厚部330は、ドアガラス600に摺接している。
【0005】
又、車内側側壁400の先端部と底壁200との間から車外側且つ底壁200側に延設され、車外側の側面がドアガラス600に摺接する車内側シールリップ410が形成されている。そして、ドアガラス600が肉厚部330と車内側シールリップ410に摺接する時のドアガラス600への車外側及び車内側からの押圧力は、車内側の方が車外側より大きい。
【先行技術文献】
【特許文献】
【0006】
特開2023-53894号公報
【発明の概要】
【発明が解決しようとする課題】
【0007】
ところで、図4において、肉厚部330のドアガラス600の車外側面に当接する位置と、車内側シールリップ410のドアガラス600の車内側面に当接する位置を比較すると、車内側シールリップ410の方が車内側側壁400の先端側に位置している。
【0008】
この位置関係では、車内側シールリップ410がドアガラス600を車外側に押圧する力は、ドアガラス600を肉厚部330に押圧する力として直接的に十分に機能していない。そのため、車内側シールリップ410に摺接する時のドアガラス600への車外側及び車内側からの押圧力を、車内側を大きし、ドアガラス600を肉厚部330に押圧する力として十分に機能させるためには、例えば、車内側シールリップ410の車内側側壁400との連結部を太くする、又は、車内側シールリップ410を撓み難くする等の必要がある。
しかしながら、上記対応では、車内側シールリップ410がドアガラス600と当接する部位におけるドアガラス600を車外側に押圧する力が増大するので、ドアガラス600に対する摺接性が悪化する。
【0009】
一方、上記の特許文献1では、インピーダンスマッチングに基づく振動低減は図られるものの、車外側から車外側側壁300とドアガラス600の間に入り込み、ドアガラス600の先端部を車内側に回り込み、ドアガラス600と車内側側壁400の間を通過するガラスラン透過ルートに基づく透過音の遮蔽効果は十分とは言えない。
【課題を解決するための手段】
【0010】
上記課題を解決するために、請求項1の本発明は、底壁と、車外側側壁と、車内側側壁を基本骨格とし、車両のドアのドアフレームに取付けられ、ドアガラスの昇降をガイドするガラスランであって、車外側側壁の車内側には、車外側側壁より硬度が高い硬質部が形成され、硬質部は、ドアガラスの車外側に摺接し、車内側側壁の車外側には、車外側、且つ底壁側に延設し、ドアガラスの車内側に摺接する車内側シールリップが形成され、車内側シールリップのドアガラスに当接する車内側シールリップ当接部は、硬質部におけるドアガラスの車外側面に対する反力確保領域内に位置していることを特徴とするガラスランである。
(【0011】以降は省略されています)
この特許をJ-PlatPat(特許庁公式サイト)で参照する
関連特許
豊田合成株式会社
積層体
10日前
豊田合成株式会社
調光装置
19日前
豊田合成株式会社
検知システム
5日前
豊田合成株式会社
乗員保護装置
25日前
豊田合成株式会社
車両用外装品
4日前
豊田合成株式会社
車両用外装品
6日前
豊田合成株式会社
車両用ビーム
5日前
豊田合成株式会社
乗員保護装置
6日前
豊田合成株式会社
車両用ビーム
5日前
豊田合成株式会社
車両用投影装置
6日前
豊田合成株式会社
車両用投影装置
12日前
豊田合成株式会社
車両用照明装置
12日前
豊田合成株式会社
エアバッグ装置
25日前
豊田合成株式会社
車両画像投影装置
10日前
豊田合成株式会社
車両の音出力装置
12日前
豊田合成株式会社
車両の前部構造体
19日前
豊田合成株式会社
ステアリング装置
26日前
豊田合成株式会社
ステアリング装置
25日前
豊田合成株式会社
ステアリング装置
26日前
豊田合成株式会社
把持検知システム
27日前
豊田合成株式会社
ステアリング装置
27日前
豊田合成株式会社
車両用空調ダクト
5日前
豊田合成株式会社
空調用レジスター
6日前
豊田合成株式会社
コンテンツ体験装置
26日前
豊田合成株式会社
車両用体験システム
26日前
豊田合成株式会社
車内用発光表示装置
10日前
豊田合成株式会社
モーションレジスタ
6日前
豊田合成株式会社
車両用カップホルダ
11日前
豊田合成株式会社
車両用リッド開閉装置
25日前
豊田合成株式会社
車両用リッド開閉装置
25日前
豊田合成株式会社
助手席用乗員保護装置
26日前
豊田合成株式会社
車両乗員用衝撃吸収装置
6日前
豊田合成株式会社
車両用シャッタ式物入れ
17日前
豊田合成株式会社
カーテンエアバッグ装置
25日前
豊田合成株式会社
見切りウェザストリップ
26日前
豊田合成株式会社
車両用見切りシール部材
10日前
続きを見る
他の特許を見る