TOP
|
特許
|
意匠
|
商標
特許ウォッチ
Twitter
他の特許を見る
10個以上の画像は省略されています。
公開番号
2025172559
公報種別
公開特許公報(A)
公開日
2025-11-26
出願番号
2024078132
出願日
2024-05-13
発明の名称
車両用ホルダ装置
出願人
豊田合成株式会社
代理人
個人
,
個人
主分類
B60R
7/06 20060101AFI20251118BHJP(車両一般)
要約
【課題】配置位置が制限されることを抑制できる車両用ホルダ装置を提供する。
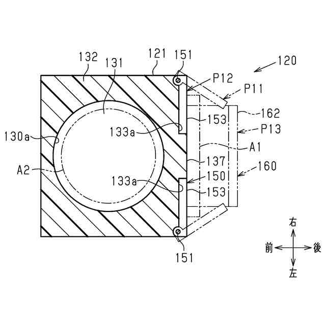
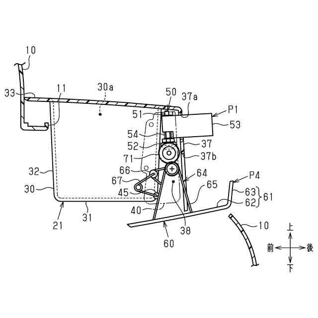
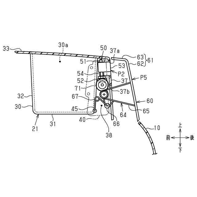
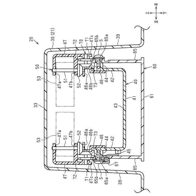
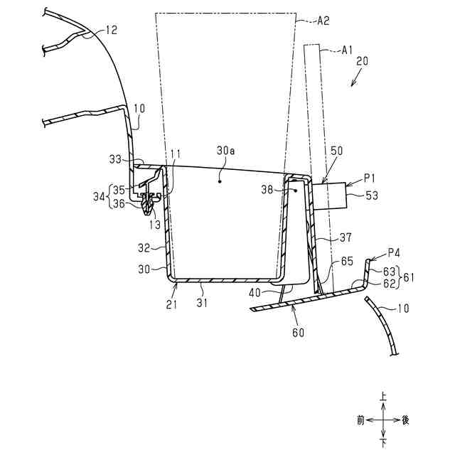
【解決手段】ホルダ装置20は、車室内に露出する基部21と、互いに接近及び離間するように基部21に対して回転可能に支持され、第1物品A1を挟み込んで保持する一対の保持部53とを備える。基部21は、一対の保持部53を格納する格納凹部38を有している。一対の保持部53は、基部21に対して展開された状態で第1物品A1を保持する保持位置P1と、格納凹部38に格納される格納位置との間で基部21に対して回転する。
【選択図】図2
特許請求の範囲
【請求項1】
車両の内装部材に設けられた車両用ホルダ装置であって、
車室内に露出する基部と、
互いに接近及び離間するように前記基部に対して回転可能に支持され、物品を挟み込んで保持する一対の保持部と、を備え、
前記基部は、前記一対の保持部を格納する格納凹部を有しており、
前記一対の保持部は、前記基部に対して展開された状態で前記物品を保持する保持位置と、前記格納凹部に格納される格納位置と、の間で前記基部に対して回転する、
車両用ホルダ装置。
続きを表示(約 1,200 文字)
【請求項2】
前記物品を第1物品とするとき、
前記基部は、上方に開口するとともに第2物品を収容する収容凹部を有している、
請求項1に記載の車両用ホルダ装置。
【請求項3】
前記一対の保持部の各々は、上下方向に延びる第1軸線周りに前記基部に対して回転可能に支持されており、
前記第1軸線に交差する方向に延びる第2軸線周りに前記基部に対して回転可能に支持され、前記物品を下方から支持する支持部を備え、
前記支持部は、前記基部に対して展開された状態で前記物品を下方から支持する支持位置と、前記一対の保持部を前記基部とは反対側から覆うカバー位置と、の間で前記基部に対して回転する、
請求項1または請求項2に記載の車両用ホルダ装置。
【請求項4】
前記支持部を前記基部に対して回転可能に連結する連結部と、
前記連結部と前記基部とに接続され、前記基部に対する前記支持部の回転時の位置が前記支持位置と前記カバー位置との間の中間位置を越えたときに前記連結部の付勢方向を反転させる付勢部材と、を有しており、
前記付勢部材は、前記支持部が前記支持位置と前記中間位置との間に位置するときには、前記支持部が前記支持位置に向かう方向に前記連結部を付勢し、前記支持部が前記カバー位置と前記中間位置との間に位置するときには、前記支持部が前記カバー位置に向かう方向に前記連結部を付勢する、
請求項3に記載の車両用ホルダ装置。
【請求項5】
前記格納凹部を第1格納凹部とし、前記格納位置を第1格納位置とするとき、
前記一対の保持部の各々は、上下方向に延びる第1軸線周りに前記基部に対して回転可能に支持されており、
前記第1軸線に交差する方向に延びる第2軸線周りに前記基部に対して回転可能に支持され、前記物品を下方から支持する支持部を備え、
前記基部は、前記支持部を格納する第2格納凹部を有しており、
前記支持部は、前記基部に対して展開された状態で前記物品を下方から支持する支持位置と、前記第2格納凹部に格納される第2格納位置と、の間で前記基部に対して回転する、
請求項1または請求項2に記載の車両用ホルダ装置。
【請求項6】
前記支持部は、前記物品を下方から支持する一般部と、前記一般部から突出するとともに前記基部に対する前記支持部の回転を操作するための操作部と、を有しており、
前記第1格納位置に位置する前記一対の保持部の各々の外面は、前記基部の外面と面一であり、
前記第2格納位置に位置する前記支持部の前記一般部の外面は、前記基部の外面と面一である、
請求項5に記載の車両用ホルダ装置。
【請求項7】
前記物品は、電子機器であり、
前記基部は、前記一対の保持部に保持された前記物品に非接触給電する給電装置を備える、
請求項1に記載の車両用ホルダ装置。
発明の詳細な説明
【技術分野】
【0001】
本発明は、車両用ホルダ装置に関する。
続きを表示(約 1,600 文字)
【背景技術】
【0002】
特許文献1には、車両のダッシュボードに設けられたオーディオ装置から突出して電子機器を保持するホルダ装置が開示されている。オーディオ装置は、車室内に露出する意匠部と、ダッシュボードの内部に配置されていて車室内に露出しない本体部とを備えている。
【0003】
ホルダ装置は、板状の可動ベースと、可動ベースの端部にヒンジを介して回転可能に連結された保持部とを備えている。可動ベースは、本体部に対して出没可能に設けられている。保持部は、電子機器が載置される載置部と、電子機器を挟み込む一対の挟持部とを有している。保持部は、可動ベースに対して折り畳まれた位置と、可動ベースに対して起立した位置とに回転可能である。
【0004】
ホルダ装置では、保持部を可動ベースに対して折り畳むことにより、保持部及び可動ベースを本体部に格納することができる。また、保持部を可動ベースに対して起立させることにより、保持部によって電子機器を保持することができる。
【先行技術文献】
【特許文献】
【0005】
特開2020-26242号公報
【発明の概要】
【発明が解決しようとする課題】
【0006】
ところで、上記ホルダ装置においては、本体部の内部に可動ベースを格納するための空間が必要となる。この場合、可動ベースと、車両における他の部材との干渉を回避する必要があるため、車室内におけるホルダ装置の配置位置が制限されるおそれがある。
【課題を解決するための手段】
【0007】
上記課題を解決するための車両用ホルダ装置の各態様を記載する。
[態様1]車両の内装部材に設けられた車両用ホルダ装置であって、車室内に露出する基部と、互いに接近及び離間するように前記基部に対して回転可能に支持され、物品を挟み込んで保持する一対の保持部と、を備え、前記基部は、前記一対の保持部を格納する格納凹部を有しており、前記一対の保持部は、前記基部に対して展開された状態で前記物品を保持する保持位置と、前記格納凹部に格納される格納位置と、の間で前記基部に対して回転する、車両用ホルダ装置。
【0008】
上記構成によれば、一対の保持部を保持位置に位置させることにより、一対の保持部によって物品を保持することができる。また、一対の保持部を格納位置に位置させることにより、一対の保持部を格納凹部に格納することができる。一対の保持部は、基部に対して回転することにより保持位置から格納位置に移動するため、一対の保持部を格納するためのスペースが増大することを抑制できる。したがって、一対の保持部を設けることに起因して内装部材に対する車両用ホルダ装置の配置位置が制限されることを抑制できる。
【0009】
[態様2]前記物品を第1物品とするとき、前記基部は、上方に開口するとともに第2物品を収容する収容凹部を有している、[態様1]に記載の車両用ホルダ装置。
上記構成によれば、一対の保持部によって第1物品を保持するとともに、基部に第2物品を収容することができる。したがって、車両用ホルダ装置の機能性を向上させることができる。
【0010】
[態様3]前記一対の保持部の各々は、上下方向に延びる第1軸線周りに前記基部に対して回転可能に支持されており、前記第1軸線に交差する方向に延びる第2軸線周りに前記基部に対して回転可能に支持され、前記物品を下方から支持する支持部を備え、前記支持部は、前記基部に対して展開された状態で前記物品を下方から支持する支持位置と、前記一対の保持部を前記基部とは反対側から覆うカバー位置と、の間で前記基部に対して回転する、[態様1]または[態様2]に記載の車両用ホルダ装置。
(【0011】以降は省略されています)
この特許をJ-PlatPat(特許庁公式サイト)で参照する
関連特許
豊田合成株式会社
積層体
1か月前
豊田合成株式会社
調光装置
1か月前
豊田合成株式会社
調光装置
6日前
豊田合成株式会社
調光装置
19日前
豊田合成株式会社
半導体素子
19日前
豊田合成株式会社
流体殺菌装置
6日前
豊田合成株式会社
車両用外装品
29日前
豊田合成株式会社
乗員保護装置
1か月前
豊田合成株式会社
乗員保護装置
29日前
豊田合成株式会社
検知システム
28日前
豊田合成株式会社
車両用ビーム
28日前
豊田合成株式会社
車両用ビーム
28日前
豊田合成株式会社
車両用外装品
27日前
豊田合成株式会社
車両用照明装置
1か月前
豊田合成株式会社
車両用投影装置
1か月前
豊田合成株式会社
エアバッグ装置
1か月前
豊田合成株式会社
立体エアバッグ
1か月前
豊田合成株式会社
車両用投影装置
29日前
豊田合成株式会社
車両用発光装置
19日前
豊田合成株式会社
車両用発光装置
19日前
豊田合成株式会社
車両用発光装置
19日前
豊田合成株式会社
車両の音出力装置
1か月前
豊田合成株式会社
車両用ホルダ装置
今日
豊田合成株式会社
ステアリング装置
6日前
豊田合成株式会社
車両画像投影装置
1か月前
豊田合成株式会社
ステアリング装置
6日前
豊田合成株式会社
ステアリング装置
6日前
豊田合成株式会社
車両の前部構造体
1か月前
豊田合成株式会社
ステアリング装置
6日前
豊田合成株式会社
ステアリング装置
1か月前
豊田合成株式会社
車両用ホルダ装置
今日
豊田合成株式会社
ステアリング装置
1か月前
豊田合成株式会社
ステアリング装置
1か月前
豊田合成株式会社
ステアリング装置
1か月前
豊田合成株式会社
把持検知システム
1か月前
豊田合成株式会社
空調用レジスター
29日前
続きを見る
他の特許を見る