TOP
|
特許
|
意匠
|
商標
特許ウォッチ
Twitter
他の特許を見る
公開番号
2025172557
公報種別
公開特許公報(A)
公開日
2025-11-26
出願番号
2024078130
出願日
2024-05-13
発明の名称
車両用ホルダ装置
出願人
豊田合成株式会社
代理人
個人
,
個人
主分類
B60R
7/06 20060101AFI20251118BHJP(車両一般)
要約
【課題】機能性を向上させることができる車両用ホルダ装置を提供する。
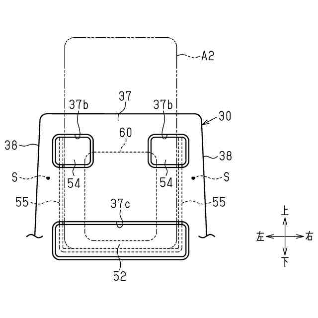
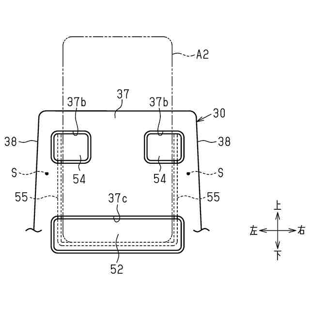
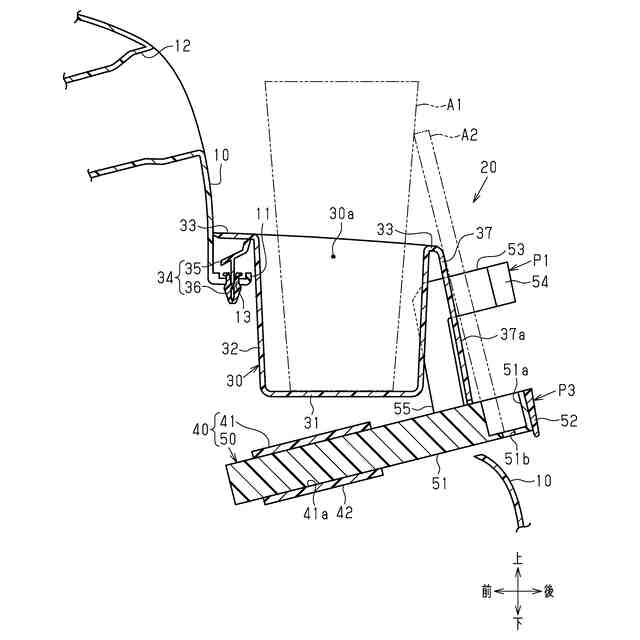
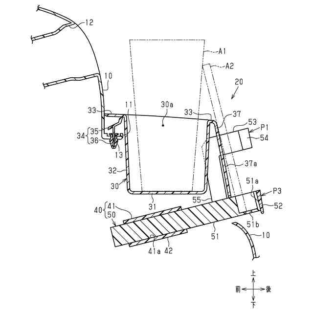
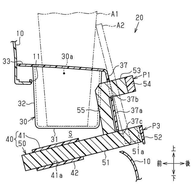
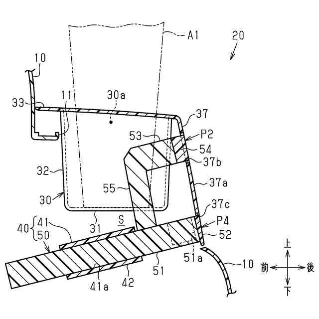
【解決手段】ホルダ装置20は、収容凹部30aに第1物品A1を収容する収容部30と、第2物品A2を挟み込んで保持する一対の保持部53とを備える。収容部30は、上方に開口する収容凹部30aを形成する周壁32を有している。一対の保持部53は、収容部30に対して進退可能に構成されている。一対の保持部53は、保持位置P1と第1格納位置との間で収容部30に対して進退する。保持位置P1は、一対の保持部53が、収容部30から収容凹部30aの開口方向に交差する方向に突出するとともに第2物品A2を保持する位置である。第1格納位置は、一対の保持部53が、周壁32を挟んで互いに反対側に位置するとともに収容部30に格納される位置である。
【選択図】図2
特許請求の範囲
【請求項1】
車両の内装部材に設けられた車両用ホルダ装置であって、
上方に開口する収容凹部を形成する周壁を有し、前記収容凹部に第1物品を収容する収容部と、
前記収容部に対して進退可能に構成され、第2物品を挟み込んで保持する一対の保持部と、を備え、
前記一対の保持部は、前記収容部から前記収容凹部の開口方向に交差する方向に突出するとともに前記第2物品を保持する保持位置と、前記周壁を挟んで互いに反対側に位置するとともに前記収容部に格納される格納位置と、の間で前記収容部に対して進退する、
車両用ホルダ装置。
続きを表示(約 1,000 文字)
【請求項2】
前記収容部は、前記周壁に隣り合って設けられ、前記一対の保持部に保持された前記第2物品に対向する対向壁を有しており、
前記対向壁は、下方に向かうにつれて前記周壁から離れるように上下方向に対して傾斜した傾斜面を有している、
請求項1に記載の車両用ホルダ装置。
【請求項3】
前記一対の保持部は、前記傾斜面に直交する方向において前記収容部に対して進退する、
請求項2に記載の車両用ホルダ装置。
【請求項4】
前記収容部は、前記周壁に隣り合って設けられ、前記一対の保持部に保持された前記第2物品に対向する対向壁を有しており、
前記一対の保持部は、前記収容部に対して進退する際に前記対向壁に対して出没し、
前記格納位置に位置する前記一対の保持部の進退方向における一端面は、前記対向壁の外面と面一である、
請求項1に記載の車両用ホルダ装置。
【請求項5】
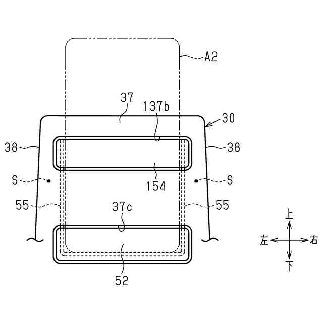
前記収容部は、前記周壁を挟んで互いに反対側に位置する一対の側壁を有しており、
前記一対の側壁は、前記格納位置に位置する前記一対の保持部を前記周壁とは反対側からそれぞれ覆う、
請求項1に記載の車両用ホルダ装置。
【請求項6】
前記格納位置を第1格納位置とするとき、
前記一対の保持部と連動して前記収容部に対して進退可能に構成され、前記第2物品を下方から支持する支持部を備え、
前記支持部は、前記収容部から前記開口方向に交差する方向に突出するとともに前記第2物品を下方から支持する支持位置と、前記収容部に格納される第2格納位置と、の間で前記収容部に対して進退する、
請求項1~請求項5のいずれか一項に記載の車両用ホルダ装置。
【請求項7】
前記一対の保持部のそれぞれと前記支持部とを相対移動不能に連結する一対の連結部を有している、
請求項6に記載の車両用ホルダ装置。
【請求項8】
前記収容部は、前記周壁に隣り合って設けられ、前記一対の保持部に保持された前記第2物品に対向する対向壁を有しており、
前記一対の保持部及び前記支持部は、前記収容部に対して進退する際に前記対向壁に対して出没し、
前記対向壁は、前記一対の連結部を前記周壁とは反対側から覆っている、
請求項7に記載の車両用ホルダ装置。
発明の詳細な説明
【技術分野】
【0001】
本発明は、車両用ホルダ装置に関する。
続きを表示(約 1,500 文字)
【背景技術】
【0002】
特許文献1には、車両のダッシュボードに設けられたオーディオ装置から突出して電子機器を保持するホルダ装置が開示されている。オーディオ装置は、車室内に露出する意匠部と、ダッシュボードの内部に配置されていて車室内に露出しない本体部とを備えている。
【0003】
ホルダ装置は、板状の可動ベースと、可動ベースの端部にヒンジを介して回転可能に連結された保持部とを備えている。可動ベースは、本体部に対して出没可能に設けられている。保持部は、電子機器が載置される載置部と、電子機器を挟み込む一対の挟持部とを有している。保持部は、可動ベースに対して折り畳まれた位置と、可動ベースに対して起立した位置とに回転可能である。
【0004】
ホルダ装置では、保持部を可動ベースに対して折り畳むことにより、保持部及び可動ベースを本体部に格納することができる。また、保持部を可動ベースに対して起立させることにより、保持部によって電子機器を保持することができる。
【先行技術文献】
【特許文献】
【0005】
特開2020-26242号公報
【発明の概要】
【発明が解決しようとする課題】
【0006】
ところで、上記ホルダ装置においては、可動ベースが板状であるため、本体部の内部に可動ベースを格納するための板状の空間が必要となる。この場合、本体部の内部空間が制限されるおそれがある。このため、ホルダ装置の機能性を向上させる上で改善の余地がある。
【課題を解決するための手段】
【0007】
上記課題を解決するための車両用ホルダ装置の各態様を記載する。
[態様1]車両の内装部材に設けられた車両用ホルダ装置であって、上方に開口する収容凹部を形成する周壁を有し、前記収容凹部に第1物品を収容する収容部と、前記収容部に対して進退可能に構成され、第2物品を挟み込んで保持する一対の保持部と、を備え、前記一対の保持部は、前記収容部から前記収容凹部の開口方向に交差する方向に突出するとともに前記第2物品を保持する保持位置と、前記周壁を挟んで互いに反対側に位置するとともに前記収容部に格納される格納位置と、の間で前記収容部に対して進退する、車両用ホルダ装置。
【0008】
上記構成によれば、保持位置における一対の保持部の間の空間は、第2物品を保持するための空間として機能する。一方、格納位置における一対の保持部は、収容部の周壁を挟んで互いに反対側に位置している。このため、格納位置における一対の保持部の間の空間は、第1物品を収容凹部に収容するための空間として機能する。このため、一対の保持部の位置に関わらず、一対の保持部の間の空間を有効活用することができる。したがって、車両用ホルダ装置の機能性を向上させることができる。
【0009】
[態様2]前記収容部は、前記周壁に隣り合って設けられ、前記一対の保持部に保持された前記第2物品に対向する対向壁を有しており、前記対向壁は、下方に向かうにつれて前記周壁から離れるように上下方向に対して傾斜した傾斜面を有している、[態様1]に記載の車両用ホルダ装置。
【0010】
上記構成によれば、一対の保持部に保持された第2物品を対向壁によって支持することにより、第2物品の姿勢を傾斜面に沿った姿勢とすることができる。これにより、車両の乗員は、第2物品を視認しやすくなる。このため、例えば、一対の保持部に第2物品として電子機器が保持されている場合には、乗員は、第2物品を操作しやすくなる。
(【0011】以降は省略されています)
この特許をJ-PlatPat(特許庁公式サイト)で参照する
関連特許
豊田合成株式会社
積層体
1か月前
豊田合成株式会社
調光装置
1か月前
豊田合成株式会社
調光装置
19日前
豊田合成株式会社
調光装置
6日前
豊田合成株式会社
半導体素子
19日前
豊田合成株式会社
乗員保護装置
29日前
豊田合成株式会社
車両用ビーム
28日前
豊田合成株式会社
車両用ビーム
28日前
豊田合成株式会社
流体殺菌装置
6日前
豊田合成株式会社
検知システム
28日前
豊田合成株式会社
車両用外装品
27日前
豊田合成株式会社
車両用外装品
29日前
豊田合成株式会社
車両用発光装置
19日前
豊田合成株式会社
車両用発光装置
19日前
豊田合成株式会社
エアバッグ装置
1か月前
豊田合成株式会社
車両用投影装置
29日前
豊田合成株式会社
車両用投影装置
1か月前
豊田合成株式会社
車両用照明装置
1か月前
豊田合成株式会社
車両用発光装置
19日前
豊田合成株式会社
空調用レジスター
29日前
豊田合成株式会社
車両画像投影装置
1か月前
豊田合成株式会社
車両の音出力装置
1か月前
豊田合成株式会社
車両の前部構造体
1か月前
豊田合成株式会社
車両用ホルダ装置
今日
豊田合成株式会社
車両用ホルダ装置
今日
豊田合成株式会社
車両用空調ダクト
28日前
豊田合成株式会社
ステアリング装置
6日前
豊田合成株式会社
車両用ホルダ装置
今日
豊田合成株式会社
ステアリング装置
6日前
豊田合成株式会社
ステアリング装置
6日前
豊田合成株式会社
車内照明システム
19日前
豊田合成株式会社
車内照明システム
19日前
豊田合成株式会社
ステアリング装置
6日前
豊田合成株式会社
車両用カップホルダ
1か月前
豊田合成株式会社
車内用発光表示装置
1か月前
豊田合成株式会社
モーションレジスタ
29日前
続きを見る
他の特許を見る