TOP
|
特許
|
意匠
|
商標
特許ウォッチ
Twitter
他の特許を見る
10個以上の画像は省略されています。
公開番号
2025172558
公報種別
公開特許公報(A)
公開日
2025-11-26
出願番号
2024078131
出願日
2024-05-13
発明の名称
車両用ホルダ装置
出願人
豊田合成株式会社
代理人
個人
,
個人
主分類
B60R
7/06 20060101AFI20251118BHJP(車両一般)
要約
【課題】機能性を向上させることができる車両用ホルダ装置を提供する。
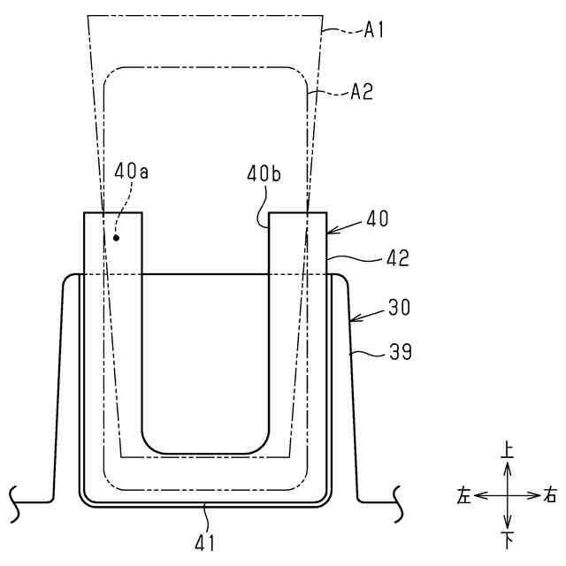
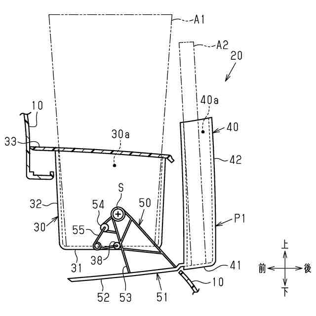
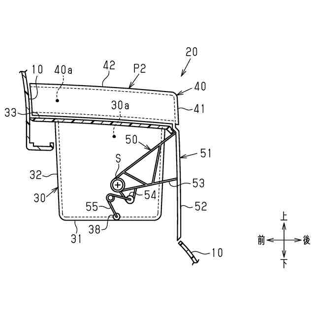
【解決手段】ホルダ装置20は、上方に開口する第1収容凹部30aを形成する第1周壁32を有し、第1収容凹部30aに第1物品A1を収容する第1収容部30と、第2収容凹部40aを形成する第2周壁42を有し、第2収容凹部40aに第2物品A2を収容する第2収容部40とを備える。第2収容部40は、第2周壁42が第1周壁32に隣り合うとともに第2収容凹部40aの開口が上方を指向する第1位置P1と、第2周壁42が第1収容凹部30aを上方から覆う第2位置と、の間で第1収容部30に対して回転可能に構成されている。
【選択図】図2
特許請求の範囲
【請求項1】
車両の内装部材に設けられた車両用ホルダ装置であって、
上方に開口する第1収容凹部を形成する第1周壁を有し、前記第1収容凹部に第1物品を収容する第1収容部と、
第2収容凹部を形成する第2周壁を有し、前記第2収容凹部に第2物品を収容する第2収容部と、を備え、
前記第2収容部は、前記第2周壁が前記第1周壁に隣り合うとともに前記第2収容凹部の開口が上方を指向する第1位置と、前記第2周壁が前記第1収容凹部を上方から覆う第2位置と、の間で前記第1収容部に対して回転可能に構成されている、
車両用ホルダ装置。
続きを表示(約 780 文字)
【請求項2】
前記第2周壁は、前記第2収容凹部に収容された前記第2物品を外部から視認可能である窓を有している、
請求項1に記載の車両用ホルダ装置。
【請求項3】
前記第2収容部を前記第1収容部に対して回転可能に連結する連結部と、
前記連結部と前記第1収容部とに接続され、前記第1収容部に対する前記第2収容部の回転時の位置が前記第1位置と前記第2位置との間の中間位置を越えたときに前記連結部の付勢方向を反転させる付勢部材と、を有しており、
前記付勢部材は、前記第2収容部が前記第1位置と前記中間位置との間に位置するときには、前記第2収容部が前記第1位置に向かう方向に前記連結部を付勢し、前記第2収容部が前記第2位置と前記中間位置との間に位置するときには、前記第2収容部が前記第2位置に向かう方向に前記連結部を付勢する、
請求項1または請求項2に記載の車両用ホルダ装置。
【請求項4】
前記第2収容部を前記第1収容部に対して回転可能に連結する連結部を有しており、
前記連結部は、前記第2収容部が前記第2位置に位置するときに前記第1周壁を車室内側から覆うカバー部を有している、
請求項1または請求項2に記載の車両用ホルダ装置。
【請求項5】
車両の内装部材に設けられたホルダ装置であって、
上方に開口する第1収容凹部を形成する周壁を有し、前記第1収容凹部に第1物品を収容する収容部を備え、
前記収容部は、前記第1収容凹部の開口方向と交差する方向を指向して前記周壁の外周面に開口するとともに、第2物品を収容する第2収容凹部を有しており、
前記第1収容凹部の内部空間は、前記第2収容凹部の内部空間を兼ねる、
車両用ホルダ装置。
発明の詳細な説明
【技術分野】
【0001】
本発明は、車両用ホルダ装置に関する。
続きを表示(約 1,800 文字)
【背景技術】
【0002】
特許文献1には、車両のセンターコンソールに設けられるカップホルダ装置が開示されている。カップホルダ装置は、2つの容器を収容するケースを備えている。ケースは、センターコンソールから引き出された位置と、センターコンソールの内部に収納された位置との間で移動可能に構成されている。
【先行技術文献】
【特許文献】
【0003】
特開2009-1115号公報
【発明の概要】
【発明が解決しようとする課題】
【0004】
ところで、車室内に設けられるホルダ装置においては、機能性を向上させることが望まれている。
【課題を解決するための手段】
【0005】
上記課題を解決するための車両用ホルダ装置の各態様を記載する。
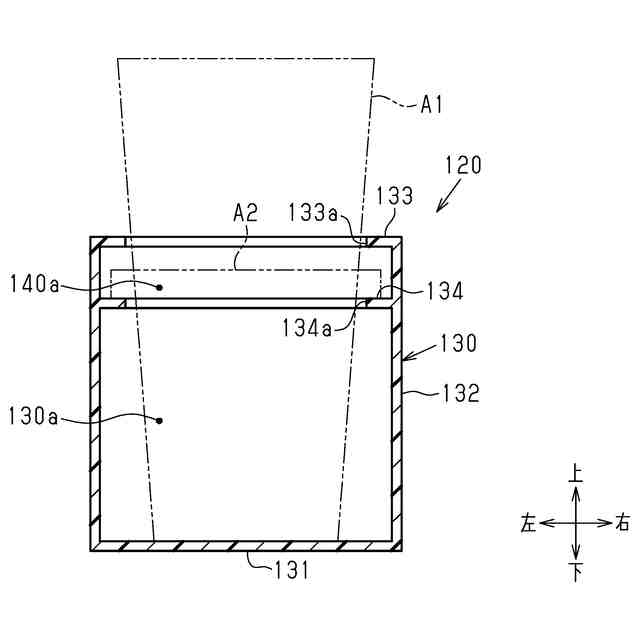
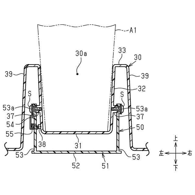
[態様1]車両の内装部材に設けられた車両用ホルダ装置であって、上方に開口する第1収容凹部を形成する第1周壁を有し、前記第1収容凹部に第1物品を収容する第1収容部と、第2収容凹部を形成する第2周壁を有し、前記第2収容凹部に第2物品を収容する第2収容部と、を備え、前記第2収容部は、前記第2周壁が前記第1周壁に隣り合うとともに前記第2収容凹部の開口が上方を指向する第1位置と、前記第2周壁が前記第1収容凹部を上方から覆う第2位置と、の間で前記第1収容部に対して回転可能に構成されている、車両用ホルダ装置。
【0006】
上記構成によれば、第2収容部が第1位置に位置する場合には、第1収容凹部及び第2収容凹部の双方の開口が、上方を指向する。このため、第1収容凹部に第1物品を収容するとともに第2収容凹部に第2物品を収容することができる。また、第2収容部が第2位置に位置する場合には、第1収容凹部が第2収容部の第2周壁によって覆われる。このため、第1収容凹部が視認されにくくなる。以上のことから、車両用ホルダ装置の機能性を向上させることができる。
【0007】
[態様2]前記第2周壁は、前記第2収容凹部に収容された前記第2物品を外部から視認可能である窓を有している、[態様1]に記載の車両用ホルダ装置。
上記構成によれば、第2収容凹部に第2物品を収容した状態であっても、第2物品を外部から視認できる。このため、例えば、第2収容凹部に第2物品として電子機器が収容されている場合には、乗員は、第2物品を第2収容凹部から取り出すことなく、窓を通じて第2物品を操作することができる。
【0008】
[態様3]前記第2収容部を前記第1収容部に対して回転可能に連結する連結部と、前記連結部と前記第1収容部とに接続され、前記第1収容部に対する前記第2収容部の回転時の位置が前記第1位置と前記第2位置との間の中間位置を越えたときに前記連結部の付勢方向を反転させる付勢部材と、を有しており、前記付勢部材は、前記第2収容部が前記第1位置と前記中間位置との間に位置するときには、前記第2収容部が前記第1位置に向かう方向に前記連結部を付勢し、前記第2収容部が前記第2位置と前記中間位置との間に位置するときには、前記第2収容部が前記第2位置に向かう方向に前記連結部を付勢する、[態様1]または[態様2]に記載の車両用ホルダ装置。
【0009】
上記構成によれば、第2収容部の位置が中間位置よりも第1位置に近い場合には、第2収容部は、第1位置に向かって付勢される。一方、第2収容部の位置が中間位置よりも第2位置に近い場合には、第2収容部は、第2位置に向かって付勢される。このため、車両の乗員は、第2収容部の位置を変更する際に、中間位置を越えるまで第2収容部を移動させることにより、第1位置または第2位置まで第2収容部を移動させなくて済む。したがって、第2収容部の位置を容易に変更することができる。
【0010】
[態様4]前記第2収容部を前記第1収容部に対して回転可能に連結する連結部を有しており、前記連結部は、前記第2収容部が前記第2位置に位置するときに前記第1周壁を車室内側から覆うカバー部を有している、[態様1]~[態様3]のいずれか1つに記載の車両用ホルダ装置。
(【0011】以降は省略されています)
この特許をJ-PlatPat(特許庁公式サイト)で参照する
関連特許
豊田合成株式会社
積層体
1か月前
豊田合成株式会社
調光装置
19日前
豊田合成株式会社
調光装置
6日前
豊田合成株式会社
半導体素子
19日前
豊田合成株式会社
車両用ビーム
28日前
豊田合成株式会社
車両用外装品
27日前
豊田合成株式会社
車両用ビーム
28日前
豊田合成株式会社
検知システム
28日前
豊田合成株式会社
乗員保護装置
29日前
豊田合成株式会社
流体殺菌装置
6日前
豊田合成株式会社
車両用外装品
29日前
豊田合成株式会社
車両用発光装置
19日前
豊田合成株式会社
車両用投影装置
29日前
豊田合成株式会社
車両用発光装置
19日前
豊田合成株式会社
車両用発光装置
19日前
豊田合成株式会社
車両用空調ダクト
28日前
豊田合成株式会社
車両用ホルダ装置
今日
豊田合成株式会社
空調用レジスター
29日前
豊田合成株式会社
車両用ホルダ装置
今日
豊田合成株式会社
ステアリング装置
6日前
豊田合成株式会社
車内照明システム
19日前
豊田合成株式会社
ステアリング装置
6日前
豊田合成株式会社
ステアリング装置
6日前
豊田合成株式会社
ステアリング装置
6日前
豊田合成株式会社
車両用ホルダ装置
今日
豊田合成株式会社
車内照明システム
19日前
豊田合成株式会社
モーションレジスタ
29日前
豊田合成株式会社
車両用非接触充電装置
19日前
豊田合成株式会社
硫黄架橋ゴムの脱硫方法
今日
豊田合成株式会社
歩行者保護用エアバッグ
21日前
豊田合成株式会社
車両乗員用衝撃吸収装置
29日前
豊田合成株式会社
インストルメントパネル構造
28日前
豊田合成株式会社
波付筒状部材およびその製造方法
27日前
豊田合成株式会社
車両用ビーム及び車両の前部構造
28日前
豊田合成株式会社
車両用空調ダクト及び車両用ビーム
28日前
豊田合成株式会社
センサマット構造、把持検知システム
21日前
続きを見る
他の特許を見る