TOP
|
特許
|
意匠
|
商標
特許ウォッチ
Twitter
他の特許を見る
公開番号
2025162927
公報種別
公開特許公報(A)
公開日
2025-10-28
出願番号
2024066436
出願日
2024-04-16
発明の名称
乗員保護装置
出願人
豊田合成株式会社
代理人
弁理士法人 共立特許事務所
主分類
B60R
21/206 20110101AFI20251021BHJP(車両一般)
要約
【課題】エアバッグの膨張展開により連結部を破断させた後、そのエアバッグの更なる膨張展開が阻害されるのを防止すること。
【解決手段】乗員保護装置は、収納部を形成するインナ部と、インナ部の後方に配置されて車内パネル部材の窓部を開閉するアウタ部と、インナ部とアウタ部とを連結する連結部と、を有するグラブボックスと、アウタ部に一体に設けられ、車両衝突時に車両乗員の膝を拘束するパネル状の膝拘束部材と、車両衝突時にグラブボックスの少なくともアウタ部を後方に移動させる駆動部と、車両衝突時に膨張展開して連結部を破断させるエアバッグと、を備える。エアバッグは、膨張展開による連結部の破断後に車室内に飛び出して車両乗員を保護する。アウタ部は、後面が後方に向いて、車両衝突時に車両乗員の膝に接するパネル本体部と、パネル本体部の上端部から前方に延びる上壁部と、を有する。連結部の破断想定箇所は、インナ部とアウタ部との連結状態において上壁部の下方に収まる。
【選択図】図6
特許請求の範囲
【請求項1】
収納部を形成するインナ部と、前記インナ部の後方に配置されて車内パネル部材に設けられた窓部を開閉するアウタ部と、前記インナ部と前記アウタ部とを連結する連結部と、を有するグラブボックスと、
前記アウタ部に一体に設けられ、車両衝突時に車両乗員の膝を拘束するパネル状の膝拘束部材と、
車両衝突時に前記グラブボックスの少なくとも前記アウタ部を後方に移動させる駆動部と、
前記インナ部と前記アウタ部との間に配置され、車両衝突時に膨張展開して前記連結部を破断させるエアバッグと、
を備え、
前記エアバッグは、膨張展開により前記連結部を破断させた後に車室内に飛び出して車両乗員を保護する乗員保護用エアバッグであり、
前記アウタ部は、
後面が後方に向いて、車両衝突時に車両乗員の膝に接するパネル本体部と、
前記パネル本体部の上端部から前方に延びる上壁部と、
を有し、
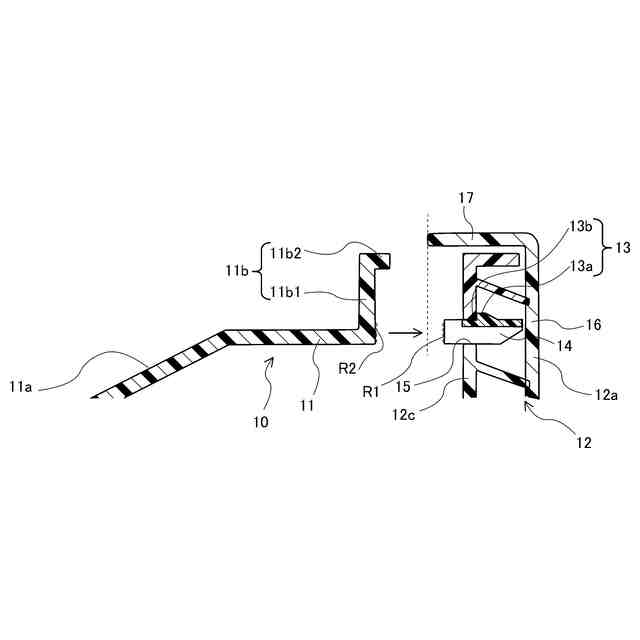
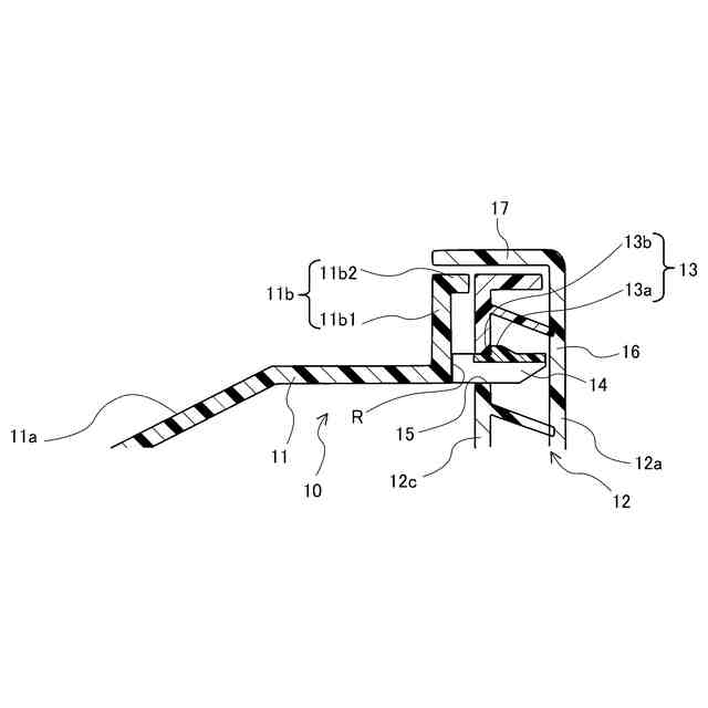
前記連結部の破断想定箇所は、前記連結部により前記インナ部と前記アウタ部とが連結された状態において前記上壁部の下方に収まる箇所である、乗員保護装置。
続きを表示(約 680 文字)
【請求項2】
前記駆動部は、前記エアバッグを有し、前記エアバッグの膨張展開により前記連結部を破断させて前記アウタ部を前記窓部側から車両乗員の膝に向けて後方に移動させる、請求項1に記載された乗員保護装置。
【請求項3】
前記駆動部は、前記エアバッグとは別に設けられ、車両衝突時に前記グラブボックス及び前記エアバッグを後方に移動させて前記アウタ部を前記窓部側から車両乗員の膝に向けて後方に移動させ、
前記エアバッグは、前記駆動部による移動開始後に膨張展開して前記連結部を破断させる、請求項1に記載された乗員保護装置。
【請求項4】
前記破断想定箇所の前後方向位置は、前記連結部により前記インナ部と前記アウタ部とが連結された状態において前記上壁部の前端の前後方向位置よりも後方にある、請求項1乃至3の何れか一項に記載された乗員保護装置。
【請求項5】
前記連結部は、
前記インナ部及び前記アウタ部の何れか一方に設けられた爪部と、
前記インナ部及び前記アウタ部の何れか他方に設けられ、前記爪部が引っ掛かる引掛け部と、
を有する、請求項1乃至3の何れか一項に記載された乗員保護装置。
【請求項6】
前記爪部は、前記インナ部の後端から後方に延びる片持ち梁の先端部に形成されており、
前記引掛け部は、前記アウタ部に設けられて前記片持ち梁が進入する挿入孔の周縁部に形成されており、
前記破断想定箇所は、前記片持ち梁の根元部である、請求項5に記載された乗員保護装置。
発明の詳細な説明
【技術分野】
【0001】
本発明は、自動車に搭載される乗員保護装置に関する。
続きを表示(約 2,000 文字)
【背景技術】
【0002】
従来、車両に搭載され、車両衝突時に車両乗員の膝を拘束する膝拘束装置(すなわち、ニーボルスター)が知られている(例えば、特許文献1)。特許文献1記載の膝拘束装置は、パネル状の膝拘束部材(すなわち、ニーパネル)と、その膝拘束部材を後方に移動させて車両乗員の膝に当接させる作動装置と、を備えている。膝拘束部材は、車両シートの前方にあるインストルメントパネル(以下、インパネと称す。)に配置されている。作動装置は、閉断面を形成するレールと、その閉断面内に配置されたシリンダと、車両衝突時に上記の閉断面内におけるシリンダの前方空間にガスを放出するインフレータと、を有している。
【0003】
車両衝突が生じると、上記の膝拘束装置において作動装置のインフレータがシリンダ前方空間にガスを放出する。シリンダ前方空間にガスが流入すると、シリンダがレールに沿って後方に移動することにより、膝拘束部材が車両乗員の膝に当接する。この場合、膝拘束部材に車両乗員の膝からの入力により、膝拘束部材の前側に配置されたリブなどのエネルギ吸収部材が変形するので、車両乗員への衝撃が吸収される。
【先行技術文献】
【特許文献】
【0004】
特開2007-90954号公報
【発明の概要】
【発明が解決しようとする課題】
【0005】
ところで、上記の特許文献1記載の膝拘束装置では、作動装置が閉空間内のシリンダを用いて膝拘束部材を後方に移動させる。この膝拘束装置を搭載する車両では、車両乗員保護のためのエアバッグをその膝拘束装置とは別途に用意することが必要であり、車両乗員保護用のエアバッグを膝拘束装置の前方に設けることが考えられる。一方、膝拘束装置の一部として車両乗員保護用のエアバッグを膝拘束部材の後方移動に用いること、すなわち、膝拘束部材の後方移動を車両乗員保護用のエアバッグの膨張展開に伴う力を用いて行うことが考えられる。かかる構成では、エアバッグを、膝拘束部材を後方に移動させつつ、その膝拘束部材よりも上方にあるインパネの後面と車両乗員の頭部や胸部との間の空間に膨張展開させることが必要である。
【0006】
上記の膝拘束部材は、車両衝突時は作動装置によりインパネ側から後方に移動することが重要であるが、車両衝突前の通常走行中はその後方移動や振動が生じないように連結部を介してインパネ側に固定しておくことが適切である。この構造では、連結部は、車両衝突前は膝拘束部材をインパネ側に確実に固定しつつ、車両衝突時は容易に破断する形状であることが好ましい。
【0007】
しかし、この車両衝突時において連結部が破断する破断箇所がエアバッグの膨張展開の軌道上にありかつ他の構造物よりも飛び出た位置にあると、その連結部に破断が生じて膝拘束部材が後方に移動し始めた後、エアバッグが展開中にその連結部の破断箇所に引っ掛かり易くなることで、エアバッグの所望展開方向への膨張展開が阻害される事態が生じ得る。
【0008】
本発明は、このような点に鑑みてなされたものであり、エアバッグの膨張展開により連結部を破断させた後、そのエアバッグの更なる膨張展開が阻害されるのを防止することが可能な乗員保護装置を提供することを目的とする。
【課題を解決するための手段】
【0009】
本発明の一態様は、収納部を形成するインナ部と、前記インナ部の後方に配置されて車内パネル部材に設けられた窓部を開閉するアウタ部と、前記インナ部と前記アウタ部とを連結する連結部と、を有するグラブボックスと、前記アウタ部に一体に設けられ、車両衝突時に車両乗員の膝を拘束するパネル状の膝拘束部材と、車両衝突時に前記グラブボックスの少なくとも前記アウタ部を後方に移動させる駆動部と、前記インナ部と前記アウタ部との間に配置され、車両衝突時に膨張展開して前記連結部を破断させるエアバッグと、を備え、前記エアバッグは、膨張展開により前記連結部を破断させた後に車室内に飛び出して車両乗員を保護する乗員保護用エアバッグであり、前記アウタ部は、後面が後方に向いて、車両衝突時に車両乗員の膝に接するパネル本体部と、前記パネル本体部の上端部から前方に延びる上壁部と、を有し、前記連結部の破断想定箇所は、前記連結部により前記インナ部と前記アウタ部とが連結された状態において前記上壁部の下方に収まる箇所である、乗員保護装置である。
【0010】
この構成によれば、エアバッグの膨張展開により連結部を破断させた後、そのエアバッグの更なる膨張展開が阻害されるのを防止することができる。
【図面の簡単な説明】
(【0011】以降は省略されています)
この特許をJ-PlatPat(特許庁公式サイト)で参照する
関連特許
豊田合成株式会社
積層体
28日前
豊田合成株式会社
調光装置
14日前
豊田合成株式会社
調光装置
1日前
豊田合成株式会社
調光装置
1か月前
豊田合成株式会社
半導体素子
14日前
豊田合成株式会社
車両用ビーム
23日前
豊田合成株式会社
車両用外装品
24日前
豊田合成株式会社
乗員保護装置
24日前
豊田合成株式会社
検知システム
23日前
豊田合成株式会社
車両用ビーム
23日前
豊田合成株式会社
流体殺菌装置
1日前
豊田合成株式会社
車両用外装品
22日前
豊田合成株式会社
車両用投影装置
1か月前
豊田合成株式会社
車両用投影装置
24日前
豊田合成株式会社
車両用照明装置
1か月前
豊田合成株式会社
車両用発光装置
14日前
豊田合成株式会社
車両用発光装置
14日前
豊田合成株式会社
車両用発光装置
14日前
豊田合成株式会社
車両の前部構造体
1か月前
豊田合成株式会社
車両画像投影装置
28日前
豊田合成株式会社
ステアリング装置
1日前
豊田合成株式会社
ステアリング装置
1日前
豊田合成株式会社
ステアリング装置
1日前
豊田合成株式会社
空調用レジスター
24日前
豊田合成株式会社
ステアリング装置
1日前
豊田合成株式会社
車内照明システム
14日前
豊田合成株式会社
車内照明システム
14日前
豊田合成株式会社
車両用空調ダクト
23日前
豊田合成株式会社
車両の音出力装置
1か月前
豊田合成株式会社
車内用発光表示装置
28日前
豊田合成株式会社
モーションレジスタ
24日前
豊田合成株式会社
車両用カップホルダ
29日前
豊田合成株式会社
車両用非接触充電装置
14日前
豊田合成株式会社
車両用シャッタ式物入れ
1か月前
豊田合成株式会社
車両乗員用衝撃吸収装置
24日前
豊田合成株式会社
歩行者保護用エアバッグ
16日前
続きを見る
他の特許を見る