TOP
|
特許
|
意匠
|
商標
特許ウォッチ
Twitter
他の特許を見る
公開番号
2025167167
公報種別
公開特許公報(A)
公開日
2025-11-07
出願番号
2024071538
出願日
2024-04-25
発明の名称
車両用発光装置
出願人
豊田合成株式会社
代理人
個人
,
個人
主分類
F21S
43/20 20180101AFI20251030BHJP(照明)
要約
【課題】外周透光部を明るく、かつ均一に発光表示させる。
【解決手段】車両用発光装置20のハウジング30は、底壁部31と、底壁部31よりも前側(車外側)の環状の周壁部32とを備え、周壁部32の前側の端部に開口部33を有する。開口部33を塞ぐレンズ40は、可視光透過性を有する外周透光部42を外周部に備える。外周透光部42の後端部と周壁部32の前端部との接合により、ハウジング30及びレンズ40の間に空間Sが形成される。外周光源90は空間Sのうち、外周透光部42及び周壁部32の接合部分よりも内周側に配置される。外周光源90から出射され、かつ外周透光部42を透過する可視光により、前方に向けて発光表示が行われる。外周透光部42は、透明な樹脂材料により形成された外周透光本体部43と、外周透光本体部43の前側の面に形成された外周加飾層50とを備える。外周加飾層50は、光拡散材を含有する光拡散層を含む。
【選択図】図6
特許請求の範囲
【請求項1】
ハウジング、レンズ及び外周光源を備え、
前記ハウジングは、底壁部と、前記底壁部よりも車外側に位置する部分を有し、かつ前記底壁部の周縁部に接続された環状の周壁部と、を備え、かつ前記周壁部の前記車外側の端部に開口部を有し、
前記開口部を塞ぐ前記レンズは、可視光透過性を有する外周透光部を前記レンズの外周部に備え、
前記外周透光部の車内側の端部と前記周壁部の前記車外側の前記端部とが接合されることにより、前記ハウジング及び前記レンズの間に空間が形成され、
前記外周光源は、前記空間内であり、かつ前記外周透光部及び前記周壁部の接合部分よりも内周側に配置され、
前記外周光源から出射され、かつ前記外周透光部を透過する可視光により、前記車外側に向けて発光表示を行う車両用発光装置であって、
前記外周透光部は、透明な樹脂材料により形成された外周透光本体部と、前記外周透光本体部の前記車外側の面に形成された外周加飾層と、を備え、
前記外周加飾層は、光拡散材を含有する光拡散層を含んでいる車両用発光装置。
続きを表示(約 420 文字)
【請求項2】
前記レンズは、前記外周光源からの前記可視光が透過するのを遮断する遮光部を、前記外周透光部の内周側に備えている、請求項1に記載の車両用発光装置。
【請求項3】
前記レンズは、前記車外側へ膨らむように湾曲しており、
前記レンズは、前記可視光透過性を有する中間透光部を前記外周透光部よりも内周側に備え、
前記中間透光部は、透明な樹脂材料により形成された中間透光本体部と、前記中間透光本体部の前記車外側の面に形成された中間加飾層と、を備え、
前記中間加飾層は、前記光拡散材を含有する前記光拡散層を備え、
前記空間内であり、かつ前記中間透光部の前記車内側には中間光源が配置されている、請求項1に記載の車両用発光装置。
【請求項4】
前記外周加飾層における前記可視光の光透過率は、5%以上、かつ20%以下である、請求項1~請求項3のいずれか1項に記載の車両用発光装置。
発明の詳細な説明
【技術分野】
【0001】
本発明は、車両用発光装置に関する。
続きを表示(約 1,400 文字)
【背景技術】
【0002】
自動車等の車両の前部には、一般に、マーク、車名、グレード等を表示するエンブレムが取り付けられる。このエンブレムの一態様として、発光機能を有する発光エンブレム等の車両用発光装置が知られている(例えば、特許文献1参照)。
【0003】
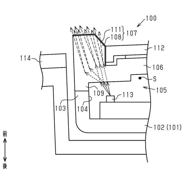
図7は、従来の車両用発光装置100の一部を示している。車両用外装品114に取り付けられる車両用発光装置100は、ハウジング101、レンズ105及び外周光源113を備えている。
【0004】
ハウジング101は、底壁部102と、底壁部102よりも前側(車外側)に位置する部分を有し、かつ底壁部102の周縁部に接続された環状の周壁部103とを備えている。ハウジング101は、周壁部103の前端部に開口部104を有している。
【0005】
開口部104を塞ぐレンズ105は、樹脂材料により形成され、かつ可視光透過性を有する本体レンズ部106と、可視光の透過を遮断する遮光部112とを備えている。
本体レンズ部106は、外周部に外周透光部107を備えている。外周透光部107は、外周透光本体部108と、その前面に形成された外周加飾層111とを備えている。遮光部112は、外周透光部107の内周側に設けられている。
【0006】
そして、外周透光部107の後端部に設けられた突部109と周壁部103の前端部とが接合されることにより、ハウジング101及びレンズ105の間に空間Sが形成されている。外周光源113は、上記空間Sのうち、突部109及び周壁部103の接合部分の車内側に配置されている。
【0007】
このように構成された車両用発光装置100では、外周光源113から出射された可視光の一部が、図7において矢印で示すように、外周透光部107を透過する。これに対し、遮光部112では、可視光の透過が遮断される。外周透光部107を透過した可視光により、同外周透光部107が車両の前方に向けて発光表示される。車両の前方から車両用発光装置100を見ると、外周透光部107が光っているように見える。
【0008】
また、上記特許文献1に記載された車両用発光装置100では、外周透光本体部108を含む本体レンズ部106の全体が、透明な樹脂材料に光拡散材を分散させてなる乳白樹脂によって形成されている。そのため、外周透光本体部108内で可視光を均一に拡散させることができる。
【先行技術文献】
【特許文献】
【0009】
特開2024-4826号公報
【発明の概要】
【発明が解決しようとする課題】
【0010】
ところが、外周透光本体部108は、レンズ105の他の箇所よりも、可視光の経路に沿う方向の厚みが大きくなる。これは、1つには、周壁部103との接合のための突部109が必要となるためである。また、外周透光本体部108が、遮光部112よりも前方へ突出している場合には、そのことも厚肉となる要因である。こうした肉厚の外周透光本体部108に光拡散材が分散されている。そのため、外周透光本体部108では、本体レンズ部106の他の箇所よりも可視光の透過量が少なくなる。外周透光部107は、暗く均一に発光表示されることとなる。
【課題を解決するための手段】
(【0011】以降は省略されています)
この特許をJ-PlatPat(特許庁公式サイト)で参照する
関連特許
豊田合成株式会社
積層体
1か月前
豊田合成株式会社
調光装置
1か月前
豊田合成株式会社
調光装置
22日前
豊田合成株式会社
調光装置
9日前
豊田合成株式会社
ガラスラン
1か月前
豊田合成株式会社
半導体素子
22日前
豊田合成株式会社
ガラスラン
1か月前
豊田合成株式会社
車両用外装品
1か月前
豊田合成株式会社
検知システム
1か月前
豊田合成株式会社
乗員保護装置
1か月前
豊田合成株式会社
車両用外装品
1か月前
豊田合成株式会社
車両用外装品
1か月前
豊田合成株式会社
乗員保護装置
1か月前
豊田合成株式会社
乗員保護装置
1か月前
豊田合成株式会社
車両用ビーム
1か月前
豊田合成株式会社
車両用ビーム
1か月前
豊田合成株式会社
機器制御装置
1か月前
豊田合成株式会社
制御ユニット
1日前
豊田合成株式会社
車両用内装品
1か月前
豊田合成株式会社
車両用内装品
1か月前
豊田合成株式会社
流体殺菌装置
9日前
豊田合成株式会社
エアバッグ装置
1日前
豊田合成株式会社
車両用投影装置
1か月前
豊田合成株式会社
空調用レジスタ
1か月前
豊田合成株式会社
空調用レジスタ
1か月前
豊田合成株式会社
空調用レジスタ
1か月前
豊田合成株式会社
車両用照明装置
1か月前
豊田合成株式会社
電動液体ポンプ
1か月前
豊田合成株式会社
エアバッグ装置
1か月前
豊田合成株式会社
電動液体ポンプ
1か月前
豊田合成株式会社
電動液体ポンプ
1か月前
豊田合成株式会社
立体エアバッグ
1か月前
豊田合成株式会社
電動液体ポンプ
1か月前
豊田合成株式会社
電動液体ポンプ
1か月前
豊田合成株式会社
エアバッグ装置
1日前
豊田合成株式会社
車両用投影装置
1か月前
続きを見る
他の特許を見る