TOP
|
特許
|
意匠
|
商標
特許ウォッチ
Twitter
他の特許を見る
10個以上の画像は省略されています。
公開番号
2025158643
公報種別
公開特許公報(A)
公開日
2025-10-17
出願番号
2024061390
出願日
2024-04-05
発明の名称
車両用シャッタ式物入れ
出願人
豊田合成株式会社
代理人
個人
,
個人
主分類
B60R
7/04 20060101AFI20251009BHJP(車両一般)
要約
【課題】シャッタの見栄えが悪くなることを抑えることのできる車両用シャッタ式物入れを提供すること。
【解決手段】物入れ本体は、シャッタ12の幅方向の両側に位置する一対のガイド溝部を有する。シャッタ12は、曲げ伸ばし可能に構成されたシャッタ本体50と、シャッタ本体50の外面51Aを覆うように同外面51Aに設けられた表層部60とを有する。シャッタ本体50は、弾性変形可能に構成されたシート状のベース部51と、ベース部51の内面51Bに設けられ、幅方向に延在するスラット52とを有する。スラット52は、長さ方向に互いに間隔をあけて並ぶように複数設けられ、幅方向の両端がガイド溝部にスライド可能に支持される。ベース部51の外面51Aは平坦状をなす。ベース部51の内面51Bには、長さ方向に隣合う2つのスラット52に挟まれた連結部51Cで幅方向に延びる溝状の溝状部55が設けられる。
【選択図】図9
特許請求の範囲
【請求項1】
開口部を有する物入れ本体と、同開口部を開閉可能に構成されたシャッタと、を備える車両用シャッタ式物入れであって、
前記物入れ本体は、前記シャッタの幅方向の両側に位置する一対のガイド溝部であり、且つ、第1曲率で延びる第1曲率部と、前記第1曲率とは異なる第2曲率で延びる第2曲率部と、を有していて前記シャッタの移動を案内する前記ガイド溝部を有し、
前記シャッタは、同シャッタの長さ方向に曲げ伸ばし可能に構成されたシャッタ本体と、前記シャッタ本体における前記物入れ本体の外方側の面である外面を覆うように同外面に設けられた表層部と、を有し、
前記シャッタ本体は、弾性変形可能に構成されたシート状のベース部と、前記ベース部における前記物入れ本体の内方側の面である内面に設けられ、前記幅方向に延在するスラットと、を有し、
前記スラットは、前記長さ方向に互いに間隔をあけて並ぶように複数設けられるとともに、前記幅方向の両端が前記ガイド溝部にスライド可能に支持されており、
前記ベース部の前記外面は平坦状をなしており、
前記ベース部の前記内面には、前記長さ方向に隣合う2つの前記スラットに挟まれた部分で前記幅方向に延びる溝状の溝状部が設けられている、
車両用シャッタ式物入れ。
続きを表示(約 75 文字)
【請求項2】
前記溝状部は、前記内面において前記幅方向の全長にわたって延びている、
請求項1に記載の車両用シャッタ式物入れ。
発明の詳細な説明
【技術分野】
【0001】
本発明は、車両用シャッタ式物入れに関するものである。
続きを表示(約 2,300 文字)
【背景技術】
【0002】
車両用シャッタ式物入れとしては、特許文献1に記載のものがある。特許文献1に記載の物入れは、開口部を有する物入れ本体と、同開口部を開閉可能に構成されたシャッタと、を備えている。
【0003】
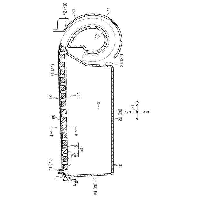
物入れ本体には、直線状に延びる直線部と湾曲して延びる曲線部とを有するガイドレールが設けられる。シャッタは、曲げ伸ばし可能に構成されたシャッタ本体と、シャッタ本体の外面を覆うように同外面に設けられた表層部とを有する。シャッタ本体は、シート状をなすとともに弾性変形可能に構成されたベース部と、幅方向に延びる突条をなす複数のスラットとを有する。複数のスラットは、上記ベース部の内面に、上記シャッタの長さ方向に間隔を空けて並ぶように設けられる。
【0004】
上記物入れでは、シャッタのスラットが物入れ本体のガイドレールにスライド可能に支持されている。これにより、シャッタは物入れ本体に対してガイドレールに沿ってスライド移動可能に構成されている。
【先行技術文献】
【特許文献】
【0005】
特開平9-193952号公報
【発明の概要】
【発明が解決しようとする課題】
【0006】
上記物入れでは、シャッタの開閉操作に際して、同シャッタが曲げ伸ばしされる。このとき上記シャッタは、その構造上、シャッタ本体におけるスラットが設けられていない部分、すなわち長さ方向において隣合う2つのスラットに挟まれた部分(以下、連結部という。)が曲げ伸ばしされるようになる。シャッタ本体の連結部は、ベース部と表層部との二層構造をなしている。そのため、シャッタ、詳しくはシャッタ本体の連結部の曲げ伸ばしに際しては、曲げ方向の外側にあたる表層部にかかる応力が大きくなり易く、同表層部に応力が残留し易い。したがって、表層部の表面に凹凸が生じることで見栄えが悪くなるおそれがある。
【課題を解決するための手段】
【0007】
上記課題を解決するための装置の各態様を記載する。
[態様1]開口部を有する物入れ本体と、同開口部を開閉可能に構成されたシャッタと、を備える車両用シャッタ式物入れであって、前記物入れ本体は、前記シャッタの幅方向の両側に位置する一対のガイド溝部であり、且つ、第1曲率で延びる第1曲率部と、前記第1曲率とは異なる第2曲率で延びる第2曲率部と、を有していて前記シャッタの移動を案内する前記ガイド溝部を有し、前記シャッタは、同シャッタの長さ方向に曲げ伸ばし可能に構成されたシャッタ本体と、前記シャッタ本体における前記物入れ本体の外方側の面である外面を覆うように同外面に設けられた表層部と、を有し、前記シャッタ本体は、弾性変形可能に構成されたシート状のベース部と、前記ベース部における前記物入れ本体の内方側の面である内面に設けられ、前記幅方向に延在するスラットと、を有し、前記スラットは、前記長さ方向に互いに間隔をあけて並ぶように複数設けられるとともに、前記幅方向の両端が前記ガイド溝部にスライド可能に支持されており、前記ベース部の前記外面は平坦状をなしており、前記ベース部の前記内面には、前記長さ方向に隣合う2つの前記スラットに挟まれた部分で前記幅方向に延びる溝状の溝状部が設けられている、車両用シャッタ式物入れ。
【0008】
上記構成によれば、シャッタのベース部のうち長さ方向に隣合う2つのスラットに挟まれた部分(以下、連結部)、すなわちシャッタの開閉操作に際して曲げ伸ばしされる連結部に、溝状の溝状部が設けられる。これにより、ベース部において実際に曲げ伸ばしされる部分の肉厚を薄くすることができるため、その曲げ伸ばしに際して同ベース部の外面の曲げ方向における長さ(いわゆる周長)の変化を小さくすることができる。そのため、溝状部が設けられないものと比較して、シャッタを曲げる際には表層部をベース部の外面に押し付けるように作用する力を小さくできるとともに、シャッタを伸ばす際には表層部をベース部の外面から剥離させるように作用する力を小さくできる。これにより、シャッタの曲げ伸ばしに際して表層部にかかる応力を小さくすることができるため、同表層部に上記応力が残留し難くすることができる。したがって、残留応力に起因する表層部の変形を抑制することができる。これにより、シャッタの見栄えが悪くなることを抑えることができる。
【0009】
[態様2]前記溝状部は、前記内面において前記幅方向の全長にわたって延びている、[態様1]に記載の車両用シャッタ式物入れ。
上記構成によれば、ベース部の内面に溝状部が設けられているとはいえ、ベース部の外面および表層部に不要に凹凸を生じさせないように、ベース部の連結部を幅方向Yの全体にわたり上手く曲げ伸ばしすることができる。したがって、シャッタの見栄えが悪くなることを抑えることができる。しかも上記構成によれば、シャッタの曲げ伸ばしに際して表層部にかかる応力を、幅方向の全体にわたって小さくすることができる。これにより、表層部に上記応力が残留することを同表層部の幅方向における全体にわたって抑制することができるため、残留応力に起因する表層部の変形を好適に抑制することができる。
【発明の効果】
【0010】
本発明によれば、シャッタの見栄えが悪くなることを抑えることができる。
【図面の簡単な説明】
(【0011】以降は省略されています)
この特許をJ-PlatPat(特許庁公式サイト)で参照する
関連特許
豊田合成株式会社
積層体
29日前
豊田合成株式会社
調光装置
2日前
豊田合成株式会社
調光装置
15日前
豊田合成株式会社
殺菌装置
2か月前
豊田合成株式会社
調光装置
1か月前
豊田合成株式会社
ガラスラン
1か月前
豊田合成株式会社
ガラスラン
1か月前
豊田合成株式会社
ガラスラン
1か月前
豊田合成株式会社
半導体素子
15日前
豊田合成株式会社
車両用外装品
25日前
豊田合成株式会社
車両用ビーム
24日前
豊田合成株式会社
検知システム
24日前
豊田合成株式会社
車両用外装品
23日前
豊田合成株式会社
乗員保護装置
25日前
豊田合成株式会社
機器制御装置
1か月前
豊田合成株式会社
乗員保護装置
1か月前
豊田合成株式会社
車両用外装品
1か月前
豊田合成株式会社
流体殺菌装置
2か月前
豊田合成株式会社
車両用ビーム
24日前
豊田合成株式会社
乗員保護装置
1か月前
豊田合成株式会社
流体殺菌装置
2日前
豊田合成株式会社
車両用内装品
1か月前
豊田合成株式会社
車両用内装品
1か月前
豊田合成株式会社
樹脂成形装置
1か月前
豊田合成株式会社
流体殺菌装置
2か月前
豊田合成株式会社
立体エアバッグ
1か月前
豊田合成株式会社
エアバッグ装置
1か月前
豊田合成株式会社
車両用投影装置
25日前
豊田合成株式会社
車両用照明装置
1か月前
豊田合成株式会社
車両用投影装置
1か月前
豊田合成株式会社
空調用レジスタ
1か月前
豊田合成株式会社
電動液体ポンプ
1か月前
豊田合成株式会社
電動液体ポンプ
1か月前
豊田合成株式会社
電動液体ポンプ
1か月前
豊田合成株式会社
電動液体ポンプ
1か月前
豊田合成株式会社
空調用レジスタ
1か月前
続きを見る
他の特許を見る