TOP
|
特許
|
意匠
|
商標
特許ウォッチ
Twitter
他の特許を見る
公開番号
2025139544
公報種別
公開特許公報(A)
公開日
2025-09-26
出願番号
2024224007
出願日
2024-12-19
発明の名称
ガラスラン
出願人
豊田合成株式会社
代理人
個人
,
個人
主分類
B60J
10/76 20160101AFI20250918BHJP(車両一般)
要約
【課題】 ドアガラスの振動エネルギーを効率的に流して散逸させることが可能なガラスランを提供する。
【課題を解決するための手段】
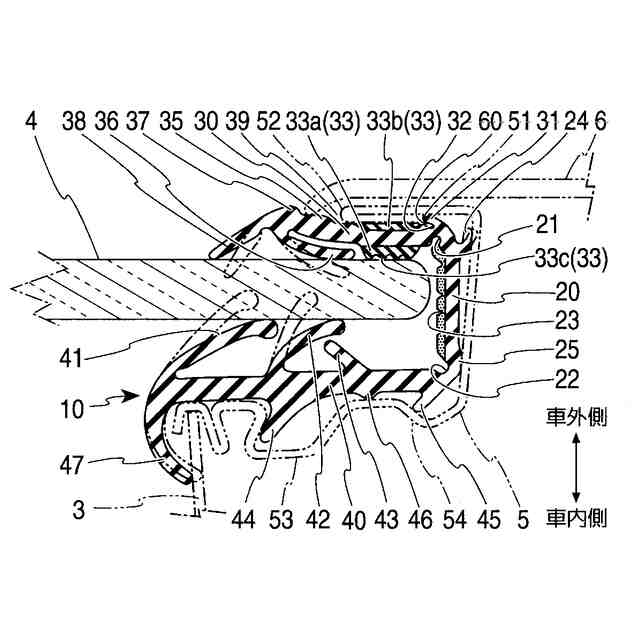
底壁20と、車外側側壁30と、車内側側壁40を基本骨格とし、基本骨格がドアフレーム3に形成されたドアフレーム溝部5に取付けられ、ドアガラス4の昇降をガイドするガラスラン10であって、車外側側壁30の車内側には、ドアガラス4に摺接すると共に車外側側壁30より硬度が高い硬質部33が形成され、車外側側壁30とドアフレーム溝部5は面で当接し、底壁20と車外側側壁30との連結部分のドアガラス4側には、車外側溝部21が形成され、底壁20と車内側側壁40との連結部分のドアガラス4側には、車内側溝部22が形成され、車内側溝部22の厚さは、車外側溝部21の厚さより厚く形成されている。
【選択図】図3
特許請求の範囲
【請求項1】
底壁と、車外側側壁と、車内側側壁を基本骨格とし、前記基本骨格がドアフレームに取り付けられ、ドアガラスの昇降をガイドするガラスランであって、
前記車外側側壁には、前記車外側側壁より硬度が高い硬質部が、その内部、又は、車内側に露出して形成され、
前記底壁と前記車外側側壁との連結部分の前記ドアガラス側には、車外側溝部が形成され、
前記底壁と前記車内側側壁との連結部分の前記ドアガラス側には、車内側溝部が形成され、
前記車内側溝部の厚さは、前記車外側溝部の厚さより厚く形成されていることを特徴とするガラスラン。
続きを表示(約 850 文字)
【請求項2】
前記車外側側壁と前記ドアフレームは、面で当接し、
前記ドアガラスは、前記硬質部が形成された領域の前記車外側側壁に当接する請求項1に記載のガラスラン。
【請求項3】
前記ドアフレームは、ドアフレーム溝部を備え、前記基本骨格が前記ドアフレーム溝部に取り付けられ、
前記車外側側壁の前記底壁との連結部分の車外側近傍には、前記車外側側壁の先端部方向に延設する車外側保持リップが形成され、
前記車外側側壁の前記車外側保持リップの付け根部分には、薄肉化された薄肉部が形成されている請求項1に記載のガラスラン。
【請求項4】
前記車外側側壁の先端部方向には、前記車外側側壁の肉厚が厚くなる段差部が形成され、
前記ドアフレーム溝部の車外側先端部と前記段差部は当接せず、前記車外側先端部と前記段差部の間には、先端側空隙部が形成されている請求項3に記載のガラスラン。
【請求項5】
前記車外側側壁の車内側には、車内側、且つ前記底壁側に延設される車外側シールリップが形成され、
前記車外側シールリップは、少なくとも前記ドアガラスを閉じた時に、
前記ドアガラスと面で当接し、
前記硬質部が前記車外側側壁の内部に形成された時は、前記車外側側壁に面で当接し、前記硬質部が前記車外側側壁の車内側に露出して形成された時は、前記硬質部に面で当接する請求項1に記載のガラスラン。
【請求項6】
前記底壁には、前記ドアフレームに取り付けられた時に、前記ドアフレームに面で当接するドアフレーム側当接面が形成されている請求項5に記載のガラスラン。
【請求項7】
前記硬質部は、前記車外側側壁の車内側と車外側に分割して形成され、車外側に形成される車外側硬質部は、前記車外側側壁の車外側に露出する、又は、車内側から車外側に貫通して形成される請求項2又は請求項5に記載のガラスラン。
発明の詳細な説明
【技術分野】
【0001】
本発明は、自動車等車両のドアに形成されたドアフレームに取り付けられるガラスランに関するものである。
続きを表示(約 1,600 文字)
【背景技術】
【0002】
自動車等車両の静粛性向上は、乗員の快適性が高められるので、商品力向上のアピール度が高い。又、今後急速に普及が進むことが予想される電気自動車においては、従来搭載されているエンジンが無くなるので、そのエンジン音が無くなることによって残存する主な騒音は、ロードノイズと風切音が顕在化する。したがって、それらの低減技術の必要性が従来以上に高まっている。
【0003】
例えば、図7には、ガラスランの剛性を増大させることによりガラスランのインピーダンスをガラスのインピーダンスに近づけるインピーダンスマッチングを利用して振動を低減する技術が開示されている(例えば、特許文献1)。
【0004】
図7においては、底壁200と、車外側側壁300と、車内側側壁400を基本骨格とし、基本骨格がドアフレーム310に形成されたドアフレーム溝部500に取り付けられ、ドアガラス600の昇降をガイドするガラスラン100であって、車外側側壁300の車内側には、車内側に突出してドアガラス600に摺接すると共に車外側側壁300の車外側側壁本体部320より硬度が高い肉厚部330が形成されている。
【0005】
又、車外側側壁300の車外側には、底壁200との連結部近傍と車外側側壁300の先端部方向に、ドアフレーム溝部500に係止される第1車外側保持リップ340と第2車外側保持リップ350が相対して形成され、第1車外側保持リップ340と第2車外側保持リップ350によって、屈曲して形成されているドアフレーム溝部500を保持している。
【先行技術文献】
【特許文献】
【0006】
特開2023-53894号公報
【発明の概要】
【発明が解決しようとする課題】
【0007】
ところで、硬度が高い肉厚部330が形成された車外側側壁300をドアフレーム溝部500に当接させ、ドアガラス600とドアフレーム溝部500で挿む構造とすることにより肉厚部330を含む車外側側壁300のドアガラス600とドアフレーム溝部500に対する剛性を高め、インピーダンスマッチングを利用して振動をさらに低減することが可能である。
【0008】
しかしながら、自動車等車両においては、ドアフレーム310及びその内部に形成されるドアフレーム溝部500は、車両の上下及び前後に湾曲している。そして、略直線状に形成されたガラスラン100を装着した時に、車外側側壁300には硬度が高い肉厚部330が形成されているので、車内側側壁400に比較してドアフレーム溝部500の湾曲への追従性が低下し、車外側側壁300の車外側面がドアフレーム溝部500に当接しない領域が発生した。
【0009】
さらに、ドアフレーム310(ドアフレーム溝部500)の曲率とドアガラス600の曲率は一致していないので、ドアガラス600との摺接時に肉厚部330を含む車外側側壁300によるドアフレーム溝部500への当接圧のバラツキが発生し、インピーダンスマッチングを利用した振動低減の効果が十分発揮されていない。
【課題を解決するための手段】
【0010】
上記課題を解決するために、請求項1の本発明は、底壁と、車外側側壁と、車内側側壁を基本骨格とし、基本骨格がドアフレームに取り付けられ、ドアガラスの昇降をガイドするガラスランであって、車外側側壁には、車外側側壁より硬度が高い硬質部が、その内部、又は、車内側に露出して形成され、底壁と車外側側壁との連結部分のドアガラス側には、車外側溝部が形成され、底壁と車内側側壁との連結部分のドアガラス側には、車内側溝部が形成され、車内側溝部の厚さは、車外側溝部の厚さより厚く形成されていることを特徴とするガラスランである。
(【0011】以降は省略されています)
この特許をJ-PlatPat(特許庁公式サイト)で参照する
関連特許
豊田合成株式会社
着座装置
1か月前
豊田合成株式会社
調光装置
4日前
豊田合成株式会社
殺菌装置
1か月前
豊田合成株式会社
ガラスラン
16日前
豊田合成株式会社
ガラスラン
23日前
豊田合成株式会社
ガラスラン
16日前
豊田合成株式会社
半導体素子
1か月前
豊田合成株式会社
車両用外装品
16日前
豊田合成株式会社
車両用内装品
18日前
豊田合成株式会社
車両用内装品
18日前
豊田合成株式会社
車両用外装品
1か月前
豊田合成株式会社
樹脂成形装置
24日前
豊田合成株式会社
乗員保護装置
16日前
豊田合成株式会社
流体殺菌装置
1か月前
豊田合成株式会社
流体殺菌装置
1か月前
豊田合成株式会社
車両用外装品
1か月前
豊田合成株式会社
流体殺菌装置
1か月前
豊田合成株式会社
機器制御装置
16日前
豊田合成株式会社
乗員保護装置
10日前
豊田合成株式会社
空調用レジスタ
17日前
豊田合成株式会社
電動液体ポンプ
16日前
豊田合成株式会社
電動液体ポンプ
16日前
豊田合成株式会社
電動液体ポンプ
16日前
豊田合成株式会社
空調用レジスタ
17日前
豊田合成株式会社
空調用レジスタ
17日前
豊田合成株式会社
電動液体ポンプ
16日前
豊田合成株式会社
電動液体ポンプ
16日前
豊田合成株式会社
立体エアバッグ
16日前
豊田合成株式会社
立体エアバッグ
1か月前
豊田合成株式会社
エアバッグ装置
10日前
豊田合成株式会社
ステアリング装置
11日前
豊田合成株式会社
ステアリング装置
12日前
豊田合成株式会社
車両の音出力装置
20日前
豊田合成株式会社
ステアリング装置
10日前
豊田合成株式会社
ステアリング装置
11日前
豊田合成株式会社
車両の前部構造体
4日前
続きを見る
他の特許を見る