TOP
|
特許
|
意匠
|
商標
特許ウォッチ
Twitter
他の特許を見る
公開番号
2025144587
公報種別
公開特許公報(A)
公開日
2025-10-03
出願番号
2024044304
出願日
2024-03-20
発明の名称
電動液体ポンプ
出願人
豊田合成株式会社
代理人
弁理士法人 共立特許事務所
主分類
F04C
2/10 20060101AFI20250926BHJP(液体用容積形機械;液体または圧縮性流体用ポンプ)
要約
【課題】電動液体ポンプを軽量化しかつその製造コストを低減し得る技術を提供する。
【解決手段】シャフト21と磁石部23とを有するモータロータ20と、モータロータ20を回転させるステータ25と、を有する電動モータ2と、シャフト21の他端部に一体化されているインナロータ30と隙間容積部38を形成するアウタロータ35と、を有する液体ポンプ3と、箱状をなし、モータロータ20の軸方向の一部とステータ25とを収容する第1収容室41と、モータロータ20の軸方向の他の一部を収容する第2収容室42と、第1収容室41と第2収容室42とを連絡する孔状連絡部46が設けられる区画壁45と、を内部に有し、第1収容室41と第2収容室42と孔状連絡部46とに液体が循環するモータケース4と、シャフト21の軸方向の一部を支持する軸受部と、を有するボデー5と、を具備し、ボデー5の全体が熱硬化樹脂製である、電動液体ポンプ1。
【選択図】図2
特許請求の範囲
【請求項1】
シャフトと前記シャフトの軸方向の一端部に一体化されている磁石部とを有するモータロータと、前記磁石部の径方向外側または径方向内側に配置され前記モータロータを回転させるステータと、を有する電動モータと、
外歯を有し前記シャフトの軸方向の他端部に一体化されているインナロータと、前記外歯に噛合する内歯を有し吸入通路から液体が吸入されるとともに吐出通路に向けて液体が吐出される隙間容積部を前記インナロータとの間に形成するアウタロータと、を有する液体ポンプと、
箱状をなし、前記磁石部を含む前記モータロータの軸方向の一部と前記ステータとを収容する第1収容室と、前記第1収容室に連絡し前記モータロータの軸方向の他の一部を収容する第2収容室と、前記第1収容室と前記第2収容室とを連絡する孔状連絡部を有し前記第1収容室と前記第2収容室との間に設けられている区画壁と、を内部に有し、前記第1収容室と前記第2収容室と前記孔状連絡部とに液体が循環するモータケースと、
前記孔状連絡部に挿入され芯出しされる芯出しボデー部と、前記芯出しボデー部に連続し前記第2収容室に収容される一般ボデー部と、前記芯出しボデー部と前記一般ボデー部とに貫通形成され前記磁石部と前記インナロータとの間の位置で前記シャフトの軸方向の一部を支持する軸受部と、を有するボデーと、を具備し、
前記ボデーの全体が熱硬化樹脂製である、電動液体ポンプ。
続きを表示(約 210 文字)
【請求項2】
前記熱硬化性樹脂はフェノール樹脂を含む、請求項1に記載の電動液体ポンプ。
【請求項3】
前記熱硬化性樹脂は、全体を100質量%としたときに30質量%以上90質量%以下となる量の補強繊維および/または無機フィラーを含む、請求項2に記載の電動液体ポンプ。
【請求項4】
前記ボデーは射出成形または圧縮成形されてなる、請求項1または請求項2に記載の電動液体ポンプ。
発明の詳細な説明
【技術分野】
【0001】
本発明はオイル等の液体を輸送するための電動液体ポンプに関する。
続きを表示(約 2,000 文字)
【背景技術】
【0002】
オイル等の液体を輸送するための電動液体ポンプとして、ポンプ機能を実現するインナロータおよびアウタロータをケースに収容したものが知られている(例えば、特許文献1参照)。
特許文献1に紹介されている電動液体ポンプでは、インナロータ3とアウタロータ2との一体品であるトロコイド4を、ケーシング5およびカバー6とで収容している。
【0003】
駆動源に接続された駆動シャフト10が回転することで、当該駆動シャフト10に一体化されているインナロータ3が回転する。インナロータ3の回転に伴い当該インナロータ3と噛合しているアウタロータ2が回転する。これにより、液体を吸入および吐出するポンプ機能が発現する。
【先行技術文献】
【特許文献】
【0004】
特開2017-066975号公報
【発明の概要】
【発明が解決しようとする課題】
【0005】
電動液体ポンプにおいて、インナロータおよびアウタロータを収容する部分や、駆動シャフトを支持する部分には高い寸法精度が要求される。したがって、一般的な従来の電動液体ポンプにおいてこれらの部分は金属製であり、成形後にさらに切削加工する工程が必要である。これにより、従来の電動液体ポンプは軽量化し難く、かつ、製造コストが高い問題があった。
質量の大きな電動液体ポンプは、例えば車両に搭載する車載用の電動液体ポンプとして好適でない。
【0006】
例えば上記した特許文献1に紹介されている技術においても、駆動シャフト10を支持する部分であるカバー6は金属製であり、さらに、当該カバー6には駆動シャフト10を支持するための軸受が圧入されている。なお、一般的な電動液体ポンプにおいて、当該軸受としては金属製のベアリングが用いられる。
このようなカバー6は軽量化し難く、これに因り、当該カバー6を有する電動液体ポンプは十分に軽量化されるとはいい難い。
また、特許文献1に紹介されている電動液体ポンプは、金属プレート8を必要とする。このことによっても当該電動液体ポンプは軽量化困難といい得る。
このため上記した特許文献1の技術によっても、電動液体ポンプを十分に軽量化でき、かつ、その製造コストを十分に低減できるとはいい難い問題がある。
【0007】
本発明は上記事情に鑑みてなされたものであり、電動液体ポンプを軽量化しかつその製造コストを低減し得る技術を提供することを解決すべき課題とする。
【課題を解決するための手段】
【0008】
上記課題を解決する本発明の電動液体ポンプは、
シャフトと前記シャフトの軸方向の一端部に一体化されている磁石部とを有するモータロータと、前記磁石部の径方向外側または径方向内側に配置され前記モータロータを回転させるステータと、を有する電動モータと、
外歯を有し前記シャフトの軸方向の他端部に一体化されているインナロータと、前記外歯に噛合する内歯を有し吸入通路から液体が吸入されるとともに吐出通路に向けて液体が吐出される隙間容積部を前記インナロータとの間に形成するアウタロータと、を有する液体ポンプと、
箱状をなし、前記磁石部を含む前記モータロータの軸方向の一部と前記ステータとを収容する第1収容室と、前記第1収容室に連絡し前記モータロータの軸方向の他の一部を収容する第2収容室と、前記第1収容室と前記第2収容室とを連絡する孔状連絡部を有し前記第1収容室と前記第2収容室との間に設けられている区画壁と、を内部に有し、前記第1収容室と前記第2収容室と前記孔状連絡部とに液体が循環するモータケースと、
前記孔状連絡部に挿入され芯出しされる芯出しボデー部と、前記芯出しボデー部に連続し前記第2収容室に収容される一般ボデー部と、前記芯出しボデー部と前記一般ボデー部とに貫通形成され前記磁石部と前記インナロータとの間の位置で前記シャフトの軸方向の一部を支持する軸受部と、を有するボデーと、を具備し、
前記ボデーの全体が熱硬化樹脂製である、電動液体ポンプである。
【発明の効果】
【0009】
本発明の技術によると、電動液体ポンプを軽量化しかつその製造コストを低減することが可能である。
【図面の簡単な説明】
【0010】
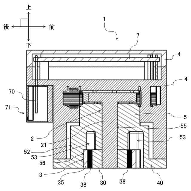
実施例1の電動液体ポンプの外観を模式的に説明する説明図である。
実施例1の電動液体ポンプを図1中のX-X位置で切断した様子を模式的に説明する説明図である。
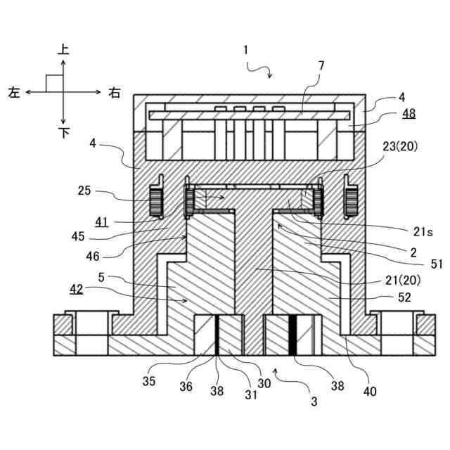
実施例1の電動液体ポンプを図1中のY-Y位置で切断した様子を模式的に説明する説明図である。
【発明を実施するための形態】
(【0011】以降は省略されています)
この特許をJ-PlatPat(特許庁公式サイト)で参照する
関連特許
豊田合成株式会社
積層体
12日前
豊田合成株式会社
調光装置
21日前
豊田合成株式会社
ガラスラン
1か月前
豊田合成株式会社
ガラスラン
1か月前
豊田合成株式会社
車両用ビーム
7日前
豊田合成株式会社
車両用外装品
8日前
豊田合成株式会社
機器制御装置
1か月前
豊田合成株式会社
車両用外装品
1か月前
豊田合成株式会社
車両用外装品
6日前
豊田合成株式会社
乗員保護装置
1か月前
豊田合成株式会社
車両用ビーム
7日前
豊田合成株式会社
乗員保護装置
27日前
豊田合成株式会社
検知システム
7日前
豊田合成株式会社
乗員保護装置
8日前
豊田合成株式会社
エアバッグ装置
27日前
豊田合成株式会社
車両用投影装置
8日前
豊田合成株式会社
車両用照明装置
14日前
豊田合成株式会社
車両用投影装置
14日前
豊田合成株式会社
立体エアバッグ
1か月前
豊田合成株式会社
ステアリング装置
28日前
豊田合成株式会社
ステアリング装置
27日前
豊田合成株式会社
ステアリング装置
28日前
豊田合成株式会社
ステアリング装置
29日前
豊田合成株式会社
把持検知システム
29日前
豊田合成株式会社
車両の音出力装置
14日前
豊田合成株式会社
把持検知システム
1か月前
豊田合成株式会社
車両の前部構造体
21日前
豊田合成株式会社
空調用レジスター
8日前
豊田合成株式会社
車両画像投影装置
12日前
豊田合成株式会社
車両用空調ダクト
7日前
豊田合成株式会社
車両用カップホルダ
13日前
豊田合成株式会社
車内用発光表示装置
12日前
豊田合成株式会社
コンテンツ体験装置
28日前
豊田合成株式会社
モーションレジスタ
8日前
豊田合成株式会社
車両用体験システム
28日前
豊田合成株式会社
スタックマニホールド
1か月前
続きを見る
他の特許を見る