TOP
|
特許
|
意匠
|
商標
特許ウォッチ
Twitter
他の特許を見る
10個以上の画像は省略されています。
公開番号
2025152215
公報種別
公開特許公報(A)
公開日
2025-10-09
出願番号
2024054005
出願日
2024-03-28
発明の名称
エアバッグ装置
出願人
豊田合成株式会社
代理人
個人
主分類
B62J
27/20 20200101AFI20251002BHJP(鉄道以外の路面車両)
要約
【課題】エアバッグの収納領域への雨水の進入を的確に抑制可能なエアバッグ装置を提供すること。
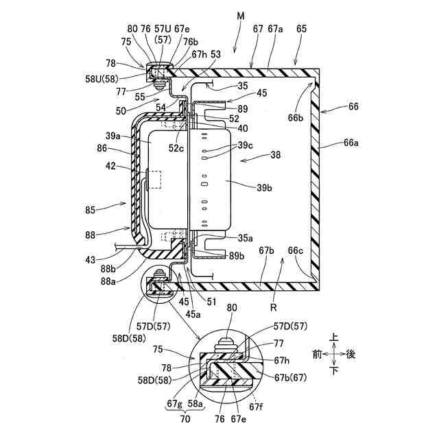
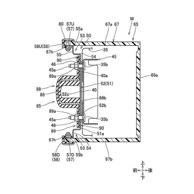
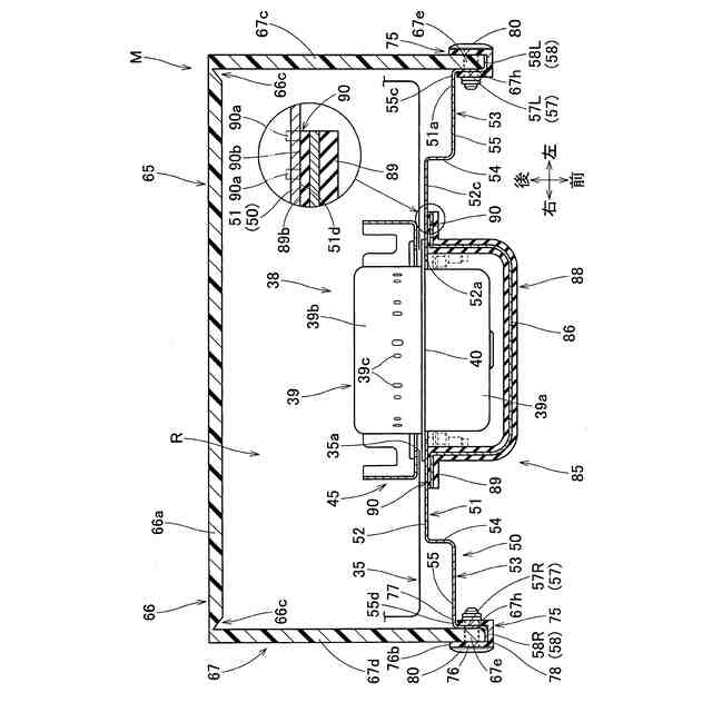
【解決手段】エアバッグ35と、インフレーター38と、バッグホルダ50と、エアバッグカバー65と、を備えるエアバッグ装置。エアバッグカバーが、天井壁部66と、四角筒状の周壁部67と、を備える。バッグホルダが、周壁部の先端側を全面にわたって閉塞するとともに、外周縁側に、周壁部の先端側に向かうように延びて周壁部の内周面と当接可能とされる取付片57を、全周にわたって配設させている。取付片と周壁部の先端とが、相互に重ねられて、周囲をキャップ部75によって覆われた状態で、キャップ部とともに取付手段80を貫通させることにより、連結される。キャップ部が、周壁部の外周面側を覆う外壁部と、取付片の内周面側を覆う内壁部と、外壁部と内壁部との先端相互を連結する連結壁部と、を有している。
【選択図】図2
特許請求の範囲
【請求項1】
内部に膨張用ガスを流入させて膨張可能な袋状とされるとともに、折り畳まれて収納されるエアバッグと、
該エアバッグに膨張用ガスを供給するインフレーターと、
前記エアバッグと前記インフレーターとを取り付けて保持するためのバッグホルダと、
折り畳まれた前記エアバッグを覆うエアバッグカバーと、
を備えるエアバッグ装置であって、
前記エアバッグカバーが、内部に膨張用ガスを流入させて膨張する前記エアバッグにより押し開き可能な扉部を備える天井壁部と、該天井壁部から前記バッグホルダ側に延びるように形成されて折り畳まれた前記エアバッグの側方を覆い可能とされる四角筒状の周壁部と、を備え、
前記バッグホルダが、前記周壁部の先端側を全面にわたって閉塞するとともに、外周縁側に、前記周壁部の先端側に向かうように前記周壁部に沿って延びて前記周壁部の内周面と当接可能とされる取付片を、全周にわたって配設させる構成とされ、
前記取付片と前記周壁部の先端とが、相互に重ねられて、周囲を、全周にわたってキャップ部によって覆われた状態で、該キャップ部とともに取付手段を貫通させることにより、連結され、
前記キャップ部が、前記周壁部の外周面側を覆うように配置される外壁部と、前記取付片の内周面側を覆うように配置される内壁部と、前記外壁部と前記内壁部との先端相互を連結する連結壁部と、を有する断面U字形状として、前記取付片と前記周壁部の先端との周囲を覆うように、構成されていることを特徴とするエアバッグ装置。
続きを表示(約 590 文字)
【請求項2】
前記周壁部と前記取付片とに、前記取付片に対して直交するように形成されて、相互に当接可能な当接面部が、形成されていることを特徴とする請求項1に記載のエアバッグ装置。
【請求項3】
前記エアバッグと前記インフレーターとが、リテーナを用いて前記バッグホルダに取り付けられ、
前記インフレーターが、円柱状の本体部と、該本体部の外周面から外方に延びるフランジ部と、を有して、前記バッグホルダに形成される挿入用開口に前記本体部の一端側を進入させ、前記本体部の他端側を前記バッグホルダから露出させるようにして、折り畳まれた前記エアバッグの内部に配設される前記リテーナのボルトを、前記エアバッグにおける流入用開口周縁と、前記バッグホルダと、前記フランジ部と、に、貫通させた状態で、該ボルトにナットを締結させることにより、前記エアバッグとともに、前記バッグホルダに取り付けられる構成とされ、
前記バッグホルダの外周側に、前記バッグホルダから露出している前記本体部の他端側の領域を全面にわたって覆い可能なカバー部材が、配設され、
該カバー部材が、前記リテーナの前記ボルトと前記ナットとを利用して、前記インフレーター及び前記エアバッグとともに前記バッグホルダに取り付けられる構成とされていることを特徴とする請求項1または2に記載のエアバッグ装置。
発明の詳細な説明
【技術分野】
【0001】
本発明は、バッグホルダに取り付けた状態のエアバッグとインフレーターとの周囲を、エアバッグカバーによって覆う構成のエアバッグ装置に関する。
続きを表示(約 2,400 文字)
【背景技術】
【0002】
従来、エアバッグ装置としては、バイク(スクータ)用として、スクータのシートに着座している運転者の前方に搭載されるものがあった(例えば、特許文献1参照)。
【先行技術文献】
【特許文献】
【0003】
特開2018-52340公報
【発明の概要】
【発明が解決しようとする課題】
【0004】
しかし、バイク用のエアバッグ装置は、雨水のかかりやすい位置に搭載されることから、エアバッグの収納領域への雨水の進入を抑制する点に、改善の余地があった。
【0005】
本発明は、上述の課題を解決するものであり、エアバッグの収納領域への雨水の進入を的確に抑制可能なエアバッグ装置を提供することを目的とする。
【課題を解決するための手段】
【0006】
本発明に係るエアバッグ装置は、内部に膨張用ガスを流入させて膨張可能な袋状とされるとともに、折り畳まれて収納されるエアバッグと、
エアバッグに膨張用ガスを供給するインフレーターと、
エアバッグとインフレーターとを取り付けて保持するためのバッグホルダと、
折り畳まれたエアバッグを覆うエアバッグカバーと、
を備えるエアバッグ装置であって、
エアバッグカバーが、内部に膨張用ガスを流入させて膨張するエアバッグにより押し開き可能な扉部を備える天井壁部と、天井壁部からバッグホルダ側に延びるように形成されて折り畳まれたエアバッグの側方を覆い可能とされる略四角筒状の周壁部と、を備え、
バッグホルダが、周壁部の先端側を全面にわたって閉塞するとともに、外周縁側に、周壁部の先端側に向かうように周壁部に沿って延びて周壁部の内周面と当接可能とされる取付片を、全周にわたって配設させる構成とされ、
取付片と周壁部の先端とが、相互に重ねられて、周囲を、全周にわたってキャップ部によって覆われた状態で、キャップ部とともに取付手段を貫通させることにより、連結され、
キャップ部が、周壁部の外周面側を覆うように配置される外壁部と、取付片の内周面側を覆うように配置される内壁部と、外壁部と内壁部との先端相互を連結する連結壁部と、を有する断面U字形状として、取付片と周壁部の先端との周囲を覆うように、構成されていることを特徴とする。
【0007】
本発明のエアバッグ装置では、折り畳まれたエアバッグとインフレーターとを保持しているバッグホルダと、折り畳まれたエアバッグの外周側を覆っているエアバッグカバーと、が、バッグホルダの外周縁側において全周にわたって形成される取付片を、エアバッグカバーにおける周壁部の先端側の内周面側に当接させて、両者の周囲を全周にわたって覆うキャップ部ごと、相互に重ねられた状態で、取付手段を貫通させることにより、連結される構成である。そして、キャップ部は、エアバッグカバーにおける周壁部の先端の外周面側から、周壁部と取付片との先端面を経て、取付片の内周面側にかけてを覆うように、断面U字形状に構成されている。そのため、雨水のかかりやすい位置に搭載される構成としていても、キャップ部によって周囲を広く覆われることにより、先端側から、周壁部と取付片との間に、雨水が進入することを、抑制できる。また、周壁部の先端と取付片とは、相互に重ねられて、取付手段を貫通させることにより、連結される構成であり、換言すれば、ある程度幅広の領域で相互に接触されることとなる。そのため、仮に、周壁部とキャップ部との間から雨水が進入したとしても、このような雨水は、キャップ部における外壁部と周壁部との間の隙間と、キャップ部における連結壁部と周壁部の先端面との間の隙間と、周壁部の先端と取付片との間の隙間と、を経るようにして進入することとなり、換言すれば、迂回するようにしてしか、エアバッグの収納領域内に進入することができないことから、多量の雨水を内部(エアバッグの収納領域側)に進入させがたい。
【0008】
したがって、本発明のエアバッグ装置では、エアバッグの収納領域への雨水の進入を的確に抑制することができる。
【0009】
また、本発明のエアバッグ装置において、周壁部と取付片とに、取付片に対して直交するように形成されて、相互に当接可能な当接面部を、配設させる構成とすれば、キャップ部を外周側に配置させて、取付手段を取り付ける際の周壁部の先端と取付片との位置決めが容易となり、取付作業時の作業性が良好となって、好ましい。
【0010】
さらに、上記構成のエアバッグ装置において、エアバッグとインフレーターとを、リテーナを用いてバッグホルダに取り付けられ、
インフレーターを、円柱状の本体部と、本体部の外周面から外方に延びるフランジ部と、を有して、バッグホルダに形成される挿入用開口に本体部の一端側を進入させ、本体部の他端側をバッグホルダから露出させるようにして、折り畳まれたエアバッグの内部に配設されるリテーナのボルトを、エアバッグにおける流入用開口周縁と、バッグホルダと、フランジ部と、に、貫通させた状態で、ボルトにナットを締結させることにより、エアバッグとともに、バッグホルダに取り付けられる構成とし、
バッグホルダの外周側に、バッグホルダから露出している本体部の他端側の領域を略全面にわたって覆い可能なカバー部材を、配設させ、
カバー部材を、リテーナのボルトとナットとを利用して、インフレーター及びエアバッグとともにバッグホルダに取り付けられる構成とすることが、好ましい。
(【0011】以降は省略されています)
この特許をJ-PlatPat(特許庁公式サイト)で参照する
関連特許
豊田合成株式会社
積層体
13日前
豊田合成株式会社
調光装置
22日前
豊田合成株式会社
ガラスラン
1か月前
豊田合成株式会社
ガラスラン
1か月前
豊田合成株式会社
車両用外装品
1か月前
豊田合成株式会社
乗員保護装置
9日前
豊田合成株式会社
検知システム
8日前
豊田合成株式会社
車両用ビーム
8日前
豊田合成株式会社
車両用ビーム
8日前
豊田合成株式会社
乗員保護装置
28日前
豊田合成株式会社
機器制御装置
1か月前
豊田合成株式会社
乗員保護装置
1か月前
豊田合成株式会社
車両用外装品
7日前
豊田合成株式会社
車両用内装品
1か月前
豊田合成株式会社
車両用外装品
9日前
豊田合成株式会社
立体エアバッグ
1か月前
豊田合成株式会社
車両用投影装置
15日前
豊田合成株式会社
車両用照明装置
15日前
豊田合成株式会社
車両用投影装置
9日前
豊田合成株式会社
エアバッグ装置
28日前
豊田合成株式会社
空調用レジスタ
1か月前
豊田合成株式会社
電動液体ポンプ
1か月前
豊田合成株式会社
電動液体ポンプ
1か月前
豊田合成株式会社
空調用レジスタ
1か月前
豊田合成株式会社
電動液体ポンプ
1か月前
豊田合成株式会社
電動液体ポンプ
1か月前
豊田合成株式会社
電動液体ポンプ
1か月前
豊田合成株式会社
空調用レジスタ
1か月前
豊田合成株式会社
ステアリング装置
29日前
豊田合成株式会社
車両の前部構造体
22日前
豊田合成株式会社
ステアリング装置
29日前
豊田合成株式会社
車両の音出力装置
15日前
豊田合成株式会社
把持検知システム
1か月前
豊田合成株式会社
ステアリング装置
28日前
豊田合成株式会社
把持検知システム
1か月前
豊田合成株式会社
車両画像投影装置
13日前
続きを見る
他の特許を見る