TOP
|
特許
|
意匠
|
商標
特許ウォッチ
Twitter
他の特許を見る
公開番号
2025144591
公報種別
公開特許公報(A)
公開日
2025-10-03
出願番号
2024044309
出願日
2024-03-20
発明の名称
電動液体ポンプ
出願人
豊田合成株式会社
代理人
弁理士法人 共立特許事務所
主分類
F04C
2/18 20060101AFI20250926BHJP(液体用容積形機械;液体または圧縮性流体用ポンプ)
要約
【課題】電動液体ポンプの小型化および軽量化を実現し得る技術を提供する。
【解決手段】モータロータ20と、ステータ25とを有する電動モータ2と、インナロータ30と、アウタロータ35とを有する液体ポンプ3と、箱状をなし、ステータ25とを収容する第1収容室41と、モータロータ20の軸方向の他の一部を収容する第2収容室42と、区画壁45とを内部に有するモータケース4と、芯出しボデー部51と、芯出しボデー部51に連続し第2収容室42に収容される一般ボデー部52と、芯出しボデー部51と一般ボデー部52とに貫通形成され磁石部23とインナロータ30との間の位置でシャフト21の軸方向の一部を支持する軸受部と、を有するボデー5と、を具備し、インナロータ30、アウタロータ35およびボデー5が熱硬化性樹脂製であり、磁石部23がボンド磁石である、電動液体ポンプ1。
【選択図】図2
特許請求の範囲
【請求項1】
シャフトと前記シャフトの軸方向の一端部に一体化されている磁石部とを有するモータロータと、前記磁石部の径方向外側または径方向内側に配置され前記モータロータを回転させるステータと、を有する電動モータと、
外歯を有し前記シャフトの軸方向の他端部に一体化されているインナロータと、前記外歯に噛合する内歯を有し吸入通路から液体が吸入されるとともに吐出通路に向けて液体が吐出される隙間容積部を前記インナロータとの間に形成するアウタロータと、を有する液体ポンプと、
箱状をなし、前記磁石部を含む前記モータロータの軸方向の一部と前記ステータとを収容する第1収容室と、前記第1収容室に連絡し前記モータロータの軸方向の他の一部を収容する第2収容室と、前記第1収容室と前記第2収容室とを連絡する孔状連絡部を有し前記第1収容室と前記第2収容室との間に設けられている区画壁と、を内部に有し、前記第1収容室と前記第2収容室と前記孔状連絡部とに液体が循環するモータケースと、
前記孔状連絡部に挿入され芯出しされる芯出しボデー部と、前記芯出しボデー部に連続し前記第2収容室に収容される一般ボデー部と、前記芯出しボデー部と前記一般ボデー部とに貫通形成され前記磁石部と前記インナロータとの間の位置で前記シャフトの軸方向の一部を支持する軸受部と、を有するボデーと、を具備し、
前記インナロータ、前記アウタロータおよび前記ボデーが熱硬化性樹脂製であり、前記磁石部がボンド磁石である、電動液体ポンプ。
続きを表示(約 220 文字)
【請求項2】
前記モータケースは、前記第1収容室および前記第2収容室から液密に隔離された基板室を有し、前記ステータ用の制御基板は前記基板室に配置される、請求項1に記載の電動液体ポンプ。
【請求項3】
前記アウタロータに用いる熱硬化性樹脂材料、前記インナロータに用いる熱硬化性樹脂材料、および、前記ボデーに用いる熱硬化性樹脂材料の少なくとも一つはフェノール樹脂を含む、請求項1または請求項2に記載の電動液体ポンプ。
発明の詳細な説明
【技術分野】
【0001】
本発明はオイル等の液体を輸送するための電動液体ポンプに関する。
続きを表示(約 1,600 文字)
【背景技術】
【0002】
近年、電動液体ポンプを自動車等に搭載する技術が提案されている(例えば、特許文献1参照)。
【0003】
特許文献1には、共通のユニットハウジング内にポンプ、ポンプ駆動用電動モータおよび当該モータのコントローラが一体に組み込まれた電動液体ポンプが紹介されている。
特許文献1に紹介されている電動液体ポンプでは、モータにおけるモータロータとして大径のものを用い、当該モータロータのモータ軸および当該モータ軸を片持ち支持する軸受装置として、モータロータよりも小径のものを用いている。そして、当該軸受装置の軸方向の一部をモータロータに設けた凹部に収容することで、モータ軸の軸方向長さを短くし、かつ、一のみの軸受装置によってモータ軸を支持し、これにより、電動液体ポンプの小型化および軽量化を図っている。
【先行技術文献】
【特許文献】
【0004】
特開2010-112302号公報
【発明の概要】
【発明が解決しようとする課題】
【0005】
上記したように、特許文献1に紹介されている技術によると、電動液体ポンプの小型化および軽量化がある程度実現すると考えられる。
【0006】
しかし上記した特許文献1の電動液体ポンプによっても、その質量が十分に低減するとはいい難く、電動液体ポンプの更なる小型化および軽量化を実現する技術が望まれている。
【0007】
本発明は上記事情に鑑みてなされたものであり、電動液体ポンプの小型化および軽量化を実現し得る技術を提供することを解決すべき課題とする。
【課題を解決するための手段】
【0008】
上記課題を解決する本発明の電動液体ポンプは、
シャフトと前記シャフトの軸方向の一端部に一体化されている磁石部とを有するモータロータと、前記磁石部の径方向外側または径方向内側に配置され前記モータロータを回転させるステータと、を有する電動モータと、
外歯を有し前記シャフトの軸方向の他端部に一体化されているインナロータと、前記外歯に噛合する内歯を有し吸入通路から液体が吸入されるとともに吐出通路に向けて液体が吐出される隙間容積部を前記インナロータとの間に形成するアウタロータと、を有する液体ポンプと、
箱状をなし、前記磁石部を含む前記モータロータの軸方向の一部と前記ステータとを収容する第1収容室と、前記第1収容室に連絡し前記モータロータの軸方向の他の一部を収容する第2収容室と、前記第1収容室と前記第2収容室とを連絡する孔状連絡部を有し前記第1収容室と前記第2収容室との間に設けられている区画壁と、を内部に有し、前記第1収容室と前記第2収容室と前記孔状連絡部とに液体が循環するモータケースと、
前記孔状連絡部に挿入され芯出しされる芯出しボデー部と、前記芯出しボデー部に連続し前記第2収容室に収容される一般ボデー部と、前記芯出しボデー部と前記一般ボデー部とに貫通形成され前記磁石部と前記インナロータとの間の位置で前記シャフトの軸方向の一部を支持する軸受部と、を有するボデーと、を具備し、
前記インナロータ、前記アウタロータおよび前記ボデーが熱硬化性樹脂製であり、前記磁石部がボンド磁石である、電動液体ポンプである。
【発明の効果】
【0009】
本発明の電動液体ポンプによると、軽量化を実現することが可能である。
【図面の簡単な説明】
【0010】
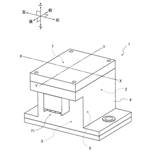
実施例1の電動液体ポンプの外観を模式的に説明する説明図である。
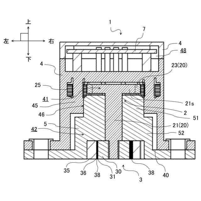
実施例1の電動液体ポンプを図1中のX-X位置で切断した様子を模式的に説明する説明図である。
実施例1の電動液体ポンプを図1中のY-Y位置で切断した様子を模式的に説明する説明図である。
【発明を実施するための形態】
(【0011】以降は省略されています)
この特許をJ-PlatPat(特許庁公式サイト)で参照する
関連特許
豊田合成株式会社
積層体
12日前
豊田合成株式会社
調光装置
21日前
豊田合成株式会社
車両用ビーム
7日前
豊田合成株式会社
車両用外装品
6日前
豊田合成株式会社
車両用外装品
8日前
豊田合成株式会社
乗員保護装置
8日前
豊田合成株式会社
検知システム
7日前
豊田合成株式会社
車両用ビーム
7日前
豊田合成株式会社
車両用投影装置
8日前
豊田合成株式会社
車両用照明装置
14日前
豊田合成株式会社
車両用投影装置
14日前
豊田合成株式会社
空調用レジスター
8日前
豊田合成株式会社
車両用空調ダクト
7日前
豊田合成株式会社
車両の音出力装置
14日前
豊田合成株式会社
車両の前部構造体
21日前
豊田合成株式会社
車両画像投影装置
12日前
豊田合成株式会社
車両用カップホルダ
13日前
豊田合成株式会社
車内用発光表示装置
12日前
豊田合成株式会社
モーションレジスタ
8日前
豊田合成株式会社
車両用見切りシール部材
12日前
豊田合成株式会社
車両用シャッタ式物入れ
19日前
豊田合成株式会社
歩行者保護用エアバッグ
今日
豊田合成株式会社
車両乗員用衝撃吸収装置
8日前
豊田合成株式会社
インストルメントパネル構造
7日前
豊田合成株式会社
光源装置及び発光エンブレム
14日前
豊田合成株式会社
車両用ビーム及び車両の前部構造
7日前
豊田合成株式会社
波付筒状部材およびその製造方法
6日前
豊田合成株式会社
車両用空調ダクト及び車両用ビーム
7日前
豊田合成株式会社
センサマット構造、把持検知システム
今日
豊田合成株式会社
オープニングトリムウェザストリップ
12日前
豊田合成株式会社
オープニングトリムウェザストリップ
12日前
豊田合成株式会社
車両用空調操作装置及び車両用空調システム
8日前
豊田合成株式会社
センサマット構造、および、ステアリング装置
今日
豊田合成株式会社
種基板およびIII族窒化物半導体の製造方法
9日前
豊田合成株式会社
車両の前部構造及び車両の前部構造の組み付け方法
12日前
豊田合成株式会社
筒状部材
7日前
続きを見る
他の特許を見る