TOP
|
特許
|
意匠
|
商標
特許ウォッチ
Twitter
他の特許を見る
公開番号
2025165683
公報種別
公開特許公報(A)
公開日
2025-11-05
出願番号
2024069909
出願日
2024-04-23
発明の名称
歩行者保護用エアバッグ
出願人
豊田合成株式会社
代理人
弁理士法人 共立特許事務所
主分類
B60R
21/36 20110101AFI20251028BHJP(車両一般)
要約
【課題】歩行者入力初期に衝撃吸収性能を確保しつつ歩行者入力後期に内圧上昇を抑えて歩行者保護性能を向上させること。
【解決手段】歩行者保護用エアバッグは、車両フードパネルの後端付近に配置されて開口を有するケースに折り畳まれた状態で収納され、膨張用流体の流入により開口から飛び出してフロントピラーの上面を覆い、袋状に形成されている。歩行者保護用エアバッグは、膨張用流体が流入可能な流入口が形成された状態に複数枚のパネルが縫い合わされた外周縫製部を備える。外周縫製部は、一般縫製部と、一般縫製部よりも破断し易い脆弱縫製部と、を有する。
【選択図】図5
特許請求の範囲
【請求項1】
車両フードパネルの後端付近に配置されて開口を有するケースに折り畳まれた状態で収納され、膨張用流体の流入により前記開口から飛び出してフロントピラーの上面を覆う袋状の歩行者保護用エアバッグであって、
前記膨張用流体が流入可能な流入口が形成された状態に複数枚のパネルが縫い合わされた外周縫製部を備え、
前記外周縫製部は、
一般縫製部と、
前記一般縫製部よりも破断し易い脆弱縫製部と、
を有する、歩行者保護用エアバッグ。
続きを表示(約 400 文字)
【請求項2】
前記一般縫製部は、縫目がそれぞれ線状に延びかつ互いに離れて配置された第1及び第2一般縫製部を有し、
前記第1一般縫製部と前記第2一般縫製部との間に配置され、袋内と袋外とを連通させるベントホール部を備え、
前記脆弱縫製部は、前記ベントホール部を閉じるように形成されている、請求項1に記載された歩行者保護用エアバッグ。
【請求項3】
前記脆弱縫製部は、前記第1一般縫製部と前記第2一般縫製部とを非直線で繋ぐように形成されている、請求項2に記載された歩行者保護用エアバッグ。
【請求項4】
前記脆弱縫製部は、袋内側に突出して形成された凸部を有する、請求項1乃至3の何れか一項に記載された歩行者保護用エアバッグ。
【請求項5】
前記凸部は、前記凸部の中途において屈折した角部を有する、請求項4に記載された歩行者保護用エアバッグ。
発明の詳細な説明
【技術分野】
【0001】
本発明は、車両に搭載された歩行者保護用エアバッグに関する。
続きを表示(約 2,100 文字)
【背景技術】
【0002】
車両の衝突時にフードパネルの後端付近からエアバッグを展開させて歩行者を保護するエアバッグ装置が知られている(例えば、特許文献1及び2参照)。これらのエアバッグ装置は、車両衝突前においてフードパネルの後端下方に配置されて開口を有するケースに折り畳まれた状態で収納される歩行者保護用エアバッグと、車両衝突時にガス等の膨張用流体を発生させて歩行者保護用エアバッグに供給するインフレータ等の高圧発生源と、を備えている。かかるエアバッグ装置は、車両が衝突した場合に、高圧発生源により膨張用流体を発生させ、その膨張用流体を歩行者保護用エアバッグに供給し、その歩行者保護用エアバッグをケースの開口から飛び出させ展開膨張させることにより、歩行者を保護する。
【0003】
上記の歩行者保護用エアバッグは、展開膨張のために供給される流体を閉じ込めるべく袋状に形成されており、膨張展開時に車両のフロントピラーの上面を覆うように形成配置されている。一般的に、エアバッグを袋状に形成するうえでは、平面状に織られた生地を所定形状に裁断したパネルを複数縫い合わせる構造とする手法が考えられる。この袋状のエアバッグによれば、展開膨張時に所望の立体形状を速やかに形成することができるので、車両衝突時における歩行者の保護性能を向上させることができる。
【先行技術文献】
【特許文献】
【0004】
特開2000-264146号公報
特開2020-157839号公報
【発明の概要】
【発明が解決しようとする課題】
【0005】
上記の如くエアバッグが複数枚のパネルを縫い合わせて構成される構造では、そのエアバッグは、外周縫製部を備えている。外周縫製部は、複数枚のパネルを縫い合わせた線状に延びる部位であって、膨張用流体が流入可能な流入口の部分を除いて形成される。かかる外周縫製部を備えるエアバッグでは、展開膨張後に入力として想定される最大の衝撃を吸収するのに耐え得るある程度大きな縫製強度を持たせることが適切である。
【0006】
しかしながら、エアバッグの外周縫製部が全体に亘って略均一な縫製強度になるように形成されていると、展開膨張後のエアバッグに入力があったときにエアバッグの内圧が過剰に上がる可能性がある。特に、歩行者保護用エアバッグは、展開膨張時に幅の狭いフロントピラーの上面を覆うことができれば十分であるので、容量が比較的小さいのが一般的であり、歩行者保護用エアバッグにおいて外周縫製部の縫製強度が全体に亘って略均一であると、容量が比較的大きい乗員保護用エアバッグなどと比較して、歩行者入力に伴ってエアバッグの内圧が急上昇し易い。このため、かかる歩行者保護用エアバッグでは、歩行者保護の観点で限界がある。
【0007】
本発明は、上記事情に鑑みてなされたものであり、歩行者入力初期に衝撃吸収性能を確保しつつ歩行者入力後期に内圧上昇を抑えて歩行者保護性能を向上させることが可能な歩行者保護用エアバッグを提供することを目的とする。
【課題を解決するための手段】
【0008】
本発明の一態様は、車両フードパネルの後端付近に配置されて開口を有するケースに折り畳まれた状態で収納され、膨張用流体の流入により前記開口から飛び出してフロントピラーの上面を覆う袋状の歩行者保護用エアバッグであって、前記膨張用流体が流入可能な流入口が形成された状態に複数枚のパネルが縫い合わされた外周縫製部を備え、前記外周縫製部は、一般縫製部と、前記一般縫製部よりも破断し易い脆弱縫製部と、を有する、歩行者保護用エアバッグである。
【0009】
この構成によれば、歩行者入力初期に衝撃吸収性能を確保しつつ歩行者入力後期に内圧上昇を抑えて歩行者保護性能を向上させることができる。
【図面の簡単な説明】
【0010】
本発明の一実施形態に係る歩行者保護用エアバッグが展開膨張する車両を表した斜視図である。
実施形態の歩行者保護用エアバッグ(左フロントピラー用)が膨張展開する状態を車両上方から見た図である。
実施形態の歩行者保護用エアバッグが膨張展開する状態を車両側方から見た図である。
図2に示す歩行者保護用エアバッグを直線IV-IVで切断した際の断面図である。
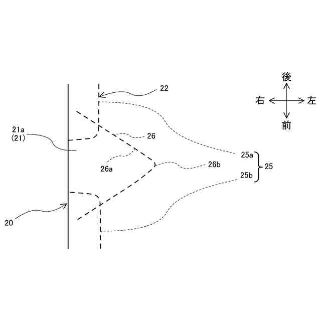
実施形態の歩行者保護用エアバッグの外周縫製部の要部の平面図である。
実施形態の歩行者保護用エアバッグ(展開膨張時)を図5に示す直線VI-VIで切断した際の断面図である。
実施形態の歩行者保護用エアバッグ(展開膨張時)を図5に示す直線VII-VIIで切断した際の断面図である。
実施形態の歩行者保護用エアバッグを脆弱縫製部の無い対比例の歩行者保護用エアバッグと比較した効果を表した図である。
本発明の変形形態に係る歩行者保護用エアバッグの外周縫製部の要部の平面図である。
【発明を実施するための形態】
(【0011】以降は省略されています)
この特許をJ-PlatPat(特許庁公式サイト)で参照する
関連特許
豊田合成株式会社
積層体
1か月前
豊田合成株式会社
調光装置
17日前
豊田合成株式会社
調光装置
1か月前
豊田合成株式会社
調光装置
1か月前
豊田合成株式会社
外装パネル
2日前
豊田合成株式会社
半導体素子
1か月前
豊田合成株式会社
光デバイス
3日前
豊田合成株式会社
乗員保護装置
2日前
豊田合成株式会社
乗員保護装置
2日前
豊田合成株式会社
車両用外装品
1か月前
豊田合成株式会社
車両用外装品
1か月前
豊田合成株式会社
流体殺菌装置
17日前
豊田合成株式会社
乗員保護装置
1か月前
豊田合成株式会社
乗員保護装置
2日前
豊田合成株式会社
乗員保護装置
1か月前
豊田合成株式会社
車両用ビーム
1か月前
豊田合成株式会社
検知システム
1か月前
豊田合成株式会社
車両用ビーム
1か月前
豊田合成株式会社
制御ユニット
9日前
豊田合成株式会社
車両用発光装置
1か月前
豊田合成株式会社
車両用発光装置
1か月前
豊田合成株式会社
車両用発光装置
1か月前
豊田合成株式会社
エアバッグ装置
1か月前
豊田合成株式会社
車両用照明装置
1か月前
豊田合成株式会社
エアバッグ装置
2日前
豊田合成株式会社
車両用投影装置
1か月前
豊田合成株式会社
エアバッグ装置
9日前
豊田合成株式会社
エアバッグ装置
9日前
豊田合成株式会社
車両用投影装置
1か月前
豊田合成株式会社
車両の音出力装置
1か月前
豊田合成株式会社
車両画像投影装置
1か月前
豊田合成株式会社
車両用空調ダクト
1か月前
豊田合成株式会社
車内照明システム
1か月前
豊田合成株式会社
車両の前部構造体
1か月前
豊田合成株式会社
車内照明システム
1か月前
豊田合成株式会社
車両の音出力装置
2日前
続きを見る
他の特許を見る