TOP
|
特許
|
意匠
|
商標
特許ウォッチ
Twitter
他の特許を見る
公開番号
2025168199
公報種別
公開特許公報(A)
公開日
2025-11-07
出願番号
2024186668
出願日
2024-10-23
発明の名称
車内照明システム
出願人
豊田合成株式会社
代理人
弁理士法人平田国際特許事務所
主分類
B60Q
3/80 20170101AFI20251030BHJP(車両一般)
要約
【課題】複数のランプユニットとそれらを制御する上位ECUとを接続する配線が少なく、かつ上位ECUから複数のランプユニットに送信される指示信号のデータ量を抑えることのできる車内照明システムを提供する。
【解決手段】LIN通信を行う車内照明システムであって、1本のバスケーブル12で接続された複数のランプユニット11と、複数のランプユニット11の発光動作による演出の内容を指示する演出指示信号S
1
を複数のランプユニット11にバスケーブル12を介して送信する上位ECU10と、を備え、複数のランプユニット11の各々は、発光素子112と、演出指示信号S
1
の内容に応じて発光素子112の出力を制御する制御IC111とを備え、演出指示信号S
1
は、1つの演出の指示において、演出時間に依らずに複数のランプユニット11に1回ずつ送信される、車内照明システム1を提供する。
【選択図】図2
特許請求の範囲
【請求項1】
LIN通信又はCAN通信を行う車内照明システムであって、
1本又は2本のバスケーブルで接続された複数のランプユニットと、
前記複数のランプユニットの発光動作による演出の内容を指示する演出指示信号を前記複数のランプユニットに前記バスケーブルを介して送信する上位ECUと、
を備え、
前記複数のランプユニットの各々は、発光素子と、前記演出指示信号の内容に応じて前記発光素子の出力を制御する制御ICとを備え、
前記演出指示信号は、1つの演出の指示において、演出時間に依らずに前記複数のランプユニットに1回ずつ送信される、
車内照明システム。
続きを表示(約 410 文字)
【請求項2】
前記上位ECUは、前記演出指示信号を送信する度に、複数の指示情報のうちの必要な指示情報のみを組み合わせて前記演出指示信号に含める、
請求項1に記載の車内照明システム。
【請求項3】
前記複数のランプユニットの出力を同時に変化させる動作を指定する指示情報が前記演出指示信号に含まれているときに、前記複数のランプユニットにおいて前記制御ICが前記発光素子の出力を変化させるタイミングを同期させる、
請求項1又は2に記載の車内照明システム。
【請求項4】
前記複数のランプユニットの各々は、複数の前記発光素子を備える、
請求項1又は2に記載の車内照明システム。
【請求項5】
LIN通信を行う車内照明システムであって、
前記複数のランプユニットのノード数は、15以上である、
請求項1又は2に記載の車内照明システム。
発明の詳細な説明
【技術分野】
【0001】
本発明は、車内照明システムに関する。
続きを表示(約 2,000 文字)
【背景技術】
【0002】
従来、車両に用いられる照明ユニットであって、複数の照明負荷と、これら照明負荷を独立して制御する制御信号を出力する制御ユニットと、複数の照明負荷と制御ユニットを接続するワイヤハーネス構造体とを備えた照明ユニットが知られている(特許文献1を参照)。
【0003】
特許文献1に記載の照明ユニットにおいては、ワイヤハーネス構造体の中継コネクタに内蔵されたチップが、制御ユニットから伝送された制御信号に応じて各照明負荷に対する電源供給を制御するので、制御ユニットの負担を軽減することができる。
【先行技術文献】
【特許文献】
【0004】
特開2012-133985号公報
【発明の概要】
【発明が解決しようとする課題】
【0005】
しかしながら、特許文献1に記載の照明ユニットにおいては、複数の照明負荷とワイヤハーネス構造体の中継コネクタをつなぐ信号線が、複数の照明負荷の各々に対して1本ずつ用いられている。そのため、この照明ユニットは重量が大きく、また、サイズが大きいために配置の際に空間を圧迫する。
【0006】
本発明の目的は、複数のランプユニットとそれらを制御する上位ECUとを接続する配線が少なく、かつ上位ECUから複数のランプユニットに送信される指示信号のデータ量を抑えることのできる車内照明システムを提供することにある。
【課題を解決するための手段】
【0007】
本発明の一態様は、上記目的を達成するために、下記の車内照明システムを提供する。
【0008】
[1]LIN通信又はCAN通信を行う車内照明システムであって、1本又は2本のバスケーブルで接続された複数のランプユニットと、前記複数のランプユニットの発光動作による演出の内容を指示する演出指示信号を前記複数のランプユニットに前記バスケーブルを介して送信する上位ECUと、を備え、前記複数のランプユニットの各々は、発光素子と、前記演出指示信号の内容に応じて前記発光素子の出力を制御する制御ICとを備え、前記演出指示信号は、1つの演出の指示において、演出時間に依らずに前記複数のランプユニットに1回ずつ送信される、車内照明システム。
[2]前記上位ECUは、前記演出指示信号を送信する度に、複数の指示情報のうちの必要な指示情報のみを組み合わせて前記演出指示信号に含める、上記[1]に記載の車内照明システム。
[3]前記複数のランプユニットの出力を同時に変化させる動作を指定する指示情報が前記演出指示信号に含まれているときに、前記複数のランプユニットにおいて前記制御ICが前記発光素子の出力を変化させるタイミングを同期させる、上記[1]又は[2]に記載の車内照明システム。
[4]前記複数のランプユニットの各々は、複数の前記発光素子を備える、上記[1]又は[2]に記載の車内照明システム。
[5]LIN通信を行う車内照明システムであって、前記複数のランプユニットのノード数は、15以上である、上記[1]又は[2]に記載の車内照明システム。
【発明の効果】
【0009】
本発明によれば、複数のランプユニットとそれらを制御する上位ECUとを接続する配線が少なく、かつ上位ECUから複数のランプユニットに送信される指示信号のデータ量を抑えることのできる車内照明システムを提供することができる。
【図面の簡単な説明】
【0010】
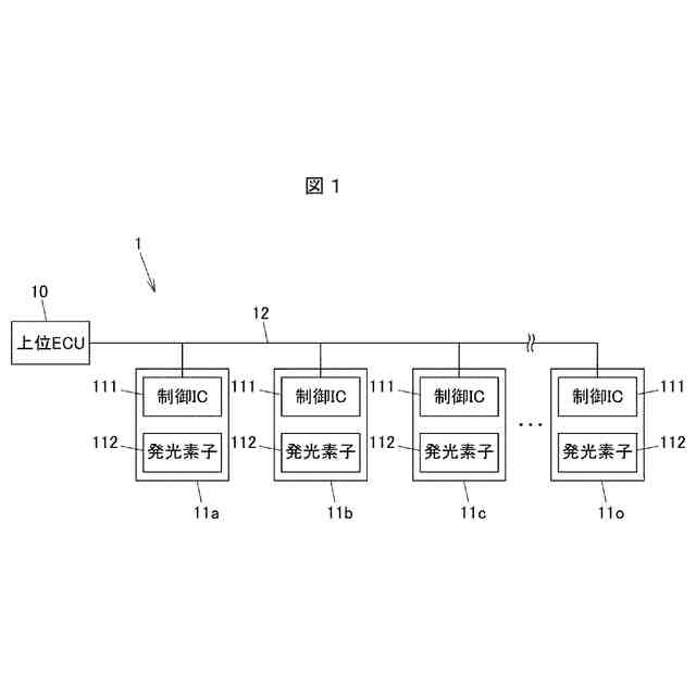
図1は、本発明の実施の形態に係る車内照明システムの構成を概略的に示すブロック図である。
図2(a)は、LIN通信を行う従来の照明システムにおける、演出を行う間の上位ECUからランプユニットへの信号送信のタイミングを概念的に示す図である。図2(b)は、本発明の実施の形態に係る車内照明システムにおける、演出を行う間の上位ECUからランプユニットへの信号送信のタイミングを概念的に示す図である。
図3は、演出指示信号S
1
に含まれる演出指示情報の例を示す模式図である。
図4(a)は、1本のバスケーブルで接続されたランプユニットのうちの2つ以上が接続される導光体の側面図である。図4(b)は、導光体に光を供給するランプユニットと、導光体を収容する筐体が導光体に取り付けられた状態の外観図である。
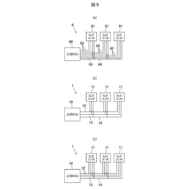
図5(a)~(c)は、比較例としての従来の照明ユニットと本発明の実施の形態に係る車内照明システムの配線数を比較するための模式図である。
【発明を実施するための形態】
(【0011】以降は省略されています)
この特許をJ-PlatPat(特許庁公式サイト)で参照する
関連特許
豊田合成株式会社
積層体
1か月前
豊田合成株式会社
調光装置
1か月前
豊田合成株式会社
調光装置
24日前
豊田合成株式会社
調光装置
11日前
豊田合成株式会社
ガラスラン
1か月前
豊田合成株式会社
半導体素子
24日前
豊田合成株式会社
ガラスラン
1か月前
豊田合成株式会社
車両用外装品
1か月前
豊田合成株式会社
検知システム
1か月前
豊田合成株式会社
乗員保護装置
1か月前
豊田合成株式会社
車両用外装品
1か月前
豊田合成株式会社
車両用外装品
1か月前
豊田合成株式会社
乗員保護装置
1か月前
豊田合成株式会社
乗員保護装置
1か月前
豊田合成株式会社
車両用ビーム
1か月前
豊田合成株式会社
車両用ビーム
1か月前
豊田合成株式会社
機器制御装置
1か月前
豊田合成株式会社
制御ユニット
3日前
豊田合成株式会社
車両用内装品
2か月前
豊田合成株式会社
車両用内装品
2か月前
豊田合成株式会社
流体殺菌装置
11日前
豊田合成株式会社
エアバッグ装置
3日前
豊田合成株式会社
車両用投影装置
1か月前
豊田合成株式会社
空調用レジスタ
2か月前
豊田合成株式会社
空調用レジスタ
2か月前
豊田合成株式会社
空調用レジスタ
2か月前
豊田合成株式会社
車両用照明装置
1か月前
豊田合成株式会社
電動液体ポンプ
1か月前
豊田合成株式会社
エアバッグ装置
1か月前
豊田合成株式会社
電動液体ポンプ
1か月前
豊田合成株式会社
電動液体ポンプ
1か月前
豊田合成株式会社
立体エアバッグ
1か月前
豊田合成株式会社
電動液体ポンプ
1か月前
豊田合成株式会社
電動液体ポンプ
1か月前
豊田合成株式会社
エアバッグ装置
3日前
豊田合成株式会社
車両用投影装置
1か月前
続きを見る
他の特許を見る