TOP
|
特許
|
意匠
|
商標
特許ウォッチ
Twitter
他の特許を見る
公開番号
2025144589
公報種別
公開特許公報(A)
公開日
2025-10-03
出願番号
2024044306
出願日
2024-03-20
発明の名称
電動液体ポンプ
出願人
豊田合成株式会社
代理人
弁理士法人 共立特許事務所
主分類
F04C
2/10 20060101AFI20250926BHJP(液体用容積形機械;液体または圧縮性流体用ポンプ)
要約
【課題】電動液体ポンプの製造コストの低減および当該電動液体ポンプの軽量化を図り得る技術を提供する。
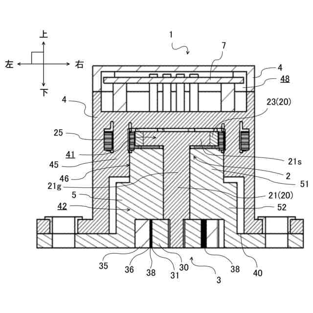
【解決手段】モータロータ20と、ステータ25とを有する電動モータ2と、インナロータ30と、アウタロータ35とを有する液体ポンプ3と、箱状をなし、ステータ25とを収容する第1収容室41と、モータロータ20の軸方向の他の一部を収容する第2収容室42と、区画壁45とを内部に有するモータケース4と、シャフト21の軸方向の一部を支持する軸受部と、を有するボデー5と、を具備し、シャフト21は、軸方向の一端部である大径のスリーブ21sと軸方向の残部でありスリーブ21sよりも小径の一般シャフト部21gとが同一材料で一体成形されたものであり、磁石部23はボンド磁石製であり、スリーブ21sに一体化されている、電動液体ポンプ1。
【選択図】図2
特許請求の範囲
【請求項1】
シャフトと前記シャフトの軸方向の一端部に一体化されている磁石部とを有するモータロータと、前記磁石部の径方向外側または径方向内側に配置され前記モータロータを回転させるステータと、を有する電動モータと、
外歯を有し前記シャフトの軸方向の他端部に一体化されているインナロータと、前記外歯に噛合する内歯を有し吸入通路から液体が吸入されるとともに吐出通路に向けて液体が吐出される隙間容積部を前記インナロータとの間に形成するアウタロータと、を有する液体ポンプと、
箱状をなし、前記磁石部を含む前記モータロータの軸方向の一部と前記ステータとを収容する第1収容室と、前記第1収容室に連絡し前記モータロータの軸方向の他の一部を収容する第2収容室と、前記第1収容室と前記第2収容室とを連絡する孔状連絡部を有し前記第1収容室と前記第2収容室との間に設けられている区画壁と、を内部に有し、前記第1収容室と前記第2収容室と前記孔状連絡部とに液体が循環するモータケースと、
前記孔状連絡部に挿入され芯出しされる芯出しボデー部と、前記芯出しボデー部に連続し前記第2収容室に収容される一般ボデー部と、前記芯出しボデー部と前記一般ボデー部とに貫通形成され前記磁石部と前記インナロータとの間の位置で前記シャフトの軸方向の一部を支持する軸受部と、を有するボデーと、を具備し、
前記シャフトは、軸方向の前記一端部である大径のスリーブと軸方向の残部であり前記スリーブよりも小径の一般シャフト部とが同一材料で一体成形されたものであり、
前記磁石部はボンド磁石製であり、前記スリーブに一体化されている、電動液体ポンプ。
続きを表示(約 560 文字)
【請求項2】
シャフトと前記シャフトの軸方向の一端部に一体化されている磁石部とを有するモータロータと、前記磁石部の径方向外側に配置され前記モータロータを回転させるステータと、を有する電動モータと、
外歯を有し前記シャフトの軸方向の他端部に一体化されているインナロータと、前記外歯に噛合する内歯を有し吸入通路から液体が吸入されるとともに吐出通路に向けて液体が吐出される隙間容積部を前記インナロータとの間に形成するアウタロータと、を有する液体ポンプと、
箱状をなし、前記液体ポンプおよび前記シャフトを収容するケースと、を具備し、
前記シャフトは、軸方向の前記一端部である大径のスリーブと軸方向の残部であり前記スリーブよりも小径の一般シャフト部とが同一材料で一体成形されたものであり、
前記磁石部はボンド磁石製であり、前記スリーブに一体化されている、電動液体ポンプ。
【請求項3】
前記シャフトはステンレススチール製である、請求項1または請求項2に記載の電動液体ポンプ。
【請求項4】
前記ボンド磁石は、磁性粉末としてのSmFeNとバインダとしてのポリアミドまたはポリフェニレンサルファイドとを含む、請求項1または請求項2に記載の電動液体ポンプ。
発明の詳細な説明
【技術分野】
【0001】
本発明はオイル等の液体を輸送するための電動液体ポンプに関する。
続きを表示(約 1,000 文字)
【背景技術】
【0002】
オイル等の液体を輸送するための電動液体ポンプとして、駆動源である電動モータと、当該電動モータのシャフトに接続されポンプ機能を実現するインナロータおよびアウタロータと、具備するものが知られている(例えば、特許文献1参照)。
【0003】
この種の電動液体ポンプにおいては、電動モータにおけるモータロータが回転することで、当該モータロータのシャフトに一体化されているインナロータが回転する。インナロータの回転に伴い当該インナロータと噛合しているアウタロータが回転する。これにより、液体を吸入および吐出するポンプ機能が発現する。
【先行技術文献】
【特許文献】
【0004】
特開2016-101062号公報
【発明の概要】
【発明が解決しようとする課題】
【0005】
電動液体ポンプにおけるモータロータは、シャフトの軸方向の一端部に磁石部が一体化されたものである。
【0006】
一般的なモータロータにおいて、シャフトは金属製でありかつ磁石部も金属製である。このような従来型のモータロータは、金属製のシャフトおよび金属製の磁石部を有することにより、質量が大きく、かつ、回転トルクも大きい。
【0007】
したがって、電動モータに上記の従来型のモータロータを有する従来型の電動液体ポンプは、モータロータを安定的に支持するための軸受として、金属製のベアリングを含む軸受部を必要としていた。
ベアリングはシャフトを滑らかに回転させるための機構であり、例えば一般的なベアリングである転がり軸受タイプのベアリングは、内輪とボールと外輪との三層構造をなし、質量の比較的大きな部材である。
【0008】
したがって、このような従来型の電動液体ポンプは軽量化し難い問題があった。
【0009】
特許文献1には、モータロータの磁石部として、ボンド磁石を用いる技術が紹介されている。
ボンド磁石とは磁性粉末をバインダで固めたものをいい、磁石部としてボンド磁石を用いることにより、バインダの分だけ磁石部の質量を軽減することが可能である。
【0010】
また特許文献1には、モータロータのうちシャフトにおける軸方向の一部に大径のスリーブを設け、外周面を含む当該スリーブの表面に磁石部を一体化することが提案されている。
(【0011】以降は省略されています)
この特許をJ-PlatPat(特許庁公式サイト)で参照する
関連特許
豊田合成株式会社
積層体
11日前
豊田合成株式会社
調光装置
20日前
豊田合成株式会社
検知システム
6日前
豊田合成株式会社
車両用外装品
5日前
豊田合成株式会社
車両用外装品
7日前
豊田合成株式会社
車両用ビーム
6日前
豊田合成株式会社
乗員保護装置
7日前
豊田合成株式会社
車両用ビーム
6日前
豊田合成株式会社
エアバッグ装置
26日前
豊田合成株式会社
車両用投影装置
7日前
豊田合成株式会社
車両用照明装置
13日前
豊田合成株式会社
車両用投影装置
13日前
豊田合成株式会社
空調用レジスター
7日前
豊田合成株式会社
車両の音出力装置
13日前
豊田合成株式会社
車両用空調ダクト
6日前
豊田合成株式会社
車両の前部構造体
20日前
豊田合成株式会社
車両画像投影装置
11日前
豊田合成株式会社
モーションレジスタ
7日前
豊田合成株式会社
車両用カップホルダ
12日前
豊田合成株式会社
車内用発光表示装置
11日前
豊田合成株式会社
車両用シャッタ式物入れ
18日前
豊田合成株式会社
車両乗員用衝撃吸収装置
7日前
豊田合成株式会社
車両用見切りシール部材
11日前
豊田合成株式会社
光源装置及び発光エンブレム
13日前
豊田合成株式会社
インストルメントパネル構造
6日前
豊田合成株式会社
車両用ビーム及び車両の前部構造
6日前
豊田合成株式会社
波付筒状部材およびその製造方法
5日前
豊田合成株式会社
車両用空調ダクト及び車両用ビーム
6日前
豊田合成株式会社
オープニングトリムウェザストリップ
11日前
豊田合成株式会社
オープニングトリムウェザストリップ
11日前
豊田合成株式会社
車両用空調操作装置及び車両用空調システム
7日前
豊田合成株式会社
種基板およびIII族窒化物半導体の製造方法
8日前
豊田合成株式会社
車両の前部構造及び車両の前部構造の組み付け方法
11日前
豊田合成株式会社
筒状部材
6日前
豊田合成株式会社
木粉繊維強化ポリオレフィン系樹脂組成物及びその製造方法
20日前
豊田合成株式会社
エアバッグ
5日前
続きを見る
他の特許を見る