TOP
|
特許
|
意匠
|
商標
特許ウォッチ
Twitter
他の特許を見る
公開番号
2025161090
公報種別
公開特許公報(A)
公開日
2025-10-24
出願番号
2024063996
出願日
2024-04-11
発明の名称
車内用発光表示装置
出願人
豊田合成株式会社
代理人
弁理士法人平田国際特許事務所
主分類
B60Q
3/62 20170101AFI20251017BHJP(車両一般)
要約
【課題】画像を立体的に表示することができる車内用発光表示装置であって、画像を複数のパターンで表示する構成をとることができる車内用発光表示装置を提供する。
【解決手段】車両の車室内に設置される車内用発光表示装置であって、複数の導光体10と、複数の導光体10の内部に光を供給する複数の光源11と、を備え、複数の導光体10のうちの、前記車室内の乗員空間に最も近い位置にある導光体10の光出射面101と向き合う位置から見たときに、複数の導光体10の位置に重なりがあり、複数の導光体10の各々は、その一部に、光源11からの光の供給を受けて柄103を発光表示する柄表示領域104を有し、複数の導光体10の柄表示領域104によって表示される柄103が、前記乗員空間から見た前後方向にずれた位置に表示される、車内用発光表示装置1を提供する。
【選択図】図4
特許請求の範囲
【請求項1】
車両の車室内に設置される車内用発光表示装置であって、
複数の導光体と、
前記複数の導光体の内部に光を供給する複数の光源と、
を備え、
前記複数の導光体のうちの、前記車室内の乗員空間に最も近い位置にある導光体の光出射面と向き合う位置から見たときに、前記複数の導光体の位置に重なりがあり、
前記複数の導光体の各々は、その一部に、前記光源からの光の供給を受けて柄を発光表示する柄表示領域を有し、
前記複数の導光体の前記柄表示領域によって表示される前記柄が、前記乗員空間から見た前後方向にずれた位置に表示される、
車内用発光表示装置。
続きを表示(約 460 文字)
【請求項2】
前記複数の導光体の前記柄が、時間差で発光表示される、
請求項1に記載の車内用発光表示装置。
【請求項3】
前記複数の導光体の前記柄の各々の少なくとも一部分が、相似の関係にある、
請求項1又は2に記載の車内用発光表示装置。
【請求項4】
前記複数の導光体の少なくとも一部が、前記複数の光源のうちの異なる光源からの光の供給により前記柄を発光表示する複数の前記柄表示領域を有する、
請求項1又は2に記載の車内用発光表示装置。
【請求項5】
前記複数の導光体のうちの、前記車室内の乗員空間に最も近い位置にある前記導光体の前記光出射面と向き合う位置から見たときに、前記複数の導光体の前記柄表示領域が重ならない、
請求項1又は2に記載の車内用発光表示装置。
【請求項6】
前記複数の導光体の前記柄により、レジスタから吹き出される空気の吹き出し方向の表示を行う、
請求項1又は2に記載の車内用発光表示装置。
発明の詳細な説明
【技術分野】
【0001】
本発明は、車内用発光表示装置に関する。
続きを表示(約 1,600 文字)
【背景技術】
【0002】
従来、車両のテールランプなどに好適に適用することができる、導光体を用いて立体画像を表示する立体画像表示装置が知られている(特許文献1を参照)。
【0003】
特許文献1に記載の立体画像表示装置によれば、導光体内に導光された光を光路変更部により光路変更させて出射し、空間に立体画像を結像させる。
【先行技術文献】
【特許文献】
【0004】
特開2020-144284号公報
【発明の概要】
【発明が解決しようとする課題】
【0005】
特許文献1に記載の立体画像表示装置によれば、その構成上、立体画像を1つのパターンで表示するに留まる。
【0006】
本発明の目的は、画像を立体的に表示することができる車内用発光表示装置であって、画像を複数のパターンで表示する構成をとることができる車内用発光表示装置を提供することにある。
【課題を解決するための手段】
【0007】
本発明の一態様は、上記目的を達成するために、下記の車内用発光表示装置を提供する。
【0008】
[1]車両の車室内に設置される車内用発光表示装置であって、複数の導光体と、前記複数の導光体の内部に光を供給する複数の光源と、を備え、前記複数の導光体のうちの、前記車室内の乗員空間に最も近い位置にある導光体の光出射面と向き合う位置から見たときに、前記複数の導光体の位置に重なりがあり、前記複数の導光体の各々は、その一部に、前記光源からの光の供給を受けて柄を発光表示する柄表示領域を有し、前記複数の導光体の前記柄表示領域によって表示される前記柄が、前記乗員空間から見た前後方向にずれた位置に表示される、車内用発光表示装置。
[2]前記複数の導光体の前記柄が、時間差で発光表示される、上記[1]に記載の車内用発光表示装置。
[3]前記複数の導光体の前記柄の各々の少なくとも一部分が、相似の関係にある、上記[1]又は[2]に記載の車内用発光表示装置。
[4]前記複数の導光体の少なくとも一部が、前記複数の光源のうちの異なる光源からの光の供給により前記柄を発光表示する複数の前記柄表示領域を有する、上記[1]又は[2]に記載の車内用発光表示装置。
[5]前記複数の導光体のうちの、前記車室内の乗員空間に最も近い位置にある前記導光体の前記光出射面と向き合う位置から見たときに、前記複数の導光体の前記柄表示領域が重ならない、上記[1]又は[2]に記載の車内用発光表示装置。
[6]前記複数の導光体の前記柄により、レジスタから吹き出される空気の吹き出し方向の表示を行う、上記[1]又は[2]に記載の車内用発光表示装置。
【発明の効果】
【0009】
本発明によれば、画像を立体的に表示することができる車内用発光表示装置であって、画像を複数のパターンで表示する構成をとることができる車内用発光表示装置を提供することができる。
【図面の簡単な説明】
【0010】
図1は、本発明の実施の形態に係る車内用発光表示装置が取り付けられた車両の内装の一例を示す図である。
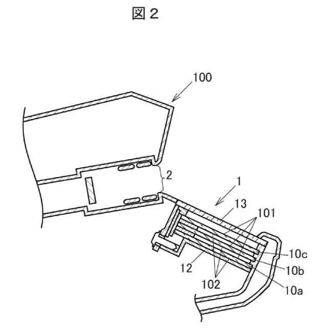
図2は、車内用発光表示装置がレジスタの下側に組み込まれたインストルメントパネルの垂直断面図である。
図3は、乗員空間から視認される、車内用発光表示装置によって形成される画像の一例を示す模式図である。
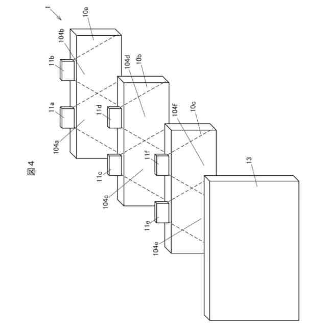
図4は、本願の実施の形態に係る車内用発光表示装置の内部の部品の分解斜視図である。
図5は、柄表示領域により柄が立体的に発光表示される仕組みを説明するための模式図である。
図6は、1枚の導光体に3つの柄表示領域が含まれる場合の、乗員空間から視認される画像の一例を示す模式図である。
【発明を実施するための形態】
(【0011】以降は省略されています)
この特許をJ-PlatPat(特許庁公式サイト)で参照する
関連特許
豊田合成株式会社
積層体
10日前
豊田合成株式会社
調光装置
19日前
豊田合成株式会社
ガラスラン
1か月前
豊田合成株式会社
ガラスラン
1か月前
豊田合成株式会社
機器制御装置
1か月前
豊田合成株式会社
検知システム
5日前
豊田合成株式会社
車両用外装品
6日前
豊田合成株式会社
乗員保護装置
1か月前
豊田合成株式会社
乗員保護装置
6日前
豊田合成株式会社
車両用ビーム
5日前
豊田合成株式会社
車両用外装品
1か月前
豊田合成株式会社
車両用ビーム
5日前
豊田合成株式会社
車両用外装品
4日前
豊田合成株式会社
乗員保護装置
25日前
豊田合成株式会社
車両用内装品
1か月前
豊田合成株式会社
車両用内装品
1か月前
豊田合成株式会社
立体エアバッグ
1か月前
豊田合成株式会社
車両用投影装置
12日前
豊田合成株式会社
車両用照明装置
12日前
豊田合成株式会社
エアバッグ装置
25日前
豊田合成株式会社
車両用投影装置
6日前
豊田合成株式会社
電動液体ポンプ
1か月前
豊田合成株式会社
電動液体ポンプ
1か月前
豊田合成株式会社
電動液体ポンプ
1か月前
豊田合成株式会社
電動液体ポンプ
1か月前
豊田合成株式会社
電動液体ポンプ
1か月前
豊田合成株式会社
空調用レジスタ
1か月前
豊田合成株式会社
空調用レジスタ
1か月前
豊田合成株式会社
空調用レジスタ
1か月前
豊田合成株式会社
把持検知システム
1か月前
豊田合成株式会社
把持検知システム
27日前
豊田合成株式会社
ステアリング装置
27日前
豊田合成株式会社
ステアリング装置
26日前
豊田合成株式会社
ステアリング装置
25日前
豊田合成株式会社
車両の音出力装置
1か月前
豊田合成株式会社
ステアリング装置
26日前
続きを見る
他の特許を見る