TOP
|
特許
|
意匠
|
商標
特許ウォッチ
Twitter
他の特許を見る
10個以上の画像は省略されています。
公開番号
2025147495
公報種別
公開特許公報(A)
公開日
2025-10-07
出願番号
2024047761
出願日
2024-03-25
発明の名称
ステアリング装置
出願人
豊田合成株式会社
代理人
弁理士法人明成国際特許事務所
主分類
B62D
1/06 20060101AFI20250930BHJP(鉄道以外の路面車両)
要約
【課題】ステアリングホイールの把持の誤検知を抑制する。
【解決手段】ステアリング装置は、回転軸を中心として回転できる回転部と、回転部に接続されており回転部よりも回転軸から遠い位置に配されている周辺部と、を備える。周辺部は、移動体の進行方向としてステアリング装置が正面前方を指定している状態において、移動体の左右方向と回転軸とで規定される軸平面に対して下側にある第1部位と、軸平面に対して上側にある第2部位と、を有する。周辺部は、外部からの接触を検知できる検知領域を周辺部の表面に有するセンサを備える。検知領域のうち、第1部位に含まれる領域は、周辺部を通り回転軸に垂直な平面である垂直平面に対して、ステアリング装置が移動体において固定される固定部とは逆の側に位置する第1種領域と、垂直平面に対して固定部の側に位置し、かつ、回転軸と向かい合う側に位置する第2種領域と、から構成される。
【選択図】図5
特許請求の範囲
【請求項1】
移動体の進行方向を指示するステアリング装置であって、
回転軸を中心として回転できるように前記移動体に設けられている回転部と、
前記回転部に接続されている周辺部であって、前記回転部よりも前記回転軸から遠い位置に配されている周辺部と、を備え、
前記周辺部は、前記移動体の進行方向として前記ステアリング装置が正面前方を指定している状態において、前記移動体の左右方向と前記回転軸とで規定される軸平面に対して下側にある第1部位と、前記軸平面に対して上側にある第2部位と、を有し、
前記周辺部は、外部からの接触を検知できる検知領域を前記周辺部の表面に有するセンサを備え、
前記検知領域のうち、前記第1部位に含まれる領域は、
前記周辺部を通り前記回転軸に垂直な平面である垂直平面に対して、前記ステアリング装置が前記移動体において固定される固定部とは逆の側に位置する1以上の第1種領域と、
前記垂直平面に対して前記固定部の側に位置し、かつ、前記回転軸と向かい合う側に位置する1以上の第2種領域と、から構成される、ステアリング装置。
続きを表示(約 880 文字)
【請求項2】
請求項1に記載のステアリング装置であって、
前記第1部位は、シートに覆われており、
前記第1部位の表面のうち前記回転軸と向かい合う部位において、前記シートの両端が互いに接合されており、
前記第1種領域と前記第2種領域とは、前記第1部位において、前記シートが接合されている部位を挟んで、互いに離れて配されている、ステアリング装置。
【請求項3】
移動体の進行方向を指示するステアリング装置であって、
回転軸を中心として回転できるように前記移動体に設けられている回転部と、
前記回転部に接続されている周辺部であって、前記回転部よりも前記回転軸から遠い位置に配されている周辺部と、を備え、
前記周辺部は、前記移動体の進行方向として前記ステアリング装置が正面前方を指定している状態において、前記移動体の左右方向と前記回転軸とで規定される軸平面に対して下側にある第1部位と、前記軸平面に対して上側にある第2部位と、を有し、
前記周辺部は、外部からの接触を検知できる検知領域を前記周辺部の表面に有するセンサを備え、
前記検知領域のうち、前記第1部位に含まれる領域は、
前記周辺部を通り前記回転軸に垂直な平面である垂直平面に対して、前記ステアリング装置が前記移動体において固定される固定部の側に位置し、かつ、前記回転軸と向かい合う側とは逆の側に位置する領域には、設けられていない、ステアリング装置。
【請求項4】
請求項1または3に記載のステアリング装置であって、
前記検知領域のうち、前記第2部位に含まれる領域は、
前記垂直平面に対して、前記固定部とは逆の側に位置する第3種領域を含む、ステアリング装置。
【請求項5】
請求項4に記載のステアリング装置であって、
前記検知領域のうち、前記第2部位に含まれる領域は、
前記垂直平面に対して、前記固定部の側に位置する領域には設けられていない、ステアリング装置。
発明の詳細な説明
【技術分野】
【0001】
本開示は、ステアリング装置に関する。
続きを表示(約 3,900 文字)
【背景技術】
【0002】
従来、移動体のステアリング装置を運転者が把持していることを検知する把持センサが存在する。そのような把持センサは、運転者によるステアリング装置の把持によって生じる把持センサの静電容量の変化を検出することにより、運転者がステアリング装置を把持していることを検知する。
【0003】
特許文献1の技術においては、ステアリングホイールのリムのうち、運転者の膝または太股に対向する部位に、リムの正面および背面に配されるセンサ部に比べて配線密度が低いセンサ部が配置される。このため、運転者の膝または太股に対向する部位における把持の検出感度が、リムの正面および背面における把持の検出感度よりも低くなる。その結果、運転者の膝または太股がリムに接近することによって生じる、ステアリングホイールの把持の誤検知が、抑制される。
【先行技術文献】
【特許文献】
【0004】
特開2020-73360号公報
【発明の概要】
【発明が解決しようとする課題】
【0005】
しかし、一般に、手によってステアリングホイールのリムが把持される場合の手とリムの接触面積に比べて、太股がリムに接触する場合の太股とリムの接触面積は、大きい。このため、リムのうち太股が接触しやすい部位に配線密度が低い部分を設けても、結果として生じる静電容量の変化量は、手によってステアリングホイールのリムが把持される場合と、太股がリムに接触する場合とで、大きく異ならない。このため、特許文献1の技術では、運転者の太股がリムの当該部分に接触することによって生じる、ステアリングホイールの把持の誤検知を、十分に抑えることができない。
【課題を解決するための手段】
【0006】
本開示は、以下の形態として実現することが可能である。
【0007】
(1)本開示の一形態によれば、移動体の進行方向を指示するステアリング装置が提供される。このステアリング装置は、回転軸を中心として回転できるように前記移動体に設けられている回転部と、前記回転部に接続されている周辺部であって、前記回転部よりも前記回転軸から遠い位置に配されている周辺部と、を備える。前記周辺部は、前記移動体の進行方向として前記ステアリング装置が正面前方を指定している状態において、前記移動体の左右方向と前記回転軸とで規定される軸平面に対して下側にある第1部位と、前記軸平面に対して上側にある第2部位と、を有する。前記周辺部は、外部からの接触を検知できる検知領域を前記周辺部の表面に有するセンサを備える。前記検知領域のうち、前記第1部位に含まれる領域は、前記周辺部を通り前記回転軸に垂直な平面である垂直平面に対して、前記ステアリング装置が前記移動体において固定される固定部とは逆の側に位置する1以上の第1種領域と、前記垂直平面に対して前記固定部の側に位置し、かつ、前記回転軸と向かい合う側に位置する1以上の第2種領域と、から構成される。
このような態様においては、センサは、第1部位の表面において、垂直平面に対してステアリング装置が移動体において固定される固定部の側に位置し、かつ、回転軸とは逆の側に位置する領域には、検知領域を有さない。このため、センサがその領域に検知領域を有する態様に比べて、運転者の太股が周辺部に接触することによって生じる、ステアリング装置の把持の誤検知を、抑制することができる。
また、第1部位において、垂直平面に対して両側に位置する第1種領域における検知と第2種領域における検知とに基づいて、第1種領域または第2種領域を備えない態様に比べて、より確実なステアリング装置の把持を、検出することができる。
(2)上記形態のステアリング装置において、前記第1部位は、シートに覆われており、前記第1部位の表面のうち前記回転軸と向かい合う部位において、前記シートの両端が互いに接合されており、前記第1種領域と前記第2種領域とは、前記第1部位において、前記シートが接合されている部位を挟んで、互いに離れて配されている、態様とすることができる。
このような態様とすることにより、センサにおいて、シートが接合されている部位を含めて連続的に第1種領域と前記第2種領域が配されている態様に比べて、シートが接合されている部位の盛り上がりの量を低減することができる。その結果、第1部位を把持する運転者に違和感を与えにくい。
(3)本開示の他の形態によれば、移動体の進行方向を指示するステアリング装置が提供される。このステアリング装置は、回転軸を中心として回転できるように前記移動体に設けられている回転部と、前記回転部に接続されている周辺部であって、前記回転部よりも前記回転軸から遠い位置に配されている周辺部と、を備える。前記周辺部は、前記移動体の進行方向として前記ステアリング装置が正面前方を指定している状態において、前記移動体の左右方向と前記回転軸とで規定される軸平面に対して下側にある第1部位と、前記軸平面に対して上側にある第2部位と、を有する。前記周辺部は、外部からの接触を検知できる検知領域を前記周辺部の表面に有するセンサを備える。前記検知領域のうち、前記第1部位に含まれる領域は、前記周辺部を通り前記回転軸に垂直な平面である垂直平面に対して、前記ステアリング装置が前記移動体において固定される固定部の側に位置し、かつ、前記回転軸と向かい合う側とは逆の側に位置する領域には、設けられていない。
このような態様においては、周辺部を通り回転軸に垂直な平面である垂直平面に対して、ステアリング装置が移動体において固定される固定部の側に位置し、かつ、回転軸とは逆の側に位置する領域に検知領域が設けられている態様に比べて、運転者の太股が周辺部に接触することによって生じる、ステアリング装置の把持の誤検知を、抑制することができる。
(4)上記形態のステアリング装置において、前記検知領域のうち、前記第2部位に含まれる領域は、前記垂直平面に対して、前記固定部とは逆の側に位置する第3種領域を含む、態様とすることができる。
このような態様とすることにより、第2部位において、垂直平面に対して運転者の側に位置する第3種領域における検知に基づいて、運転者によるステアリング装置への接触を、検出することができる。
(5)上記形態のステアリング装置において、前記検知領域のうち、前記第2部位に含まれる領域は、前記垂直平面に対して、前記固定部の側に位置する領域には設けられていない、態様とすることができる。
このような態様とすることにより、第2部位の表面のうち、垂直平面に対して、ステアリング装置が移動体において固定される固定部の側に位置する領域にも検知領域を備える態様に比べて、ステアリング装置の製造コストを低減することができる。
本開示は、ステアリング装置以外の種々の形態で実現することも可能である。例えば、ステアリング装置の製造方法やステアリング装置の設計方法、その制御方法を実現するコンピュータプログラム、そのコンピュータプログラムを記録した一時的でない記録媒体等の形態で実現することができる。
【図面の簡単な説明】
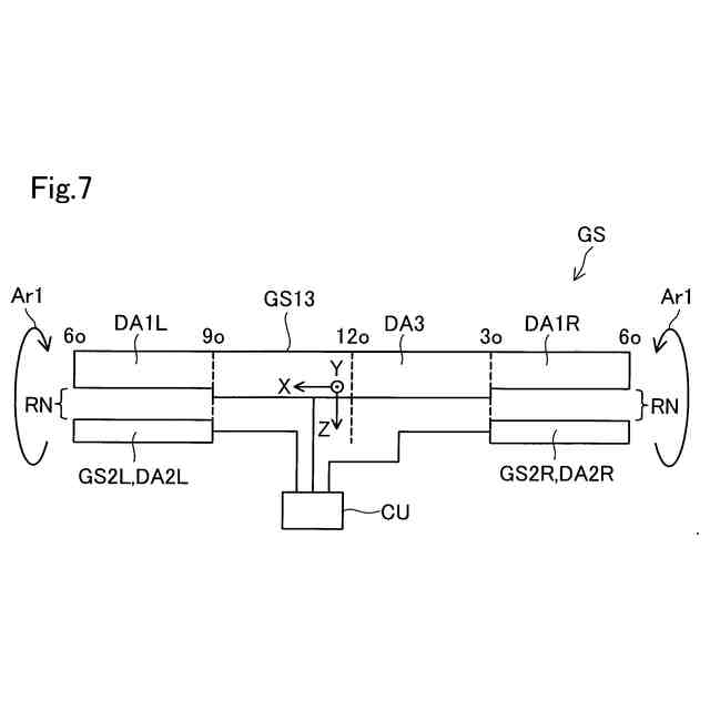
【0008】
第1実施形態としてのステアリング装置10を示す説明である。
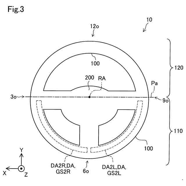
ステアリング装置10の構成を示す説明図である。
ステアリング装置10の構成を示す説明図である。
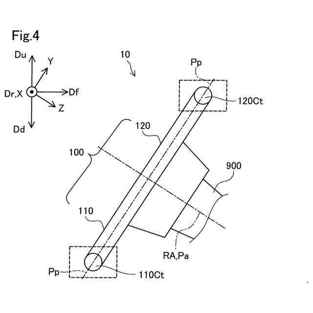
回転軸RAを通るYZ平面に平行な平面を断面とする、ステアリング装置10の断面の構成を示す説明図である。
図4に示された第1部位110の断面110Ctにおける構成を拡大して示す説明図である。
図4に示された第2部位120の断面120Ctにおける構成を拡大して示す説明図である。
検知領域を構成する検知部GS13,GS2L,GS2Rの位置関係を示す模式的な展開図である。
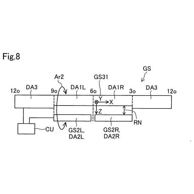
検知領域を構成する検知部GS31,GS2L,GS2Rの位置関係を示す模式的な展開図である。
第2実施形態としてのステアリング装置10Bを示す説明である。
【発明を実施するための形態】
【0009】
A.第1実施形態:
図1は、第1実施形態としてのステアリング装置10を示す説明である。ステアリング装置10は、車両MVに搭載される。ステアリング装置10は、車両MVの進行方向を指示する装置である。より具体的には、ステアリング装置10は、車両MVの運転席STに座っている車両MVの運転者DRによって、車両MVの進行方向を指示するために、操作される。図1において、鉛直上方Duおよび鉛直下方Ddを示す。図1において、車両MVの正面前方Dfおよび車両MVの右方向Drを示す。図1において示されないが、左方向Dlは、右方向Drとは逆の方向である。左方向Dlと右方向Drとを、まとめて左右方向と呼ぶ。
【0010】
図2は、ステアリング装置10の構成を示す説明図である。図2は、Z軸正方向にステアリング装置10を見たときの状態を示す。図2は、車両MVの進行方向としてステアリング装置10が正面前方Dfを指定している状態を示している。ステアリング装置10は、周辺部100と、回転部200と、固定部900と、を備える。
(【0011】以降は省略されています)
この特許をJ-PlatPat(特許庁公式サイト)で参照する
関連特許
豊田合成株式会社
積層体
8日前
豊田合成株式会社
殺菌装置
1か月前
豊田合成株式会社
調光装置
17日前
豊田合成株式会社
着座装置
1か月前
豊田合成株式会社
ガラスラン
29日前
豊田合成株式会社
ガラスラン
29日前
豊田合成株式会社
半導体素子
1か月前
豊田合成株式会社
ガラスラン
1か月前
豊田合成株式会社
車両用外装品
2日前
豊田合成株式会社
車両用内装品
1か月前
豊田合成株式会社
機器制御装置
29日前
豊田合成株式会社
流体殺菌装置
1か月前
豊田合成株式会社
車両用外装品
1か月前
豊田合成株式会社
流体殺菌装置
1か月前
豊田合成株式会社
乗員保護装置
29日前
豊田合成株式会社
車両用外装品
1か月前
豊田合成株式会社
樹脂成形装置
1か月前
豊田合成株式会社
車両用ビーム
3日前
豊田合成株式会社
車両用内装品
1か月前
豊田合成株式会社
車両用外装品
4日前
豊田合成株式会社
車両用外装品
29日前
豊田合成株式会社
乗員保護装置
4日前
豊田合成株式会社
検知システム
3日前
豊田合成株式会社
車両用ビーム
3日前
豊田合成株式会社
乗員保護装置
23日前
豊田合成株式会社
流体殺菌装置
1か月前
豊田合成株式会社
立体エアバッグ
1か月前
豊田合成株式会社
エアバッグ装置
23日前
豊田合成株式会社
車両用照明装置
10日前
豊田合成株式会社
立体エアバッグ
29日前
豊田合成株式会社
電動液体ポンプ
29日前
豊田合成株式会社
車両用投影装置
10日前
豊田合成株式会社
電動液体ポンプ
29日前
豊田合成株式会社
電動液体ポンプ
29日前
豊田合成株式会社
車両用投影装置
4日前
豊田合成株式会社
電動液体ポンプ
29日前
続きを見る
他の特許を見る