TOP
|
特許
|
意匠
|
商標
特許ウォッチ
Twitter
他の特許を見る
公開番号
2025030941
公報種別
公開特許公報(A)
公開日
2025-03-07
出願番号
2023136673
出願日
2023-08-24
発明の名称
発音装置
出願人
個人
代理人
個人
主分類
B62J
3/06 20200101AFI20250228BHJP(鉄道以外の路面車両)
要約
【課題】必要に応じて歩行者に自車の接近を知らせる発音装置を提供する。
【解決手段】回転する車輪のスポークに接触して弾かれることで発音する発音装置であって、先端部がスポークに接触して発音する発音位置と、先端部がスポークから離間して発音しない消音位置との間を移動可能に設けられた発音体と、車輪を回転可能に支持するフレームに、発音体をフレームの廻りに回転可能に保持する保持体と、を備え、発音体が発音位置でスポークの回転方向に対して鋭角で当接して回転するスポークに順次弾かれることで連続して発音する。
【選択図】図2
特許請求の範囲
【請求項1】
回転する車輪のスポークに接触して弾かれることで発音する発音装置であって、
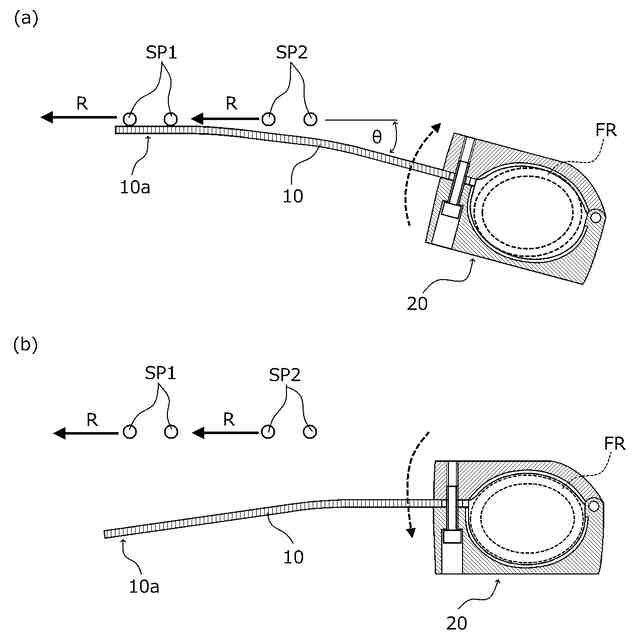
先端部が前記スポークに接触して発音する発音位置と、先端部が前記スポークから離間して発音しない消音位置との間を移動可能に設けられた発音体と、
前記車輪を回転可能に支持するフレームに、前記発音体を前記フレームの廻りに回転可能に保持する保持体と、を備えた、
ことを特徴とする発音装置。
続きを表示(約 350 文字)
【請求項2】
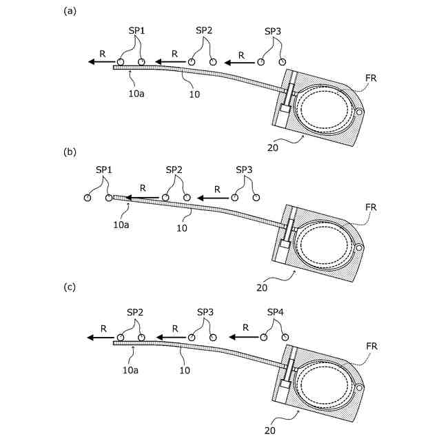
前記発音体は、前記発音位置で前記スポークの回転方向に対して鋭角で当接して回転する前記スポークに順次弾かれることで連続して発音する、
ことを特徴とする請求項1に記載の発音装置。
【請求項3】
前記発音体は、前記スポークと当接する角度を変更することで発音の大きさが変化する、
ことを特徴とする請求項2に記載の発音装置。
【請求項4】
前記発音体は、前記保持体に交換可能に保持されている、
ことを特徴とする請求項1ないし3のいずれか1項に記載の発音装置。
【請求項5】
前記発音体と前記保持体は、合成樹脂材料を用いて一体に形成されている、
ことを特徴とする請求項1ないし3のいずれか1項に記載の発音装置。
発明の詳細な説明
【技術分野】
【0001】
本発明は、発音装置に関する。
続きを表示(約 1,200 文字)
【背景技術】
【0002】
車両構成部材から、車両の走る路面に向かって伸びる発音体を路面に対して、接地、離反、可能に、車両構成部材に設けた、車両接近報知装置並びに該車両接近報知装置を備えた車両が知られている(特許文献1)。
【0003】
はじかれて音を発する複数の振動板をもつ発音部材と該各振動板をはじくための複数の突起をもつ操作部材とからなるオルゴールの発音部材を自転車の車輪支持用のフレームに取り付ける一方、オルゴールの操作部材を自転車の車輪の側面における振動板をはじき得る位置に取り付け、車輪を回転せしめることによりオルゴールが奏鳴されるようにしたオルゴールつき自転車も知られている(特許文献2)。
【先行技術文献】
【特許文献】
【0004】
特開2018-20736号公報
特開平4-293691号公報
【発明の概要】
【発明が解決しようとする課題】
【0005】
本発明は、必要に応じて歩行者に自車の接近を知らせる発音装置を提供する。
【課題を解決するための手段】
【0006】
前記課題を解決するために、請求項1に記載の発音装置は、
回転する車輪のスポークに接触して弾かれることで発音する発音装置であって、
先端部が前記スポークに接触して発音する発音位置と、先端部が前記スポークから離間して発音しない消音位置との間を移動可能に設けられた発音体と、
前記車輪を回転可能に支持するフレームに、前記発音体を前記フレームの廻りに回転可能に保持する保持体と、を備えた、
ことを特徴とする。
【0007】
請求項2に記載の発明は、請求項1に記載の発音装置において、
前記発音体は、前記発音位置で前記スポークの回転方向に対して鋭角で当接して回転する前記スポークに順次弾かれることで連続して発音する、
ことを特徴とする。
【0008】
請求項3に記載の発明は、請求項2に記載の発音装置において、
前記発音体は、前記スポークと当接する角度を変更することで発音の大きさが変化する、
ことを特徴とする。
【0009】
請求項4に記載の発明は、請求項1ないし3のいずれか1項に記載の発音装置において、
前記発音体は、前記保持体に交換可能に保持されている、
ことを特徴とする。
【0010】
請求項5に記載の発明は、請求項1ないし3のいずれか1項に記載の発音装置において、
前記発音体と前記保持体は、合成樹脂材料を用いて一体に形成されている、
ことを特徴とする。
【発明の効果】
(【0011】以降は省略されています)
この特許をJ-PlatPat(特許庁公式サイト)で参照する
関連特許
個人
カート
3か月前
個人
走行装置
3か月前
個人
電動走行車両
3か月前
個人
乗り物
5か月前
個人
折り畳み自転車
10か月前
個人
閂式ハンドル錠
3か月前
個人
発音装置
7か月前
個人
駐輪設備
1か月前
個人
電動モビリティ
7か月前
個人
自転車用傘捕捉具
11か月前
個人
ボギー・フレーム
1か月前
個人
ルーフ付きトライク
2か月前
個人
“zen-go.”
2か月前
個人
自由方向乗車自転車
7か月前
個人
体重掛けリフト台車
10か月前
個人
ルーフ付きトライク
1か月前
個人
自転車用荷物台
11か月前
個人
キャンピングトライク
8か月前
個人
パワーアシスト自転車
1か月前
個人
アタッチメント
11か月前
個人
ステアリングの操向部材
8か月前
株式会社CPM
駐輪機
11か月前
個人
フロントフットブレーキ。
3か月前
株式会社三五
リアサブフレーム
10か月前
株式会社豊田自動織機
産業車両
4か月前
ヤマハ発動機株式会社
車両
12か月前
ヤマハ発動機株式会社
車両
12か月前
ヤマハ発動機株式会社
車両
12か月前
ヤマハ発動機株式会社
車両
12か月前
豊田合成株式会社
操舵装置
11か月前
個人
乗用自動車のディフューザー
17日前
学校法人千葉工業大学
車両
9か月前
学校法人千葉工業大学
車両
9か月前
個人
ホイールハブ駆動構造
4か月前
豊田鉄工株式会社
小型車両
3か月前
学校法人千葉工業大学
車両
9か月前
続きを見る
他の特許を見る