TOP
|
特許
|
意匠
|
商標
特許ウォッチ
Twitter
他の特許を見る
公開番号
2025052750
公報種別
公開特許公報(A)
公開日
2025-04-07
出願番号
2023161623
出願日
2023-09-25
発明の名称
作業車
出願人
株式会社クボタ
代理人
個人
,
個人
主分類
B62D
25/10 20060101AFI20250328BHJP(鉄道以外の路面車両)
要約
【課題】サイドカバーを支持するための構造を簡素化することができる作業車を提供する。
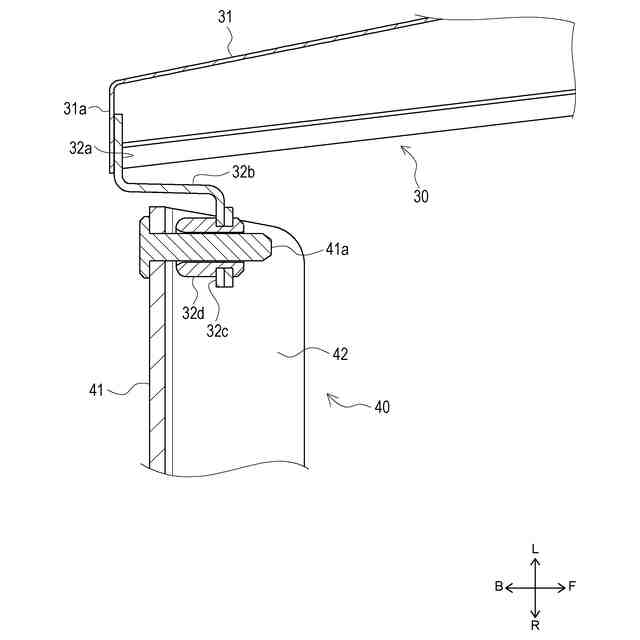
【解決手段】トラクタ1は、エンジン3を覆う開閉式のボンネット4と、ボンネット4の回動軸4bを支持するボンネット支持部20と、ボンネット4の側部に沿って設けられるサイドカバー30と、ボンネット支持部20と別体に形成され、サイドカバー30をボンネット支持部20に取り付ける取付ステー40と、を具備する。また、取付ステー40は、板状に形成され板面を前後方向に向けて設けられる基部41と、基部41の下端から屈曲して前側に延びるとともに、前方に向かうにつれて下方に傾斜するように形成される傾斜部42と、を具備する。
【選択図】図2
特許請求の範囲
【請求項1】
エンジンを覆う開閉式のボンネットと、
前記ボンネットの開閉支点を支持するボンネット支持部と、
前記ボンネットの側部に沿って設けられるサイドカバーと、
前記ボンネット支持部と別体に形成され、前記サイドカバーを前記ボンネット支持部に取り付ける取付部材と、
を具備する作業車両。
続きを表示(約 850 文字)
【請求項2】
前記取付部材は、
板状に形成され板面を前後方向に向けて設けられる基部と、
前記基部の下端から屈曲して前側に延びるとともに、前方に向かうにつれて下方に傾斜するように形成される傾斜部と、
を具備する、
請求項1に記載の作業車両。
【請求項3】
前記傾斜部は、
車幅方向外側に向かうにつれて下方に傾斜するように形成されている、
請求項2に記載の作業車両。
【請求項4】
前記取付部材は、
前記基部の側端から屈曲するように形成され、前記ボンネット支持部と固定される固定部を具備する、
請求項2に記載の作業車両。
【請求項5】
前記取付部材に設けられ、当該取付部材から前方に突出するように設けられた取付ピンと、
前記サイドカバーに設けられ、後方から前記取付ピンが挿通される挿通部と、
を具備する、
請求項1に記載の作業車両。
【請求項6】
前記サイドカバーは、
前記ボンネットの側部に沿って設けられる本体部と、
前記本体部の車幅方向内側に形成され、前記取付部材に取り付けられる取付部を具備し、
前記取付部は、
側面視において前記本体部と重複する位置に設けられている、
請求項1に記載の作業車両。
【請求項7】
前記ボンネット支持部は、
上下に亘って延伸する左右一対の延伸部材を具備し、
前記延伸部材は、
当該延伸部材の下部が当該延伸部材の上部よりも前方又は後方に位置するように屈曲する屈曲部を具備する、
請求項1に記載の作業車両。
【請求項8】
前記ボンネット支持部は、
前記屈曲部を補強する補強部材を具備し、
前記補強部材には、
前記取付部材が固定されている、
請求項7に記載の作業車両。
発明の詳細な説明
【技術分野】
【0001】
本発明は、作業車の技術に関する。
続きを表示(約 1,200 文字)
【背景技術】
【0002】
従来、作業車の技術は公知となっている。例えば、特許文献1に記載の如くである。
【0003】
特許文献1には、エンジンが設けられるエンジンルームを覆うボンネットと、ボンネットの切欠き部に設けられエンジンルームの側面の一部を覆うサイドカバーと、を備えるトラクタが記載されている。前記ボンネットは、逆U字形状のボンネット支持フレームに支持されている。また、サイドカバーはボンネット支持フレームに着脱可能に設けられており、ボンネットが閉じられた状態であっても、サイドカバーを取り外すことによって、エンジンルーム内のメンテナンス作業を行うことができる。
【0004】
しかしながら、特許文献1に記載のトラクタでは、ボンネット支持フレームがボンネットの支持とサイドカバーの取付けの両方の役割を果たすため、サイドカバーを支持するための構造が複雑化するという問題があった。
【先行技術文献】
【特許文献】
【0005】
特開2021-187220号公報
【発明の概要】
【発明が解決しようとする課題】
【0006】
本開示の一態様は、以上の如き状況に鑑みてなされたものであり、その解決しようとする課題は、サイドカバーを支持するための構造を簡素化することができる作業車を提供することである。
【課題を解決するための手段】
【0007】
本開示の一態様の解決しようとする課題は以上の如くであり、次にこの課題を解決するための手段を説明する。
【0008】
本開示の一態様に係る作業車は、エンジンを覆う開閉式のボンネットと、前記ボンネットの開閉支点を支持するボンネット支持部と、前記ボンネットの側部に沿って設けられるサイドカバーと、前記ボンネット支持部と別体に形成され、前記サイドカバーを前記ボンネット支持部に取り付ける取付部材と、を具備するものである。
本開示の一態様によれば、サイドカバーを支持するための構造を簡素化することができる。
【0009】
本開示の一態様に係る前記取付部材は、板状に形成され板面を前後方向に向けて設けられる基部と、前記基部の下端から屈曲して前側に延びるとともに、前方に向かうにつれて下方に傾斜するように形成される傾斜部と、を具備するものである。
本開示の一態様によれば、取付部材に剛性を付与しつつ、メンテナンス性を向上させることができる。
【0010】
本開示の一態様に係る前記傾斜部は、車幅方向外側に向かうにつれて下方に傾斜するように形成されているものである。
本開示の一態様によれば、メンテナンス性をより向上させることができる。
(【0011】以降は省略されています)
この特許をJ-PlatPat(特許庁公式サイト)で参照する
関連特許
株式会社クボタ
作業車
4日前
株式会社クボタ
作業車
4日前
株式会社クボタ
作業車
6日前
株式会社クボタ
作業車両
4日前
株式会社クボタ
作業車両
4日前
株式会社クボタ
車両用シート
11日前
株式会社クボタ
作業車及び座席
11日前
株式会社クボタ
鋳鋼品および鋳鋼品の製造方法
4日前
株式会社クボタ
電動作業車両のバッテリ管理システム
4日前
株式会社クボタ
コンバイン
11日前
株式会社クボタケミックス
脚部継手および排水配管構造
11日前
個人
カート
4か月前
個人
走行装置
4か月前
個人
三輪バイク
26日前
個人
乗り物
6か月前
個人
電動走行車両
4か月前
個人
閂式ハンドル錠
4か月前
個人
電動モビリティ
8か月前
個人
折り畳み自転車
11か月前
個人
発音装置
8か月前
個人
自転車用歩数計
1か月前
個人
駐輪設備
2か月前
個人
ボギー・フレーム
3か月前
個人
ルーフ付きトライク
2か月前
個人
“zen-go.”
3か月前
個人
自由方向乗車自転車
8か月前
個人
三輪電動車両
1か月前
個人
体重掛けリフト台車
12か月前
個人
ルーフ付きトライク
3か月前
個人
車の室内高温防止屋根
12日前
個人
キャンピングトライク
9か月前
個人
パワーアシスト自転車
3か月前
井関農機株式会社
作業車両
19日前
個人
ステアリングの操向部材
10か月前
個人
フロントフットブレーキ。
5か月前
株式会社豊田自動織機
産業車両
5か月前
続きを見る
他の特許を見る