TOP
|
特許
|
意匠
|
商標
特許ウォッチ
Twitter
他の特許を見る
10個以上の画像は省略されています。
公開番号
2025169662
公報種別
公開特許公報(A)
公開日
2025-11-14
出願番号
2024074590
出願日
2024-05-02
発明の名称
電動作業車両のバッテリ管理システム
出願人
株式会社クボタ
代理人
安田岡本弁理士法人
主分類
G06Q
50/06 20240101AFI20251107BHJP(計算;計数)
要約
【課題】本発明は、本発明は、作業の中断時間を最小限に抑えた上で、作業に必要なバッテリの蓄電量を確保できる電動作業車両のバッテリ管理システムを提供する。
【解決手段】本発明は、バッテリからの給電によって作業場内で所定の作業を行う電動作業車両であって、少なくとも前記バッテリの残量に関する情報を含む現況情報を無線送信する送信部を有する電動作業車両と、前記送信部から無線送信された前記現況情報を、通信網を介して受信する受信部を有するサーバーと、を備え、前記サーバーは、前記受信部で受信した前記現況情報に基づき、前記バッテリと交換可能な充電済みの交換バッテリを保有するバッテリ保管所又は前記交換バッテリを運搬する運搬車両に対し、前記交換バッテリの前記作業場への運搬の要求を行う。
【選択図】図11
特許請求の範囲
【請求項1】
バッテリからの給電によって作業場内で所定の作業を行う電動作業車両であって、少なくとも前記バッテリの残量に関する情報を含む現況情報を無線送信する送信部を有する電動作業車両と、
前記送信部から無線送信された前記現況情報を、通信網を介して受信する受信部を有するサーバーと、を備え、
前記サーバーは、前記受信部で受信した前記現況情報に基づき、前記バッテリと交換可能な充電済みの交換バッテリを保有するバッテリ保管所又は前記交換バッテリを運搬する運搬車両に対し、前記交換バッテリの前記作業場への運搬の要求を行う電動作業車両のバッテリ管理システム。
続きを表示(約 1,500 文字)
【請求項2】
前記サーバーは、前記受信部で受信した前記現況情報に基づき、前記交換バッテリが前記作業場に到着すべき時間を算出する到着時間算出部と、到着時間算出部の算出結果に基づき、前記バッテリ保管所又は前記運搬車両に対して前記交換バッテリの前記作業場への運搬の要求を行う運搬要求部と、を含む請求項1に記載の電動作業車両のバッテリ管理システム。
【請求項3】
前記運搬要求部は、有線又は無線の通信網を介して前記バッテリ保管所又は前記運搬車両に対して前記作業場への運搬の要求を行う請求項2に記載の電動作業車両のバッテリ管理システム。
【請求項4】
前記現況情報には、前記電動作業車両が作業を行う前記作業場の位置情報が含まれ、
前記運搬要求部は、前記運搬の要求に併せ、前記作業場の位置情報を前記バッテリ保管所又は前記運搬車両に送信する請求項2に記載の電動作業車両のバッテリ管理システム。
【請求項5】
前記電動作業車両は、前記バッテリとして、着脱不能な第1バッテリと、交換可能な第2バッテリとを有し、
前記運搬要求部は、前記運搬の要求において、前記第2バッテリと交換可能な充電済みの交換バッテリの前記作業場への運搬の要求を行う請求項2に記載の電動作業車両のバッテリ管理システム。
【請求項6】
前記現況情報には、前記バッテリの残容量と該残容量で作業可能な作業面積、又は前記バッテリの残容量で作業可能な作業時間が含まれ、
前記到着時間算出部は、前記バッテリの残容量と該残容量で作業可能な作業面積、又は前記バッテリの残容量で作業可能な作業時間に基づき、前記交換バッテリが前記作業場に到着すべき時間を算出し、
前記運搬要求部は、前記交換バッテリの前記作業場への到着が前記到着時間算出部の算出結果よりも以前になるように、前記バッテリ保管所又は前記運搬車両に対して前記交換バッテリの前記作業場への運搬の要求を行う請求項2に記載の電動作業車両のバッテリ管理システム。
【請求項7】
前記現況情報には、前記作業場から前記バッテリ保管所又は前記運搬車両までの走行距離が含まれ、
前記到着時間算出部は、前記走行距離に基づいて運搬に要する走行時間を算出するとともに、前記交換バッテリの前記作業場への到着が前記到着時間算出部の算出結果よりも前になるように前記走行時間に基づいて前記バッテリ保管所からの出発時間又は前記運搬車両の出発時間を算出し、
前記運搬要求部は、前記バッテリ保管所又は前記運搬車両に対して前記交換バッテリの前記作業場への運搬を要求するのに併せ、前記バッテリ保管所又は前記運搬車両に対して
前記出発時間を通知する請求項6に記載の電動作業車両のバッテリ管理システム。
【請求項8】
前記運搬車両は、地図を表示するモニタを有し、
前記モニタには、前記サーバーからの前記作業場の位置情報に基づき、前記作業場までの移動経路が表示される請求項4に記載の電動作業車両のバッテリ管理システム。
【請求項9】
前記運搬車両は、前記サーバーからの前記作業場の位置情報に基づき、前記作業場までの自動走行する請求項4に記載の電動作業車両のバッテリ管理システム。
【請求項10】
前記運搬車両は、前記電動作業車両の前記バッテリを前記交換バッテリに交換する交換装置を備える請求項1に記載の電動作業車両のバッテリ管理システム。
(【請求項11】以降は省略されています)
発明の詳細な説明
【技術分野】
【0001】
本発明は、電動モータに電力を供給するバッテリを備えた電動作業車両のバッテリ管理システムに関する。
続きを表示(約 2,900 文字)
【背景技術】
【0002】
近年では、作業車両として、走行装置を駆動する駆動源を内燃機関(エンジン)から電動モータに代えた電動作業車両が提供されつつある。かかる作業車両は、電動モータに給電を行うバッテリを備える。(例えば、特許文献1参照)
【先行技術文献】
【特許文献】
【0003】
特開2024-2265号公報
【発明の概要】
【発明が解決しようとする課題】
【0004】
ところで、バッテリの蓄電量が無くなった場合や蓄電量が少なくなった場合、バッテリを充電する必要があるが、充電には時間を要するため、バッテリを直ちに満充電することができない。そのため、作業場内で作業を行っているときに、バッテリの蓄電量が無くなると、作業の長時間の中断が余儀なくされる。また、バッテリの充電は、長時間かかるだけでなく、充電装置等の機器を必要とするため、バッテリの蓄電容量がなくなると、その場での充電を行うことができないといった問題がある。
【0005】
そこで、本発明は、作業の中断時間を最小限に抑えた上で、作業に必要なバッテリの蓄電量を確保できる電動作業車両のバッテリ管理システムを提供する。
【課題を解決するための手段】
【0006】
本発明は、バッテリからの給電によって作業場内で所定の作業を行う電動作業車両であって、少なくとも前記バッテリの残量に関する情報を含む現況情報を無線送信する送信部を有する電動作業車両と、前記送信部から無線送信された前記現況情報を、通信網を介して受信する受信部を有するサーバーと、を備え、前記サーバーは、前記受信部で受信した前記現況情報に基づき、前記バッテリと交換可能な充電済みの交換バッテリを保有するバッテリ保管所又は前記交換バッテリを運搬する運搬車両に対し、前記交換バッテリの前記作業場への運搬の要求を行う。
【発明の効果】
【0007】
本発明によれば、作業の中断時間を最小限に抑えた上で、作業に必要なバッテリの蓄電量を確保できる。
【図面の簡単な説明】
【0008】
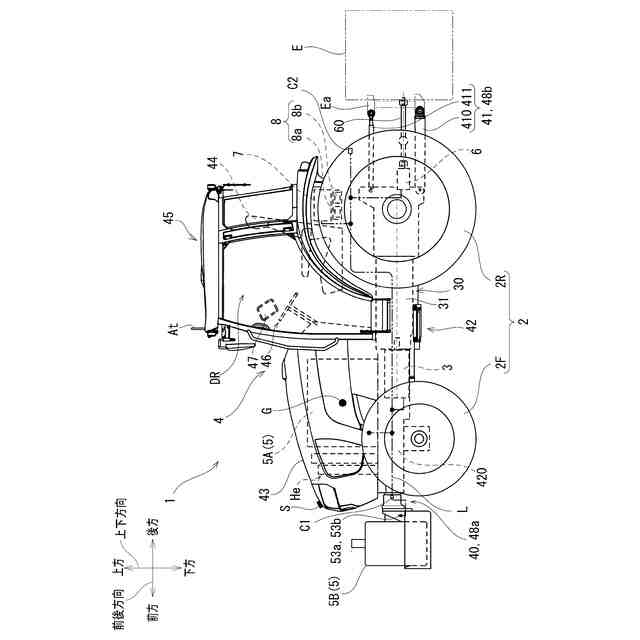
図1は、本発明の一実施形態に係る作業車両の左側面図であって、連結した作業装置を仮想線で図示した作業車両の左側面図である。
図2は、同実施形態に係る作業車両の平面図であって、連結した作業装置を仮想線で図示した作業車両の平面図である。
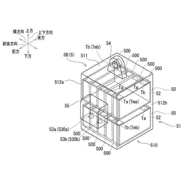
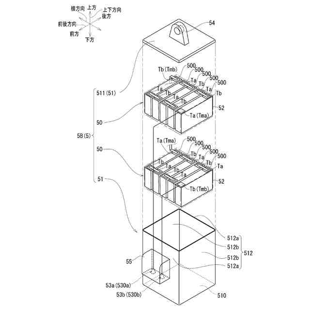
図3は、同実施形態に係る作業車両の第2バッテリの斜視図である。
図4は、同実施形態に係る作業車両の第2バッテリの分解斜視図である。
図5は、同実施形態に係る作業車両の第2バッテリの外部端子及び該外部端子周辺の要部拡大断面図であって、第2バッテリの外部端子をバッテリ支持部の接続端子に電気的に接続した状態の要部拡大断面図である。
図6は、同実施形態に係る作業車両の第2バッテリの外部端子及び該外部端子周辺の要部拡大断面図であって、第2バッテリの外部端子をバッテリ支持部の接続端子に対する電気的な接続を解除した状態の要部拡大断面図である。
図7は、同実施形態に係る作業車両の連結装置(第1連結装置)の概略斜視図である。
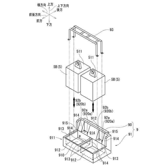
図8は、同実施形態に係る作業車両のバッテリ支持部及び第2バッテリの斜視図であって、第2バッテリをバッテリ支持部に搭載した状態の斜視図である。
図9は、同実施形態に係る作業車両のバッテリ支持部及び第2バッテリの斜視図であって、第2バッテリをバッテリ支持部に搭載する前(分解状態)の斜視図である。
図10は、同実施形態に係る作業車両のバッテリ支持部の概略斜視図である。
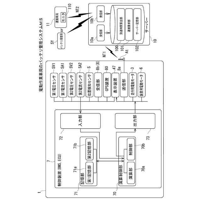
図11は、同実施形態に係る作業車両(電動作業車両)のバッテリ管理システムのブロック図であって、作業車両の電気系統のブロック図を含むシステムブロック図である。
図12は、同実施形態に係る作業車両の情報送信処理のフロー図である。
図13は、同実施形態に係る作業車両(電動作業車両)のバッテリ監視システムのサーバーによる要求処理のフロー図である。
図14は、同実施形態に係る作業車両の第2バッテリをクレーン装置付きの運搬車両を用いて交換する際の説明図である。
図15は、同実施形態に係る作業車両の第2バッテリを専用の交換装置付きの運搬車両を用いて交換する際の説明図である。
図16は、同実施形態に係る作業車両の第2バッテリを別の作業車両に連結した専用の作業装置(インプルメント)を用いて交換する際の説明図である。
図17は、同実施形態に係る作業車両の第2バッテリを定置式の充電装置を用いて交換する際の説明図である。
図18は、同実施形態に係る作業車両の第2バッテリをPTO駆動式の充電装置を用いて交換する際の説明図である。
図19は、本発明の他実施形態に係る作業車両の左側面図であって、連結した作業装置を仮想線で図示した作業車両の左側面図である。
図20は、本発明の別の実施形態に係る作業車両の第2バッテリ及びバッテリ支持部の斜視図である。
【発明を実施するための形態】
【0009】
以下、本発明の一実施形態に係る作業車両、及び電動作業車両のバッテリ管理システムについて、図面を参酌しつつ説明する。なお、以下の作業車両の説明にあたり、作業車両の直進方向(真っ直ぐ前進又は後退する方向)を前後方向といい、前後方向における前進側を前方といい、前後方向における後退側を後方ということとする。これに伴い、前後方向及び上下方向と直交する方向であって、作業車両の車幅に対応する方向を横方向ということとする。
【0010】
図1及び図2に示すように、作業車両1には、作業場で所定の作業を行う作業装置Eが連結される。作業装置Eは、作業車両1の前方又は後方(図1及び図2においては、後方)に配置された状態で作業車両1に連結される。本実施形態において、作業車両1は、作業場である圃場で使用される農業用の作業車両(トラクタ)である。図1及び図2において、作業装置Eが仮想線で簡略化して図示に示されているが、作業車両1に連結される作業装置Eには、例えば、圃場の土を耕すロータリ(耕耘装置)や、圃場の土壌の天地返しを行うプラウ、圃場の土の塊を破砕するソイラー、ハロー、畔塗を行う畔塗機、圃場に種
を撒く播種機、畝を作る畝立て機、肥料や土壌改良剤を散布するブロードキャスタ、畝に対してマルチ張りを行うマルチャー(マルチ)、畝と畝との間の除草等を行うカルチ(カルチベータ-)、草刈りを行うフレールモア、圃場の土壌内の作物を掘り起こす収穫機(掘取機)等がある。作業車両1に連結される作業装置Eは、作業内容(目的)に応じて別の作業装置Eに交換(変更)される。
(【0011】以降は省略されています)
この特許をJ-PlatPat(特許庁公式サイト)で参照する
関連特許
株式会社クボタ
作業車
3日前
株式会社クボタ
作業車
1日前
株式会社クボタ
作業車
17日前
株式会社クボタ
作業車
16日前
株式会社クボタ
作業車
1日前
株式会社クボタ
作業機
9日前
株式会社クボタ
作業車両
10日前
株式会社クボタ
作業車両
1日前
株式会社クボタ
作業車両
1日前
株式会社クボタ
多目的車両
8日前
株式会社クボタ
電動作業車
17日前
株式会社クボタ
車両用シート
8日前
株式会社クボタ
作業車及び座席
8日前
株式会社クボタ
農作物測定装置
16日前
株式会社クボタ
鋳鋼品および鋳鋼品の製造方法
1日前
株式会社クボタ
電動作業車両のバッテリ管理システム
1日前
株式会社クボタケミックス
揚水装置、揚水装置を用いた施工方法
16日前
株式会社クボタ
作業車
16日前
株式会社クボタ
コンバイン
8日前
株式会社クボタ
農作業機、農作業機の制御方法、及びコンピュータプログラム
17日前
株式会社クボタ
アンテナ取付構造、データ通信システム、及びアンテナ取付方法
10日前
株式会社クボタケミックス
脚部継手および排水配管構造
8日前
株式会社クボタケミックス
排水配管部材の施工方法および排水配管部材
10日前
個人
詐欺保険
1か月前
個人
縁伊達ポイン
1か月前
個人
職業自動販売機
1日前
個人
RFタグシート
19日前
個人
5掛けポイント
8日前
個人
QRコードの彩色
1か月前
個人
地球保全システム
1か月前
個人
ペルソナ認証方式
16日前
個人
情報処理装置
11日前
個人
自動調理装置
18日前
個人
冷凍食品輸出支援構造
2か月前
個人
為替ポイント伊達夢貯
2か月前
個人
残土処理システム
1か月前
続きを見る
他の特許を見る