TOP
|
特許
|
意匠
|
商標
特許ウォッチ
Twitter
他の特許を見る
10個以上の画像は省略されています。
公開番号
2025149399
公報種別
公開特許公報(A)
公開日
2025-10-08
出願番号
2024050019
出願日
2024-03-26
発明の名称
多目的車両
出願人
株式会社クボタ
代理人
弁理士法人R&C
主分類
B62D
33/027 20060101AFI20251001BHJP(鉄道以外の路面車両)
要約
【課題】テイルゲートとサイドカバーとの間で発生するラトルノイズを抑制する。
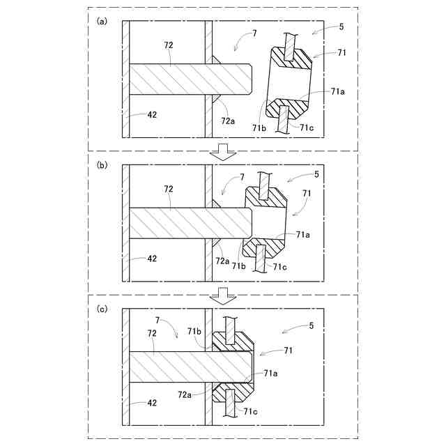
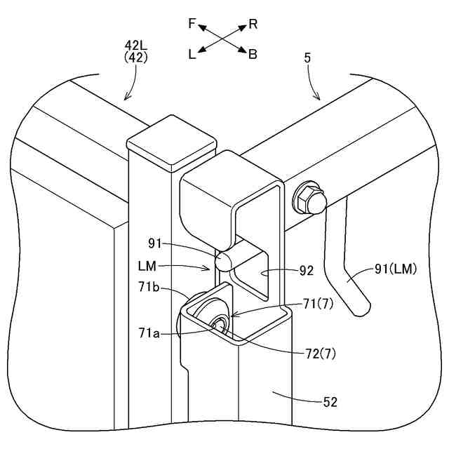
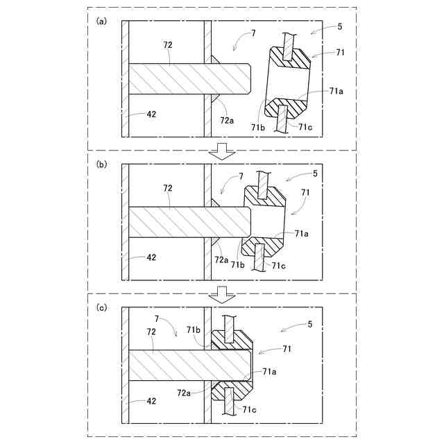
【解決手段】多目的車両は、前輪及び後輪によって対地支持された車体フレームと、床板と左右のサイドカバー42とテイルゲート5とを含むとともに、ダンプ揺動可能に車体フレームに支持された荷台と、テイルゲート5の下端領域に位置する横揺動軸心周りでテイルゲート5をゲート閉位置とゲート開位置との間で揺動させる揺動機構と、ゲート閉位置のテイルゲート5とサイドカバー42とを弾性体71を介して連結する弾性連結ユニット7とを備える。
【選択図】図9
特許請求の範囲
【請求項1】
前輪及び後輪によって対地支持された車体フレームと、
床板と左右のサイドカバーとテイルゲートとを含むとともに、ダンプ揺動可能に前記車体フレームに支持された荷台と、
前記テイルゲートの下端領域に位置する横揺動軸心周りで前記テイルゲートをゲート閉位置とゲート開位置との間で揺動させる揺動機構と、
前記ゲート閉位置の前記テイルゲートと前記サイドカバーとを弾性体を介して連結する弾性連結ユニットと、
を備える多目的車両。
続きを表示(約 590 文字)
【請求項2】
前記弾性連結ユニットは、挿入孔を有する前記弾性体である弾性プラグと、前記テイルゲートの前記ゲート閉位置への揺動に伴って前記挿入孔に挿入される挿入ロッドとから構成される請求項1に記載の多目的車両。
【請求項3】
前記挿入孔は前記挿入ロッドのロッド径に対応する孔径を有するとともに、前記挿入孔の挿入側開口領域は、前記孔径まで縮小する円錐案内面が形成されている請求項2に記載の多目的車両。
【請求項4】
前記挿入ロッドは左側の前記サイドカバーの後端部と右側の前記サイドカバーの後端部とに固定され、前記弾性プラグは前記テイルゲートの左側端部と右側端部とに固定されている請求項2に記載の多目的車両。
【請求項5】
前記挿入ロッドは、前記床板への荷物の積み下ろし動線から外れた位置に固定されている請求項4に記載の多目的車両。
【請求項6】
前記ゲート閉位置の前記テイルゲートと前記サイドカバーとをロックするロック機構が備えられており、前記ロック機構は、ロック部材と前記ロック部材を受け入れる被ロック部材とからなり、前記弾性連結ユニットの連結状態において、前記ロック部材と前記被ロック部材との間に、前記弾性連結ユニットの最大弾性歪より小さな隙間が形成されている請求項1から5のいずれか一項に記載の多目的車両。
発明の詳細な説明
【技術分野】
【0001】
本発明は、床板と左右のサイドカバーとテイルゲートとを含む荷台を車体フレームに支持している多目的車両に関する。
続きを表示(約 1,800 文字)
【背景技術】
【0002】
特許文献1に、床板と前板と左右のサイドカバーとテイルゲートとを含む荷台を備えた多目的車両が開示されている。テイルゲートは、荷台の後端側の下部に形成されたゲート支持部に支軸を介して支持され、支軸周りに上昇閉じ姿勢(直立姿勢)と下降開き姿勢(水平姿勢)とにわたって揺動可能である。直立姿勢のテイルゲートは、テイルゲートとサイドカバーとを連結する連結具により、サイドカバーにロック可能である。ロック機構が解除されると、テイルゲートは下方に揺動可能となり、テイルゲートとサイドカバーとにわたって連結されているワイヤにより、下降開き姿勢でテイルゲートが水平に保持される。
【先行技術文献】
【特許文献】
【0003】
米国特許第10,618,572号明細書(図15、図17)
【発明の概要】
【発明が解決しようとする課題】
【0004】
特許文献1に開示されたような多目的車両では、直立姿勢のテイルゲートは、サイドカバーに連結されるが、テイルゲートとサイドカバーとの間で、互いに接触すると、ラトルノイズが発生するという問題点がある。特に、走行中において、サイドカバーが車体の振動によって横揺れが生じ、ラトルノイズの発生が避けられない。このことから、本発明の目的は、ラトルノイズの発生が抑制される多目的車両を提供することである。
【課題を解決するための手段】
【0005】
本発明による多目的車両は、前輪及び後輪によって対地支持された車体フレームと、床板と左右のサイドカバーとテイルゲートとを含むとともに、ダンプ揺動可能に前記車体フレームに支持された荷台と、前記テイルゲートの下端領域に位置する横揺動軸心周りで前記テイルゲートをゲート閉位置とゲート開位置との間で揺動させる揺動機構と、前記ゲート閉位置の前記テイルゲートと前記サイドカバーとを弾性体を介して連結する弾性連結ユニットとを備える。
【0006】
この構成によれば、テイルゲートとサイドカバーとが弾性体を介して連結されることで、テイルゲートとサイドカバーとの間での直接接触がなくなり、テイルゲート及びサイドカバーの振動は弾性連結ユニットによって吸収されるので、テイルゲートとサイドカバーとの接触によるラトルノイズが抑制される。
【0007】
本発明では、前記弾性連結ユニットは、挿入孔を有する前記弾性体である弾性プラグと、前記テイルゲートの前記ゲート閉位置への揺動に伴って前記挿入孔に挿入される挿入ロッドとから構成されることが、提案される。この構成では、挿入ロッドの外周面と挿入孔の内周面とを密着させることができるので、コンパクトな弾性連結ユニットであっても、強固な連結が保証され、ラトルノイズなどのノイズを抑制する効果が向上する。
【0008】
さらに本発明では、前記挿入孔は前記挿入ロッドのロッド径に対応する孔径を有するとともに、前記挿入孔の挿入側開口領域は、前記孔径まで縮小する円錐案内面が形成されることが提案される。この構成では、テイルゲートの下方揺動姿勢から直立姿勢への閉鎖動作に伴って挿入ロッドが挿入孔に進入する際に、円錐案内面が挿入ロッドを案内するので、挿入ロッドの挿入動作がスムーズとなる。さらには、挿入ロッドの基端部分が周溶接で何らかの支持部材に固定されている場合、円錐案内面がその周溶接部受け入れることができ、挿入ロッドと弾性プラグとの連結が安定したものとなる。
【0009】
本発明では、前記挿入ロッドは左側の前記サイドカバーの後端部と右側の前記サイドカバーの後端部とに固定され、前記弾性プラグは前記テイルゲートの左側端部と右側端部とに固定されることが提案される。荷台のコーナ部を形成している、サイドカバーの後端部及びテイルゲートの左右端部は、荷台の強度を高めるため、強固な構造を有する。このため、上記の構成は、弾性プラグ及び挿入ロッドの強固な固定を保証するものとなる。
【0010】
本発明では、前記挿入ロッドは、前記床板への荷物の積み下ろし動線から外れた位置に固定されることが提案される。この構成により、弾性連結ユニット、特に挿入ロッドが、開放されたテイルゲートを通じての床板への荷物の積み下ろしの障害とならないという利点が得られる。
(【0011】以降は省略されています)
この特許をJ-PlatPat(特許庁公式サイト)で参照する
関連特許
個人
カート
5か月前
個人
走行装置
5か月前
個人
三輪バイク
1か月前
個人
台車
18日前
個人
乗り物
7か月前
個人
電動走行車両
5か月前
個人
自転車用歩数計
1か月前
個人
閂式ハンドル錠
5か月前
個人
駐輪設備
3か月前
個人
発音装置
9か月前
個人
電動モビリティ
9か月前
個人
ボギー・フレーム
3か月前
個人
自由方向乗車自転車
9か月前
個人
三輪電動車両
1か月前
個人
ルーフ付きトライク
3か月前
個人
ルーフ付きトライク
4か月前
個人
“zen-go.”
4か月前
井関農機株式会社
作業車両
1か月前
個人
パワーアシスト自転車
3か月前
個人
キャンピングトライク
10か月前
個人
車の室内高温防止屋根
1か月前
個人
ステアリングの操向部材
10か月前
個人
電動式ルーフ付きトライク
10日前
個人
電動式ルーフ付きトライク
10日前
個人
電動式ルーフ付きトライク
10日前
個人
フロントフットブレーキ。
5か月前
井関農機株式会社
収穫作業車両
4日前
株式会社豊田自動織機
産業車両
6か月前
個人
ホイールハブ駆動構造
6か月前
豊田鉄工株式会社
小型車両
5か月前
学校法人千葉工業大学
車両
11か月前
学校法人千葉工業大学
車両
11か月前
個人
乗用自動車のディフューザー
2か月前
学校法人千葉工業大学
車両
11か月前
個人
自転車の駐輪場システム
7か月前
個人
自動車のタイヤの位置について
3か月前
続きを見る
他の特許を見る