TOP
|
特許
|
意匠
|
商標
特許ウォッチ
Twitter
他の特許を見る
10個以上の画像は省略されています。
公開番号
2025169733
公報種別
公開特許公報(A)
公開日
2025-11-14
出願番号
2024074762
出願日
2024-05-02
発明の名称
作業車
出願人
株式会社クボタ
代理人
弁理士法人R&C
主分類
B60D
1/48 20060101AFI20251107BHJP(車両一般)
要約
【課題】ヒッチの取り付け作業が容易になる作業車を提供すること。
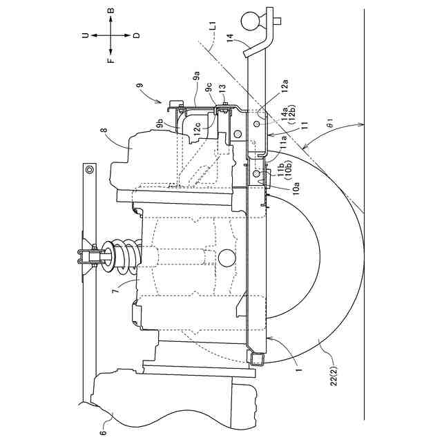
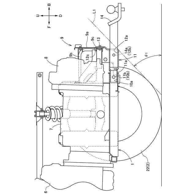
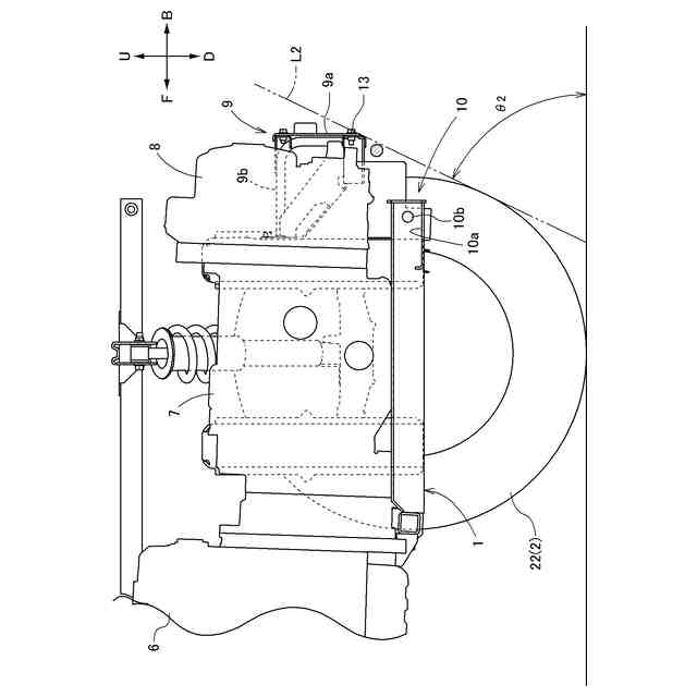
【解決手段】作業車は、エンジン6と、後輪22を有する走行装置2と、後輪22よりも後側に突出しエンジンからの駆動力を無段階変速する無段変速装置8と、無段変速装置8を少なくとも後側から覆うガード部材9と、側面視で後輪22と重複する位置に設けられた第1取付部と、第1取付部に取り付けられ第1取付部から後方に突出する延長部材11と、を備え、延長部材11は、ガード部材9に連結されヒッチ14が取り付け可能な第2取付部を有する。
【選択図】図6
特許請求の範囲
【請求項1】
エンジンと、
後輪を有する走行装置と、
前記後輪よりも後側に突出し前記エンジンからの駆動力を無段階変速する無段変速装置と、
前記無段変速装置を少なくとも後側から覆うガード部材と、
側面視で前記後輪と重複する位置に設けられた第1取付部と、
前記第1取付部に取り付けられ前記第1取付部から後方に突出する延長部材と、を備え、
前記延長部材は、前記ガード部材に連結されヒッチが取り付け可能な第2取付部を有する作業車。
続きを表示(約 920 文字)
【請求項2】
前記無段変速装置を支持する機体フレームを備え、
前記第1取付部は、前記機体フレームの後端部に設けられている請求項1に記載の作業車。
【請求項3】
前記延長部材は、前記第1取付部に着脱可能に取り付けられている請求項1に記載の作業車。
【請求項4】
前記第1取付部は、前記ガード部材よりも下側に位置する請求項1に記載の作業車。
【請求項5】
前記ガード部材は、前記無段変速装置の後面に沿って延びる板状のガード部位を有する請求項4に記載の作業車。
【請求項6】
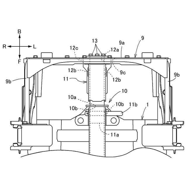
前記ガード部位は、前記ガード部位に形成されたスリットを有し、
前記第2取付部は、前記第2取付部から上方に延び前記スリットに係合可能な係合部位を有する請求項5に記載の作業車。
【請求項7】
前記第2取付部は、前記ガード部位に沿って延びる板状の固定部位を有し、
前記固定部位は、上下方向に延び固定部材が挿通される第1長孔を有し、
前記第2取付部は、前記第1長孔に挿通された前記固定部材によって前記ガード部位に固定されている請求項5に記載の作業車。
【請求項8】
前記第2取付部は、前記第2取付部から上方に延びる第1部材と、前記ガード部位に固定され後方に突出する第2部材と、前記第1部材と前記第2部材とを連結する棒状の第3部材と、を備え、
前記第1部材は、前記第3部材が挿入される貫通孔を有し、
前記第2部材は、前記第2部材の後端部に前後方向に延び前記第3部材が挿入される第2長孔を有し、
前記第1部材は、前記貫通孔及び前記第2長孔に挿通された前記第3部材によって前記第2部材に連結されている請求項5に記載の作業車。
【請求項9】
前記第1取付部は、前記第1取付部の側部に形成され前記延長部材が有する棒状の第1支持部材が挿入可能な第1開口部を備え、
前記第2取付部は、前記第2取付部の側部に形成され前記ヒッチが有する第2支持部材が挿入可能な第2開口部を有する請求項1に記載の作業車。
発明の詳細な説明
【技術分野】
【0001】
本発明は、作業車に関する。
続きを表示(約 1,200 文字)
【背景技術】
【0002】
特許文献1には、エンジンとミッションケースと静油圧式無段変速装置(HST)とを、前側からこの順序で一体的に連結して構成された駆動部を備える多目的車両が開示されている。静油圧式無段変速装置は、機体の後部において、枠組み状に構成された車体フレームによって支持されている。
【0003】
特許文献2には、機体後部に配置されたミッションケースと、ミッションケースに取り付けられた支持部と、支持部に支持されるヒッチ部と、を備えるトラクタが開示されている。ヒッチ部は、牽引部材を介して被牽引体に接続されている。
【先行技術文献】
【特許文献】
【0004】
特開2019-059373号公報
特開2024-4953号公報
【発明の概要】
【発明が解決しようとする課題】
【0005】
特許文献1に記載の多目的車両は、精油圧式無段変速装置が車体フレームよりも車体の後側に突出している。
【0006】
このような多目的車両の車体フレームに、オプションとして特許文献2に記載のヒッチ部を取り付ける場合、ヒッチ部を取り付ける部分が精油圧式無段変速装置よりも機体の前側に位置する。つまり、ヒッチ部を車体フレームに取り付ける際に、車体フレームよりも車体の後側に突出する精油圧式無段変速装置が邪魔になる場合がある。
【0007】
本発明の目的は、ヒッチの取り付け作業が容易になる作業車を提供することにある。
【課題を解決するための手段】
【0008】
上記目的を達成するための作業車の特徴構成は、エンジンと、後輪を有する走行装置と、前記後輪よりも後側に突出し前記エンジンからの駆動力を無段階変速する無段変速装置と、前記無段変速装置を少なくとも後側から覆うガード部材と、側面視で前記後輪と重複する位置に設けられた第1取付部と、前記第1取付部に取り付け可能であり前記第1取付部から後方に突出する延長部材と、を備え、前記延長部材は、前記ガード部材に連結されヒッチが取り付け可能な第2取付部を有する点にある。
【0009】
上記の特徴構成によれば、延長部材が第1取付部から後方に突出しているので、第2取付部が第1取付部よりも後側に位置する。また、第2取付部がガード部材に連結されることで、ヒッチを第2取付部に取り付ける際に、第2取付部が揺れにくくなる。したがって、作業車の後側からヒッチを取り付ける作業が容易になる。
【0010】
本発明に係る作業車の別の特徴構成は、前記無段変速装置を支持する機体フレームを備え、前記第1取付部は、前記機体フレームの後端部に設けられている点にある。
(【0011】以降は省略されています)
この特許をJ-PlatPat(特許庁公式サイト)で参照する
関連特許
株式会社クボタ
作業車
1か月前
株式会社クボタ
作業車
1か月前
株式会社クボタ
作業車
1か月前
株式会社クボタ
作業機
29日前
株式会社クボタ
作業車
1か月前
株式会社クボタ
作業車
1か月前
株式会社クボタ
作業車
23日前
株式会社クボタ
作業車
21日前
株式会社クボタ
作業車
21日前
株式会社クボタ
作業車
1か月前
株式会社クボタ
作業機
15日前
株式会社クボタ
作業車
1か月前
株式会社クボタ
作業車
1か月前
株式会社クボタ
作業車
1か月前
株式会社クボタ
移植機
1か月前
株式会社クボタ
移植機
1か月前
株式会社クボタ
作業車
1か月前
株式会社クボタ
作業車
7日前
株式会社クボタ
作業車
1か月前
株式会社クボタ
作業車
1か月前
株式会社クボタ
作業車両
1か月前
株式会社クボタ
作業車両
1か月前
株式会社クボタ
作業車両
1か月前
株式会社クボタ
作業車両
1か月前
株式会社クボタ
作業車両
21日前
株式会社クボタ
作業車両
21日前
株式会社クボタ
作業車両
1か月前
株式会社クボタ
作業車両
1か月前
株式会社クボタ
農業機械
7日前
株式会社クボタ
多目的車両
1か月前
株式会社クボタ
多目的車両
1か月前
株式会社クボタ
電動作業車
1か月前
株式会社クボタ
豆類選別機
1か月前
株式会社クボタ
ガスケット
1か月前
株式会社クボタ
豆類選別機
1か月前
株式会社クボタ
豆類選別機
1か月前
続きを見る
他の特許を見る